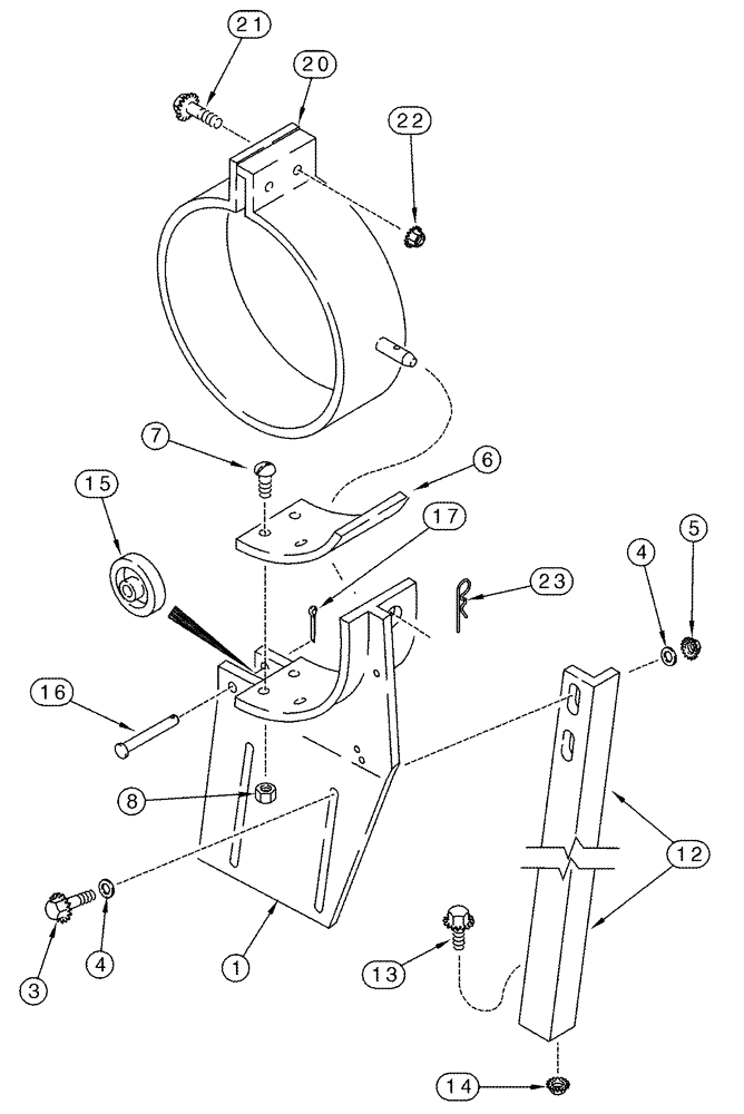
Запчасти Case IH 2388 (09E-14) - UNLOADER - TUBE SADDLE (17) - GRAIN TANK & UNLOADER

Схема запчастей Case IH 2388 - (09E-14) - UNLOADER - TUBE SADDLE (17) - GRAIN TANK & UNLOADER
6
7
12
4
4
17
21
23
22
20
3
5
15
16
1
13
14
8
FIT
1:1
100%

Артикул

Название

Примечание

Количество

1

1321500C2

UNLOADING TUBE

1шт.

3

409-7620

BOLT,Hex Flg, 3/8" - 16 x 1 1/4", Spcl

4шт.

4

495-81143

WASHER,13/32" x 1 1/2" x .120"

8шт.

5

231-5146

FLANGE NUT,3/8"-16

4шт.

6

1321498C1

PAD

1шт.

7

477-82512

SERRATED SCREW,Sl Truss Hd, 1/4" - 20 x 3/4"

6шт.

8

231-4144

NUT,1/4"-20, GB

6шт.

12

1319221C1

SUPPORT

1шт.

13

409-7512

BOLT,Hex Flg, 5/16" - 18 x 3/4", Spcl

1шт.

14

231-5145

SERRATED NUT,Flg, USR, 5/16"-18

1шт.

15

1321499C1

WHEEL,63.5mm OD x 28.6mm W

1шт.

16

439-5436

HEADED PIN,1/4" x 2 1/4", G5

1шт.

17

432-812

COTTER PIN,3/4" OAL x 1/8" W

1шт.

20

137953A1

CLAMP

1шт.

21

409-7520

BOLT,Hex Flg, 5/16" - 18 x 1 1/4", Spcl

2шт.

22

231-5145

SERRATED NUT,Flg, USR, 5/16"-18

2шт.

23

480523R1

HAIR PIN COTTER

1шт.

Выбрано товаров: 17