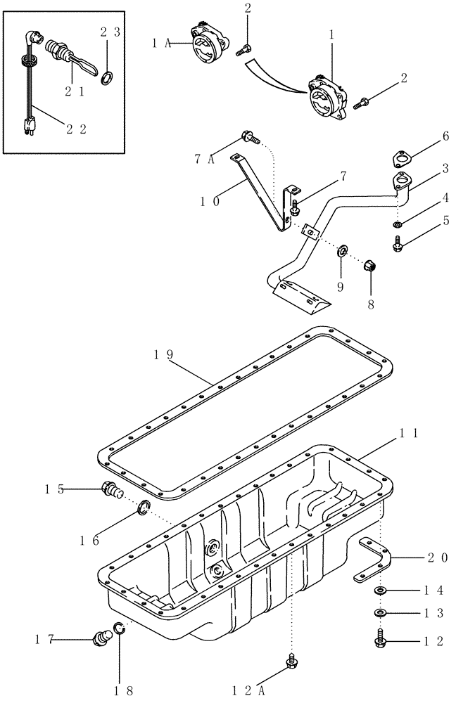
Запчасти Case IH 2388 (02-37) - OIL PUMP, PAN - OIL PAN HEATER KIT (01) - ENGINE

Схема запчастей Case IH 2388 - (02-37) - OIL PUMP, PAN - OIL PAN HEATER KIT (01) - ENGINE
23
7a
22
19
1a
12
2
21
5
20
4
14
13
15
16
17
3
7
12a
10
6
18
1
8
11
2
9
FIT
1:1
100%

Артикул

Название

Примечание

Количество

1

J948071

PUMP,24.17 CC

Replaces J930338, Serial Range: -JJC0272999

1шт.

JR948071

REMAN-ENG OIL PUMP

REMAN-ENGINE OIL PUMP Remanufactured Oil Pump; For N.A. Only; Replaces JR930338, Serial Range: -JJC0272999

1шт.

JC948071

CORE-ENGINE OIL PUMP

CORE-ENGINE OIL PUMP Replaces JC926201; Return number - For N.A. only, Serial Range: -JJC0272999

1шт.

1a

J948072

ENGINE OIL PUMP

, Start Serial: JJC0273000

1шт.

JR948072

REMAN-ENG OIL PUMP

REMAN-ENGINE OIL PUMP Remanufactured Oil Pump; For N.A. Only, Start Serial: JJC0273000

1шт.

JC948072

CORE-ENGINE OIL PUMP

CORE-ENGINE OIL PUMP Return number - For N.A. only, Start Serial: JJC0273000

1шт.

2

J900677

BOLT,Hex

M8 x 30

4шт.

3

J921719

TUBE

1шт.

4

J926865

SPACER,6.9mm ID x 12.7mm OD x 14mm L

2шт.

5

845-6030

BOLT,Hvy Hex, M6 x 30mm, Cl 8.8

2шт.

6

J914302

GASKET

1шт.

7

845-6015

BOLT,Hvy Hex, M6 x 15mm, Cl 8.8

2шт.

7a

845-6020

BOLT,Hvy Hex, M6 x 20mm, Cl 8.8

1шт.

8

825-2406

FLANGE NUT,M6 x 1, Cl 8.8

1шт.

9

J910960

WASHER

1шт.

10

J927611

BRACKET

1шт.

11

J914015

ENGINE OIL PAN

1шт.

12

J920400

FLANGE BOLT,Hex, M8 x 1.25 x 21mm, Gr 8.8

M8 x 25, Start Serial: JJC0273000

16шт.

12a

J907860

FLANGE BOLT,Hex, M8 x 25mm, Spcl

M8 x 21

16-32шт.

13

J910266

LOCK WASHER

No Longer Used

32шт.

14

J908316

WASHER

M9 x 16 x 1, No Longer Used

32шт.

15

J924148

PLUG,M22 x 1.5

M22

1шт.

16

J902425

SEALING WASHER,22.2mm ID x 26.9mm OD x 1.75mm Thk

1шт.

17

J924147

PLUG,M18 x 1.5

M18

1шт.

18

J920773

SEALING WASHER

1шт.

19

J938160

OIL PAN GASKET SET

Pan

1шт.

20

87414461

SUPPORT

Pan, Start Serial: JJC0273000

4шт.

A77580

SERVICE KIT

120V, Heater, Includes 21, 22, Also Order J902425, Ref. 23

1шт.

21

NSS

NOT SOLD SEPARAT

Element

1шт.

22

196466A1

ELECTRIC CABLE

1829 mm (72")

1шт.

23

J902425

SEALING WASHER,22.2mm ID x 26.9mm OD x 1.75mm Thk

1шт.

A77666

SERVICE KIT

240V Heater, Includes 21 - 23

1шт.

21

NSS

NOT SOLD SEPARAT

Element

1шт.

22

J905114

ELECTRIC CABLE

1829 mm (72")

1шт.

23

J902425

SEALING WASHER,22.2mm ID x 26.9mm OD x 1.75mm Thk

Sealing, 22 mm OD

1шт.

Выбрано товаров: 35