Запчасти Case IH 2388 (04-25) - POTENTIOMETER, FEEDER POSITION - MOUNTING - YIELD MONITOR (06) - ELECTRICAL

Схема запчастей Case IH 2388 - (04-25) - POTENTIOMETER, FEEDER POSITION - MOUNTING - YIELD MONITOR (06) - ELECTRICAL
7
8
6
9
8
2
7
5
4
3
1
FIT
1:1
100%

Артикул

Название

Примечание

Количество

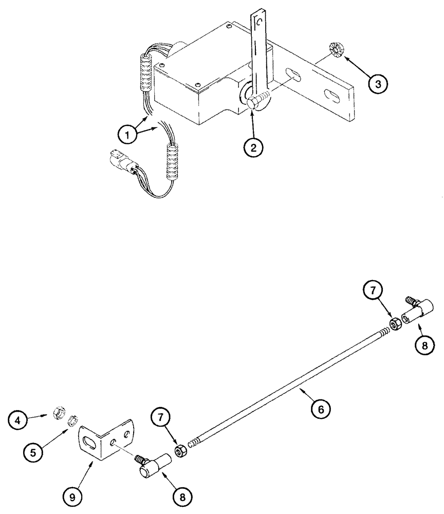
1

239136A1

POTENTIOMETER

Yield Monitor, Right Hand

1шт.

See Figure 04-24

1шт.

1

87315265R

REMAN-SENSOR

2388 CASE IH AXIAL-FLOW COMBINE (NA) BTW HAJ292001 & HAJ300000, Yield Monitor, Right Hand (10/04-), Reman for New PN 239136A1

1шт.

1

87315265C

CORE-SENSOR

Return Number

1шт.

2

413-48

BOLT,Hex, 1/4" - 20 x 1/2", Gr 5

1шт.

3

231-5144

SERRATED NUT,Flg, USR, 1/4"-20

1шт.

4

425-114

NUT,1/4"-28, G5

2шт.

5

492-11025

LOCK WASHER,1/4"

2шт.

6

301522A1

THREADED TIE-ROD

1/4" NF x 6-1/2", Includes 7

1шт.

7

425-114

NUT,1/4"-28, G5

2шт.

8

A10329

BALL JOINT,1/4" - 28 x 1"

1/4" NF

2шт.

9

127308A2

SUPPORT

1шт.

Выбрано товаров: 12