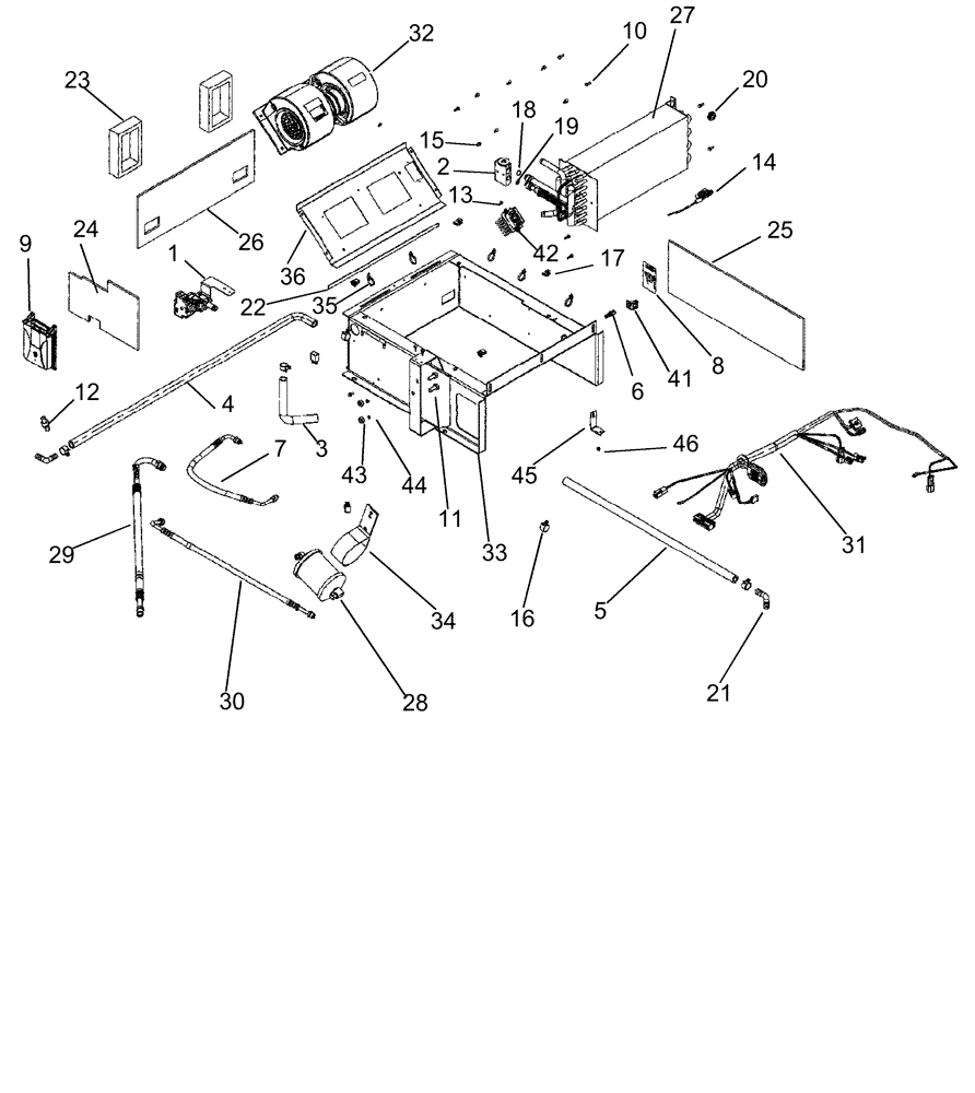
Запчасти Case IH 2388 (09G-17A) - BOX ASSY - AIR CONDITIONING ASN HAJ0295001 (10) - CAB & AIR CONDITIONING

Схема запчастей Case IH 2388 - (09G-17A) - BOX ASSY - AIR CONDITIONING ASN HAJ0295001 (10) - CAB & AIR CONDITIONING
15
10
20
17
1
12
5
41
35
43
29
18
24
25
2
27
8
3
32
6
36
45
14
34
21
26
13
44
9
22
31
23
28
7
46
16
33
19
4
30
42
11
FIT
1:1
100%

Артикул

Название

Примечание

Количество

87313891

UNIT HEATER

Air Conditioning, Includes 1 - 46

1шт.

1

87333840

HEATER VALVE,Water Control

Control, Heater

1шт.

449221A1

BODY

Core Assembly, Includes 2, 18, 19, 27

1шт.

2

386535A1

VALVE

Thermal Expansion, Not Serviced Separately, Order 449221A

1шт.

3

377547A1

HOSE,15.50 mm ID

Valve to Core

1шт.

4

377551A1

HEATER HOSE,15.50 mm ID x 838.00 mm

Return

1шт.

5

1958774C1

HEATER HOSE

710 mm (28"), Cut from 97252CX

1шт.

6

87454442

SENSOR

Cab Temperature

1шт.

7

124912A2

HOSE

540 mm (21- 1/4")

1шт.

8

NSS

NOT SOLD SEPARAT

Plate, Decal Name, Kysor Logo

1шт.

9

87314291

MODULE

Module, ATC, with Software Loaded

1шт.

10

281-54510

SELF-TAP SCREW,HWH, #10 - 24 x 5/8"

15шт.

11

614-10025

BOLT,Hex, M10 x 1.5 x 25mm, Cl 8.8

2шт.

12

87323829

SWITCH, A/C LOW PRES

1шт.

13

260-1448

SELF-TAP SCREW,Cross Pan Hd, #8 x 1/2"

2шт.

14

184720A2

SENSOR

Temperature, Evaporator

1шт.

15

87333919

CAPTIVE WASHER SCREW,Sl Hex, Tap, #10 - 32 x 3/8"

Taplite Slot

1шт.

16

1954736C1

HOSE CLAMP,#24

6шт.

17

488837C1

SPRING NUT

5/16"

4шт.

18

128485A1

O-RING,1.78mm Thk x 14mm ID, 70 Duro

9/16" ID x 1/16", Not Serviced Separately, Order 449221A

1шт.

19

128484A1

O-RING,0.07" Thk x 0.426" ID, -13, Cl 5, 70 Duro

7/16" ID x 1/16", Not Serviced Separately, Order 449221A

1шт.

20

248-1243

GROMMET,1/2" ID x 13/16" Groove Dia, Diag Cut

1шт.

21

127083A1

ELBOW,16mm OD x 17mm OD Bead

2шт.

22

377566A1

GASKET

3 ft

1шт.

23

124999A1

GASKET

2шт.

24

87333847

FOAM INSULATION

LH

1шт.

25

279230A2

INSULATOR

RH

1шт.

26

279233A1

INSULATOR

Front

1шт.

27

377560A1

CORE-COMPRESSOR

Evaporator and Heater, Not Serviced Separately, Order 449221A

1шт.

28

1990758C2

RECEIVER-DRYER

1шт.

29

124913A2

HOSE

900 mm (35-7/16")

1шт.

30

124914A1

HOSE

662 mm (26-1/8"), Receiver-Dryer to Cab Wall

1шт.

31

87333848

WIRE HARNESS

Heating and Air Conditioning

1шт.

32

323610A1

BLOWER

1шт.

84222524R

REMAN-BLOWER

2388 BTW HAJ292001 & HAJ300000, ASN HAJ0295001 (10/04-), Reman for New P/N 323610A1

1шт.

84222524C

CORE-BLOWER

Return Number

1шт.

33

87333857

BOX

Air Conditioning Module

1шт.

34

377562A1

BRACKET

Receiver-Drier

1шт.

35

702093C1

CABLE TIE

CABLE STRAP

5шт.

37

377559A1

STRAP

2шт.

38

377567A1

SEAL

8 ft, Not Illustrated

1шт.

40

1978896C1

STRAP

30.6" Tie-down, Not Illustrated

4шт.

41

87318294

CLIP

Sensor

1шт.

42

87306706

TERMINAL CONNECTOR

Blower Motor

1шт.

43

829-1410

NUT,M10 x 1.5, Cl 10.9

2шт.

44

892-11010

LOCK WASHER,M10

2шт.

45

87351204

BRACKET

Sensor

1шт.

46

231-14408

NUT,#8-32, GB

1шт.

Выбрано товаров: 48