Запчасти Case IH 2388 (02-03) - DEAERATION SYSTEM (01) - ENGINE

Схема запчастей Case IH 2388 - (02-03) - DEAERATION SYSTEM (01) - ENGINE
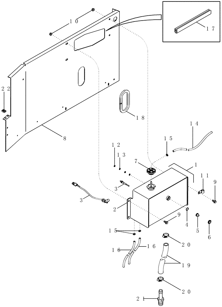
22
14
15
19
3
18
9
2
10
5
8
17
15
21
13
7
9
11
1
20
6
16
3
4
16
12
20
FIT
1:1
100%

Артикул

Название

Примечание

Количество

1

NSS

NOT SOLD SEPARAT

Deaeration Assy, Includes 2 - 7,Order 87640724, Serial Range: -HAJ0295001

1шт.

NS

NOT SERVICED

TANK, Deaeration Assy, Includes 2 - 7, Start Serial: HAJ0295001

1шт.

2

87403850

TANK

Deaeration, Serial Range: -HAJ0295001

1шт.

2

87301656

TANK

Deaeration, Start Serial: HAJ0295001

1шт.

3

279476A1

SENSOR

Coolant Probe, Serial Range: -HAJ0295001

1шт.

3

87109915

SWITCH

Switch Fluid Level, Push In Style, Start Serial: HAJ0295001

1шт.

4

238-6115

O-RING,0.103" Thk x 0.674" ID, -115, Cl 6, 90 Duro

1шт.

5

86990536

LENS

Sight

1шт.

6

86990537

NUT,15/16"

Lens Retainer

1шт.

7

87109814

FILLER CAP

Deaeration Tank

1шт.

8

442178A4

SHIELD

Rear, Serial Range: -HAJ0295001

1шт.

8

87306892

SHEET

W/Rivet Nuts, Start Serial: HAJ0295001

1шт.

9

409-7612

BOLT,3/8"-16 x 1.09" OAL

4шт.

10

231-5146

FLANGE NUT,3/8"-16

4шт.

11

516-23127

CLAMP,9/16", Insul, 3/8" Bolt

1шт.

12

225-14210

NUT,#10-32

2шт.

13

492-11010

LOCK WASHER,#10

2шт.

14

87408617

HOSE,7.92mm ID x 4850mm L

Drain, Cut From 86989959

1шт.

15

214-1706

HOSE CLAMP,#06, 0.44" - 0.78", Type M Worm

3шт.

16

86989649

HYDRAULIC HOSE,8.00 mm ID x 900.00 mm

Deaeration, Cut 900 mm (35-3/8") from Bulk Hose 86989959

2шт.

17

87029779

SEAL

Cut 287 mm (11-1/3") from 196707C1, Serial Range: -HAJ0295001

2шт.

17

1327979C1

MOLDING

Cut 152 mm (6") from 196707C1, Start Serial: HAJ0295001

2шт.

18

87063C3

SEAL

Cut 406 mm (16") from 196707C1

1шт.

19

NS

NOT SERVICED

HOSE, Deareation Supply, Cut 940 mm (37") from Bulk Hose 364361C2, Serial Range: -HAJ0295001

1шт.

19

NS

NOT SERVICED

HOSE, Deareation Supply, Cut 1005 mm (39.6") from Bulk Hose 364361C2, Start Serial: HAJ0295001

1шт.

20

214-1516

HOSE CLAMP,#16, 0.81" - 1.5", Type F Worm, W/ Liner

2шт.

21

217-375

FITTING,1" Hose Barb x 3/4" Male NPTF

1шт.

22

488837C1

SPRING NUT

5/16", Speed, Serial Range: -HAJ0295001

2шт.

Выбрано товаров: 28