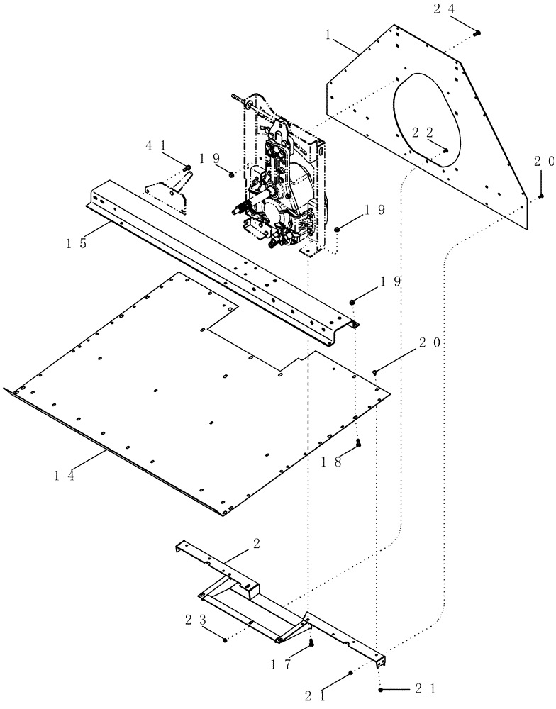
Запчасти Case IH 2388 (09B-03) - ROTOR DRIVE - MOUNTING SUPPORTS (14) - ROTOR, CONCANVES & SIEVE

Схема запчастей Case IH 2388 - (09B-03) - ROTOR DRIVE - MOUNTING SUPPORTS (14) - ROTOR, CONCANVES & SIEVE
2
19
19
41
20
21
14
24
15
22
19
20
23
17
1
21
18
FIT
1:1
100%

Артикул

Название

Примечание

Количество

1

443254A1

SHEET

Rear Rotor Discharge

1шт.

2

443242A1

SUPPORT

Angle

1шт.

14

443253A1

SHEET

Engine Deck

1шт.

15

112454A5

SUPPORT

Jackshaft

1шт.

17

409-7824

BOLT,Hex Flg, 1/2" - 13 x 1 1/2", Spcl

2шт.

18

409-7820

BOLT,Hex Flg, 1/2" - 13 x 1 1/4", Spcl

2шт.

19

231-5148

FLANGE NUT,Flg, USR, 1/2"-13

16шт.

20

477-73812

SERRATED SCREW,Truss HD, 3/8" - 16 x 3/4"

18шт.

21

231-5146

FLANGE NUT,3/8"-16

18шт.

22

477-73112

SERRATED SCREW,Sl Truss Hd, 5/16" - 18 x 3/4"

3шт.

23

231-5145

SERRATED NUT,Flg, USR, 5/16"-18

5шт.

24

434-820

CARRIAGE BOLT,Sht Sq Nk, 1/2" - 13 x 1 1/4", Gr 5

6шт.

41

413-820

BOLT,Hex, 1/2" - 13 x 1-1/4", Gr 5

2шт.

Выбрано товаров: 13