Запчасти Case IH 2388 (02-28) - CYLINDER HEAD AND COVER - ASN HAJ0295001 EXCEPT ALL CIS MARKETS (01) - ENGINE

Схема запчастей Case IH 2388 - (02-28) - CYLINDER HEAD AND COVER - ASN HAJ0295001 EXCEPT ALL CIS MARKETS (01) - ENGINE
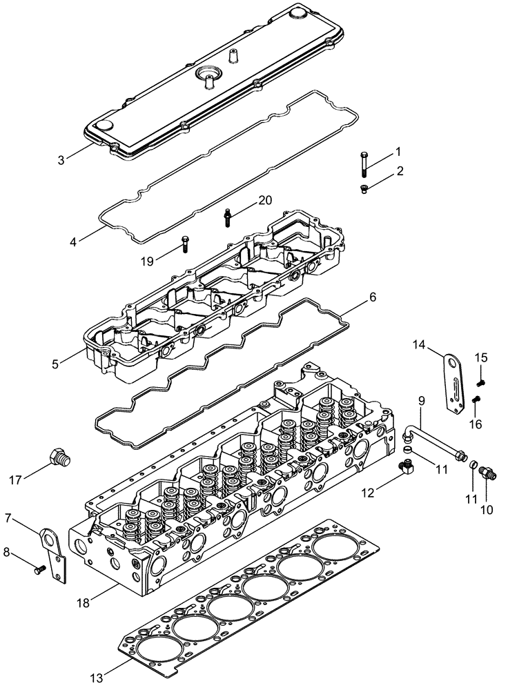
14
2
17
18
6
11
3
8
9
20
1
12
13
15
19
4
1
11
7
16
10
1
5
FIT
1:1
100%

Артикул

Название

Примечание

Количество

1

J900632

FLANGE BOLT,Hvy Hex, M8 x 35mm, Cl 8.8

7шт.

2

87342136

ISOLATOR

8шт.

3

87345871

VALVE COVER

1шт.

4

87345861

GASKET,3.2mm Thk

1шт.

5

87344767

HOUSING

Rocker Arm

1шт.

6

87344755

GASKET

Rocker Lever Housing

1шт.

7

87340305

LIFTING EYE

Front

1шт.

8

854-12025

BOLT,Hvy Hex, M12 x 25mm, Cl 10.9

2шт.

9

J924589

TUBE,6.35 mm OD x 112.6 mm L

Includes 18

1шт.

10

87026319

HYD CONNECTOR,1/2"-24 x 1/8" NPTF w/Nut

1/4 tube OD x 1/8

1шт.

11

222-153

SLEEVE,1/4" Tube

2шт.

12

87026320

ELBOW,90 Degree, 1/2"-24 Fem x 1/8"-27 NPTF

1/4 tube OD x 1/8 PT

1шт.

13

87344132

CYLINDER HEAD GASKET

Standard

1шт.

14

87340301

LIFTING EYE

Rear

1шт.

15

854-10020

BOLT,Hvy Hex, M10 x 20mm, Cl 10.9

2шт.

16

87340324

BOLT

1шт.

17

J906619

PLUG,1/8" - 27

1/8" PT

1шт.

18

87351061

CYLINDER HEAD

With Valves

1шт.

See Figure 02-31

1шт.

18

84283167R

REMAN-CYLINDER HEAD

2388, ASN HAJ295001, Reman For New P/N 87351061

1шт.

18

84283167C

CORE-CYLINDER HEAD

Return Part Number

1шт.

19

845-8075

BOLT,Hvy Hex, M8 x 75mm, Cl 8.8

7шт.

20

87340279

SCREW,Hex Flg, M8 x 1.25 x 35mm

M8 x 35

1шт.

Выбрано товаров: 23