Запчасти Case IH 2388 (04-18) - HARNESS - FAN AND ROTOR SPEED (06) - ELECTRICAL

Схема запчастей Case IH 2388 - (04-18) - HARNESS - FAN AND ROTOR SPEED (06) - ELECTRICAL
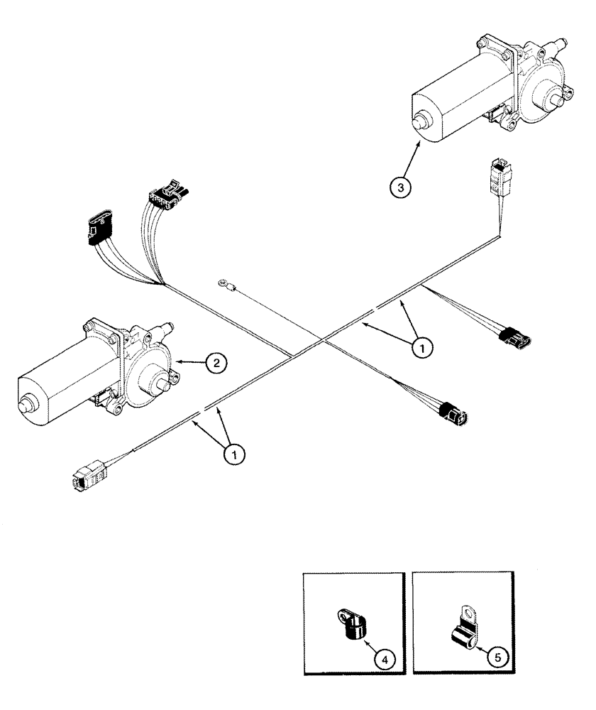
2
3
5
1
4
1
FIT
1:1
100%

Артикул

Название

Примечание

Количество

1

184397A2

HARNESS

Fan and Rotor Speed, Serial Range: -HAJ303001

1шт.

1

87671902

WIRE HARNESS

Fan and Rotor Speed, Start Serial: HAJ303001

1шт.

2

111787A2

MOTOR, ELECTRIC

Rotor Speed, Serial Range: -HAJ303001

1шт.

2

111787A2R

REMAN-ELECTRIC MOTOR

2388 (RU) ASN HAJ300001 (10/06-)

1шт.

2

111787A2C

CORE-ELECTRIC MOTOR

Return Number

1шт.

2

87693674

ELECTRIC MOTOR

Rotor Speed, Start Serial: HAJ303001

1шт.

3

111787A2

MOTOR, ELECTRIC

Fan Speed, Serial Range: -HAJ303001

1шт.

3

111787A2C

CORE-ELECTRIC MOTOR

Return Number, For N.A. only

1шт.

3

87693674

ELECTRIC MOTOR

Fan Speed, Start Serial: HAJ303001

1шт.

4

515-23190

CLAMP,3/4", Insul, 3/8" Bolt

2шт.

5

516-23127

CLAMP,9/16", Insul, 3/8" Bolt

8шт.

6

434-512

CARRIAGE BOLT,Sht Sq Nk, 5/16" - 18 x 3/4", Gr 5

(Not Shown)

3шт.

7

231-5145

SERRATED NUT,Flg, USR, 5/16"-18

(Not Shown)

3шт.

Выбрано товаров: 0