Запчасти Case IH 2388 (08-33) - HYDRAULICS - FIELD TRACKER (07) - HYDRAULICS

Схема запчастей Case IH 2388 - (08-33) - HYDRAULICS - FIELD TRACKER (07) - HYDRAULICS
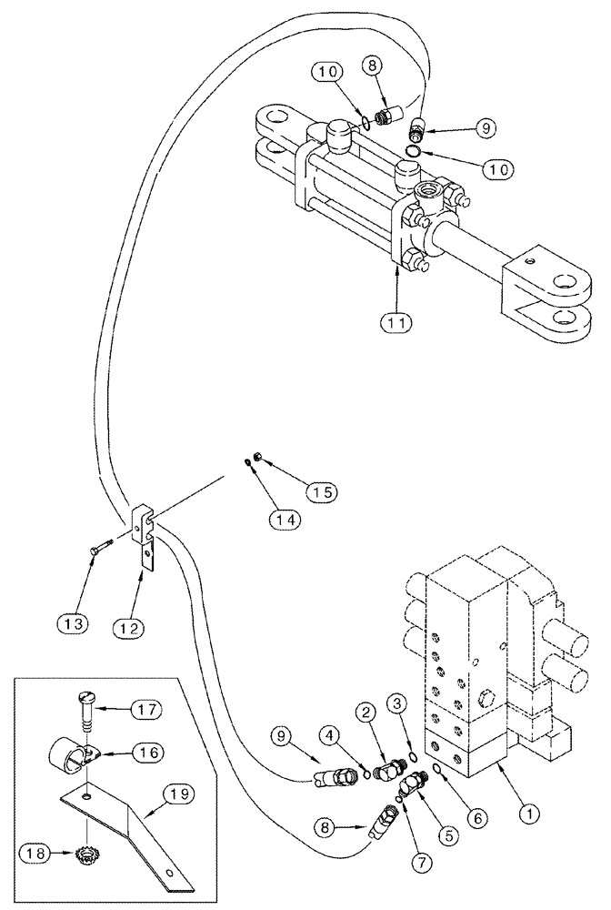
9
1
3
19
2
18
12
5
6
17
7
8
8
16
11
9
10
10
15
13
4
14
FIT
1:1
100%

Артикул

Название

Примечание

Количество

1

114854A1

CONTROL VALVE

Field Tracker

1шт.

See Figure 08-15

1шт.

2

201-332

ELBOW,90 Degree Elbow, 13/16" - 16 Male ORFS x 9/16" - 18 Male ORB

Incl 3, 4

1шт.

3

237-6006

O-RING,0.078" Thk x 0.468" ID, -906, Cl 6, 90 Duro

1шт.

4

238-6014

O-RING,0.07" Thk x 0.489" ID, -14, Cl 6, 90 Duro

1шт.

5

201-304

ELBOW,90 Degree Elbow, 11/16" - 16 Male ORFS x 9/16" - 18 Male ORB

Inc. 6, 7

1шт.

6

237-6006

O-RING,0.078" Thk x 0.468" ID, -906, Cl 6, 90 Duro

1шт.

7

238-6012

O-RING,0.07" Thk x 0.364" ID, -12, Cl 6, 90 Duro

1шт.

8

100268A1

FLEXIBLE HOSE,6.35mm ID x 3510mm L

3510 mm (138-1/4 in), Field Tracker Cylinder, Clockwise Rotation, Inc 10

1шт.

9

128032A1

FLEXIBLE HOSE,6.35mm ID x 3510mm L

3510 mm (138-1/4 in), Field Tracker Cylinder, Counterclockwise Rotation, Inc 10

1шт.

10

237-6006

O-RING,0.078" Thk x 0.468" ID, -906, Cl 6, 90 Duro

1шт.

11

87424022

CYLINDER,Double Acting, 28.6mm Rod, 88.9mm Stroke

Field Tracker Tilt, 64 ID x 89 mm strk

1шт.

87424022R

REMAN-HYD CYLINDER

2388 (RU) ASN HAJ300001 (10/06-)

1шт.

87424022C

CORE-HYD CYLINDER

Return Number

1шт.

See Figure 08-34

1шт.

87424022R

REMAN-HYD CYLINDER

2388 (RU) ASN HAJ300001 (10/06-), N.A. Only

1шт.

87424022C

CORE-HYD CYLINDER

Return Number, For N.A. Only

1шт.

12

1330242C1

CLAMP

1шт.

13

411-572

CARRIAGE BOLT,Sq Nk, 5/16" - 18 x 4 1/2", Gr 2

2шт.

14

492-11031

LOCK WASHER,5/16"

2шт.

15

425-105

NUT,5/16"-18, G5

2шт.

16

515-23254

CLAMP,1", Insul, 3/8" Bolt

1шт.

17

477-73816

SERRATED SCREW,Sl Truss Hd, 3/8" x 1"

1шт.

18

231-5146

FLANGE NUT,3/8"-16

1шт.

19

189926A1

SUPPORT

1шт.

20

201-905

CAP,13/16"-16 ORFS

To Cap Field Tracker Fitting on Valve Stack (Not Shown)

1шт.

21

201-900

CAP,11/16" - 16 ORFS

To Cap Field Tracker Fitting on Valve Stack (Not Shown)

1шт.

Выбрано товаров: 27