Запчасти Case IH 2388 (09G-07) - CAB - INTERIOR (10) - CAB & AIR CONDITIONING

Схема запчастей Case IH 2388 - (09G-07) - CAB - INTERIOR (10) - CAB & AIR CONDITIONING
14
16
27
25
28
7
22
29
1
17
15
19
24
20
26
13
6
10
16
8
4
3
28
12
18
21
23
11
FIT
1:1
100%

Артикул

Название

Примечание

Количество

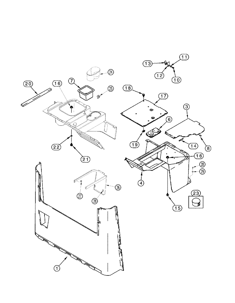
87363447

PANEL

Rear Trim, Inc. 1, 2

1шт.

1

NSS

NOT SOLD SEPARAT

Panel

1шт.

3

401090A1

COVER

Fuse Access

1шт.

4

401088A1

COVER

Pedestal, RH

1шт.

5

401089A1

COVER

Pedestal, LH

1шт.

6

1344244C1

TRAY

Utility

1шт.

7

119308A2

TRAY

Storage

1шт.

8

121067A1

FASTENER

1 x 12, Cut From 121068A1 Velcro

4шт.

10

276-13520

SELF-TAP SCREW,Hex Hd, #10 x 1 1/4"

1шт.

11

2-3010T1

SPACER

1шт.

12

60-6520T1

PLATE

1шт.

13

3234176R1

COAT HOOK

1шт.

14

1990258C1

SEAL

80 mm (3-5/32 in), Cut From 187874C1

2шт.

15

191216A1

SELF-TAP SCREW,Hex Wash Hd, #10-24 x 5/8"

13шт.

16

231-51409

SERRATED NUT,Flg, USR, #10-24

23шт.

17

NSS

NOT SOLD SEPARAT

Support

1шт.

18

458-512

BOLT,Hex, 5/16" - 18 x 3/4", Gr 5

4шт.

19

786618C1

NUT

4шт.

20

192269A1

FOAM INSULATION,25mm W x 500mm L x 19mm Thk

500 mm (19-5/8 in), Cut From 1971350C1

1шт.

21

117067A1

SELF-TAP SCREW,Pan Hd, #10-24 x 3/4"

12шт.

22

492-11010

LOCK WASHER,#10

12шт.

23

353-411

PLUG,Dome, 1.000" hole, Nylon

1шт.

23

353-410

PLUG,Dome, .875" hole, Nylon

1шт.

24

401091A1

HOLDER

Cup

1шт.

25

278316A2

CLIP

2шт.

26

398456A1

SUPPORT

Pedestal Cover, LH, Serial Range: -HAJ303111

1шт.

26

87707578

SUPPORT ASSY.

Pedestal Cover, LH, Start Serial: HAJ303111

1шт.

27

825-5146

SERRATED NUT,M6, Flg Ser

2шт.

28

191216A1

SELF-TAP SCREW,Hex Wash Hd, #10-24 x 5/8"

13шт.

29

495-31022

WASHER,#10

11шт.

Выбрано товаров: 30