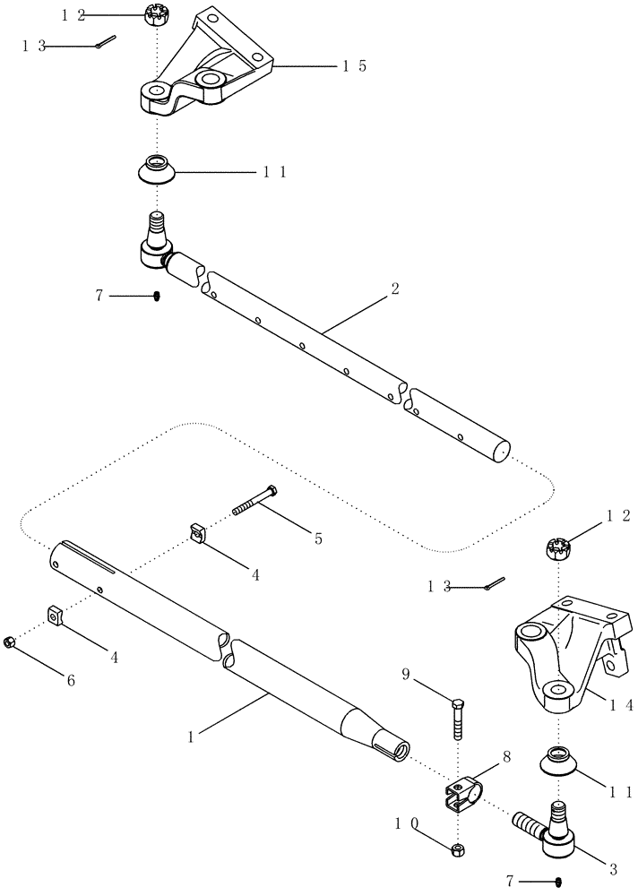
Запчасти Case IH 2388 (05-09) - AXLE, ADJUSTABLE - TIE ROD, STEERING (11) - TRACKS/STEERING

Схема запчастей Case IH 2388 - (05-09) - AXLE, ADJUSTABLE - TIE ROD, STEERING (11) - TRACKS/STEERING
13
7
14
2
12
8
1
15
9
6
12
3
5
4
11
10
7
4
13
11
FIT
1:1
100%

Артикул

Название

Примечание

Количество

86984114

KIT

Tie Rod, Inc. 1 - 12

1шт.

1

86984113

TUBE,1.53" ID x 2.00" OD x 80.50" L

Tube

1шт.

2

86984111

STEERING TIE-ROD

1шт.

3

86984112

BALL JOINT,1-1/8" - 12 x 5-4/9"

1шт.

4

A145857

CLAMP,9.91mm ID x 25.4mm OD x 7.365mm Thk

Washer

4шт.

5

326-652

BOLT,Hex, 3/8" - 16 x 3-1/4", Gr 8

2шт.

6

232-4146

NUT,3/8"-16, GC

2шт.

7

219-8

LUBE NIPPLE,1/4" - 28 NPTF

2шт.

8

446308C91

CLAMP

1шт.

9

426-740

BOLT,Hex, 7/16" - 14 x 2-1/2", Gr 8

1шт.

10

231-4137

LOCK NUT,7/16"-14, GB

1шт.

11

87301010

BOOT

Seal Assy

2шт.

12

425-1314

SLOTTED NUT,7/8"-14, G5

2шт.

13

432-824

COTTER PIN,1/8" x 1 1/2"

2шт.

14

87545463

ARM

RH

1шт.

15

87545464

SUPPORTING ARM

LH

1шт.

Выбрано товаров: 16