Запчасти Case IH 2388 (09H-08) - GRAIN TANK, CORNER COVER PARTS (12) - CHASSIS

Схема запчастей Case IH 2388 - (09H-08) - GRAIN TANK, CORNER COVER PARTS (12) - CHASSIS
39
43
9
27
17
44
1
41
42
18
37
30
10
26
19
15
7
31
29
23
33
11
36
21
16
34
28
22
25
24
13
14
7
2
5
3
6
49
4
35
20
32
8
38
12
FIT
1:1
100%

Артикул

Название

Примечание

Количество

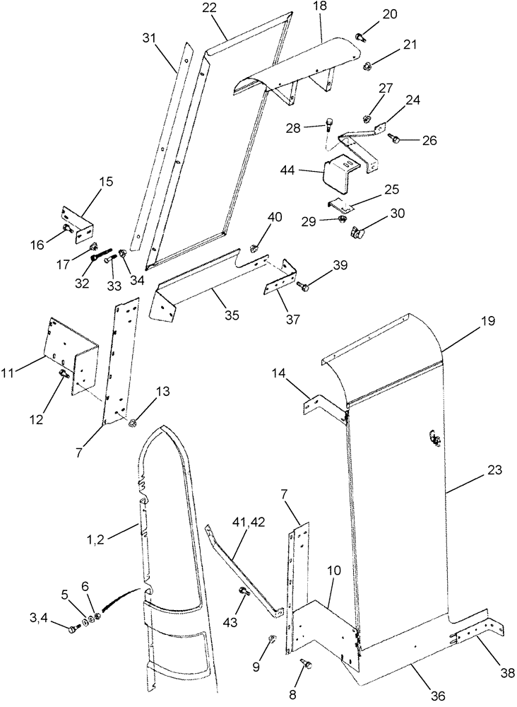
1

115687A2

SHIELD

Left Hand

1шт.

2

115751A2

SHIELD

Right Hand

1шт.

3

409-7512

BOLT,Hex Flg, 5/16" - 18 x 3/4", Spcl

12шт.

4

409-7516

BOLT,Hex Flg, 5/16" - 18 x 1", Spcl

1шт.

5

495-11034

WASHER,5/16", SAE

1шт.

6

231-1445

NUT,5/16"-18, GB

1шт.

7

128913A4

BRACKET

Vertical

2шт.

8

409-7512

BOLT,Hex Flg, 5/16" - 18 x 3/4", Spcl

9шт.

8

409-7516

BOLT,Hex Flg, 5/16" - 18 x 1", Spcl

2шт.

9

231-5145

SERRATED NUT,Flg, USR, 5/16"-18

11шт.

10

141419A2

SUPPORT

Lower Right Hand

1шт.

11

141420A2

SUPPORT

Lower Left Hand

1шт.

12

409-7512

BOLT,Hex Flg, 5/16" - 18 x 3/4", Spcl

6шт.

13

231-5145

SERRATED NUT,Flg, USR, 5/16"-18

6шт.

14

259234A2

SUPPORT

Right Hand

1шт.

15

259233A1

SUPPORT

Left Hand

1шт.

16

409-7516

BOLT,Hex Flg, 5/16" - 18 x 1", Spcl

4шт.

16a

495-11041

WASHER,0.406" ID x 0.812" OD x 0.065" W

(Not shown)

4шт.

17

231-5145

SERRATED NUT,Flg, USR, 5/16"-18

4шт.

18

189743A3

COVER

Upper Left Hand, Inc. Decals 182269A1 & 175607A1

1шт.

See Figure(s) 09H-19, REF 10; Figure 09H-22, REF 15

1шт.

19

138880A3

SHIELD

Upper Right Hand

1шт.

20

409-7512

BOLT,Hex Flg, 5/16" - 18 x 3/4", Spcl

5шт.

21

231-5145

SERRATED NUT,Flg, USR, 5/16"-18

5шт.

22

189306A2

DOOR

Left Hand, Inc. Decals 144383A1 & 144483A1

1шт.

See Figure(s) 09H-19, REF 7; 09H-22, REF 7

1шт.

23

366817A1

DOOR

Right Hand

1шт.

24

141785A1

SUPPORT

2шт.

25

141786A3

SUPPORT

2шт.

26

409-7412

BOLT,Hex Flg, 1/4" - 20 x 3/4", Spcl

4шт.

27

231-5144

SERRATED NUT,Flg, USR, 1/4"-20

4шт.

28

409-7512

BOLT,Hex Flg, 5/16" - 18 x 3/4", Spcl

4шт.

29

231-5145

SERRATED NUT,Flg, USR, 5/16"-18

4шт.

30

182925A1

LOCK

2шт.

30

182926A1

LOCK

Australia Only

2шт.

31

128919A3

HINGE

2шт.

32

758-6

SELF-TAP SCREW,Hex Hd, M6.3 x 19

6шт.

33

477-73108

SERRATED SCREW,Sl Truss Hd, 5/16" - 18 x 1/2"

10шт.

34

231-5145

SERRATED NUT,Flg, USR, 5/16"-18

10шт.

35

87540561

SHEET

Left Hand

1шт.

36

87540563

SHEET

Right Hand

1шт.

37

87545916

SUPPORT

Left Hand

1шт.

38

87545914

SUPPORT

Right Hand

1шт.

39

409-7512

BOLT,Hex Flg, 5/16" - 18 x 3/4", Spcl

12шт.

40

231-5145

SERRATED NUT,Flg, USR, 5/16"-18

12шт.

41

193118A1

SUPPORT

Right Hand

1шт.

42

193120A1

SUPPORT

Left Hand

1шт.

43

409-7516

BOLT,Hex Flg, 5/16" - 18 x 1", Spcl

2шт.

44

190232A2

SUPPORT

Bracket, Australia Only

1шт.

102251A1

CLIP

(Not Shown)

1шт.

231-5144

SERRATED NUT,Flg, USR, 1/4"-20

(Not Shown)

1шт.

409-748

BOLT,Hex Flg, 1/4" - 20 x 1/2", Spcl

(Not shown)

1шт.

Выбрано товаров: 52