Запчасти Case IH 2388 (09B-05) - ROTOR DRIVE - SPEED ADJUSTMENT (14) - ROTOR, CONCANVES & SIEVE

Схема запчастей Case IH 2388 - (09B-05) - ROTOR DRIVE - SPEED ADJUSTMENT (14) - ROTOR, CONCANVES & SIEVE
32
29
25
19
15
20
26
14
12
33
9
16
29
27
11
21
22
23
21
7
13
18
24
34
8
11
28
22
7
10
5
31
2
10
23
FIT
1:1
100%

Артикул

Название

Примечание

Количество

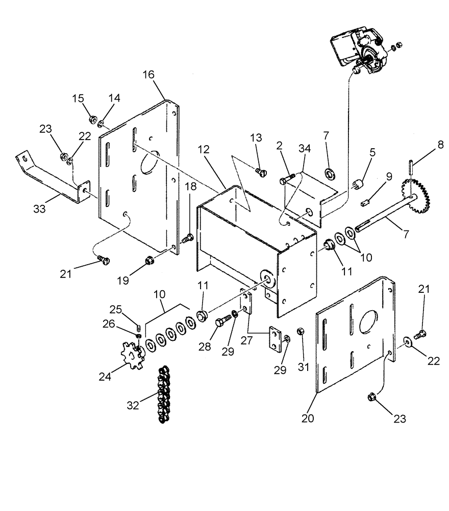
1

111787A2

MOTOR, ELECTRIC

Variable Speed

1шт.

1

111787A2R

REMAN-ELECTRIC MOTOR

2388 (RU) ASN HAJ300001 (10/06-)

1шт.

1

111787A2C

CORE-ELECTRIC MOTOR

Return Number

1шт.

2

413-432

BOLT,Hex, 1/4" - 20 x 2", Gr 5

2шт.

3

492-11025

LOCK WASHER,1/4"

4шт.

4

425-104

NUT,1/4"-20, Cl 5

2шт.

5

113485A1

SPACER

17 mm

2шт.

6

55825C1

BUSHING,8.03mm ID x 12.74mm OD x 9.65mm L

1шт.

7

194338C2

GEAR

Rotor Speed Adjustment, Serial Range: -HAJ303001

1шт.

7

87364294

GEAR

Rotor Speed Adjustment, Start Serial: HAJ303001

1шт.

8

38-11020

LOCK PIN,5/32" x 1 1/4", Slotted

1шт.

9

Q5024

KEY,3/16" Sq x 1", Par

1шт.

10

495-11066

WASHER,5/8", SAE

10шт.

11

55826C1

BUSHING,15.9mm ID x 20.7mm OD x 12.7mm L

2шт.

12

183227C2

SUPPORT

Motor Bracket, Serial Range: -HAJ303001

1шт.

12

87364290

SUPPORT ASSY.

Motor Bracket, Start Serial: HAJ303001

1шт.

13

409-7616

BOLT,Hex Flg, 3/8" - 16 x 1", Spcl

8шт.

14

495-81135

WASHER,10.31mm ID x 25.4mm OD x 3.4mm Thk

8шт.

15

231-5146

FLANGE NUT,3/8"-16

8шт.

16

188215C3

SUPPORT

LH

1шт.

18

477-73812

SERRATED SCREW,Truss HD, 3/8" - 16 x 3/4"

3шт.

19

231-5146

FLANGE NUT,3/8"-16

3шт.

20

194336C2

SUPPORT

RH

1шт.

21

477-73816

SERRATED SCREW,Sl Truss Hd, 3/8" x 1"

4шт.

22

495-81143

WASHER,13/32" x 1 1/2" x .120"

2шт.

23

231-5146

FLANGE NUT,3/8"-16

4шт.

24

194337C1

SPROCKET

8T

1шт.

25

485-12512

SET SCREW,Sq Hd, 1/4"-20 x 3/4"

2шт.

26

425-144

JAM NUT,Jam, 1/4"-20, G5

2шт.

27

1302173C1

PAD

2шт.

28

413-624

BOLT,Hex, 3/8" - 16 x 1-1/2", Gr 5

2шт.

31

231-4116

NUT,3/8"-16, GB

2шт.

32

617107R91

CHAIN,34 Links x 25.4mm = 863.6mm

Drive, Use 2040 (31), 457113R91 (1), 457114R92 (2)

1шт.

33

188216C1

SUPPORT

LH

1шт.

34

199704A1

GUARD

1шт.

35

1545944C1

SEAL

Trim, 129 mm (5 in), Cut From 1330108CX, (Not Shown)

1шт.

35

1327979C1

MOLDING

152 mm (6 in), Cut From 196707C1, (Not Shown)

1шт.

Выбрано товаров: 37