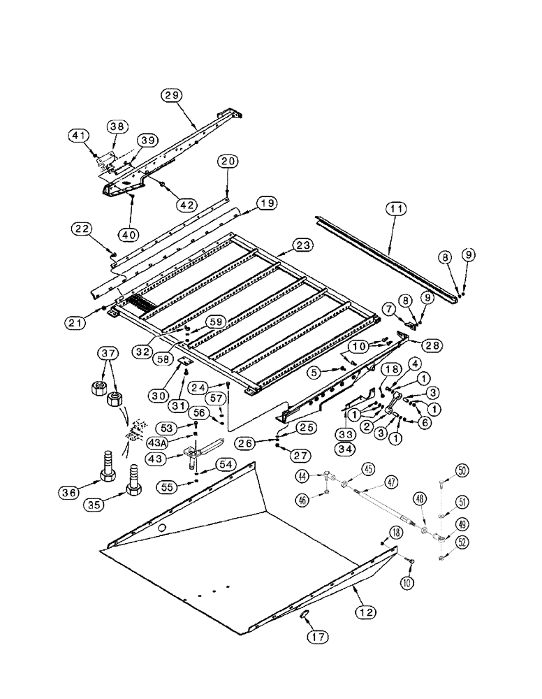
Запчасти Case IH 2388 (09B-23) - SIEVE, SHOE (14) - ROTOR, CONCANVES & SIEVE

Схема запчастей Case IH 2388 - (09B-23) - SIEVE, SHOE (14) - ROTOR, CONCANVES & SIEVE
25
21
32
3
18
8
43a
41
55
39
22
53
37
57
24
10
18
7
6
1
43
3
49
45
1
58
9
34
54
1
52
23
2
42
47
38
12
48
56
50
5
30
51
10
20
17
29
9
40
33
35
46
1
8
59
36
28
31
19
44
26
1
11
27
FIT
1:1
100%

Артикул

Название

Примечание

Количество

1

169256C2

WASHER,16.28mm ID x 31.8mm OD x 3.05mm Thk

41/64 x 1-1/4 x 1/8

12шт.

2

1957450C1

ARM

Inc. 3, Serial Range: -HAJ303741

2шт.

2

87671723

ARM ASSY.

Inc. 3, Start Serial: HAJ303741

2шт.

3

1330324C1

BUSHING

, Serial Range: -HAJ303741

2шт.

3

87538600

RUBBER BUSHING,16mm ID x 32.6mm OD x 58.9mm L

, Start Serial: HAJ303741

2шт.

4

433-1064

CARRIAGE BOLT,Sq Nk, 5/8" - 11 x 4", Gr 5

2шт.

5

426-1080

BOLT,Hex, 5/8" - 11 x 5", Gr 8

, Serial Range: -HAJ303741

2шт.

5

426-1084

BOLT,Hex, 5/8" - 11 x 5-1/4", Gr 8

, Start Serial: HAJ303741

2шт.

6

232-41110

NUT,5/8"-11, GC

4шт.

7

182684C3

CLIP

2шт.

8

492-11031

LOCK WASHER,5/16"

8шт.

9

425-105

NUT,5/16"-18, G5

8шт.

10

477-73112

SERRATED SCREW,Sl Truss Hd, 5/16" - 18 x 3/4"

1шт.

11

1319239C1

ANGLE

1шт.

12

1322461C1

PAN

1шт.

13

434-612

CARRIAGE BOLT,Sht Sq Nk, 3/8" - 16 x 3/4", Gr 5

(Not Shown)

2шт.

14

231-5146

FLANGE NUT,3/8"-16

(Not Shown)

2шт.

15

477-73112

SERRATED SCREW,Sl Truss Hd, 5/16" - 18 x 3/4"

(Not Shown)

16шт.

16

231-5145

SERRATED NUT,Flg, USR, 5/16"-18

(Not Shown)

16шт.

17

205-126

HOLE PLUG BUTTON,1 3/4"

2шт.

18

231-5145

SERRATED NUT,Flg, USR, 5/16"-18

1шт.

19

198925A1

SEAL,56mm W x 1790mm L

1790 mm (70-1/2 in)

2шт.

20

1325325C1

RETAINER

2шт.

21

231-5144

SERRATED NUT,Flg, USR, 1/4"-20

18шт.

22

477-82508

SERRATED SCREW,Sl Truss Hd, 1/4" - 20 x 1/2"

18шт.

23

1322464C7

GRAIN SIEVE

1-1/8, Extended, With Piano Wire

1шт.

See Figure 09D -11 or 09D -12 for 106743A1 adjusting lever.

1шт.

23

1979328C8

GRAIN SIEVE

1-5/8, Closz, Slat, Extended, With Piano Wire

1шт.

See Figure 09D -11 or 09D -12 for 106743A1 adjusting lever.

1шт.

23

1347365C2

GRAIN SIEVE

With 2.5 mm Round Holes, Corn and Grain

1шт.

See Figure 09D -11 or 09D -12 for 106743A1 adjusting lever.

1шт.

23

1347370C2

GRAIN SIEVE

With 5 mm Round Holes, Corn and Grain

1шт.

See Figure 09D -11 or 09D -12 for 106743A1 adjusting lever.

1шт.

23

1347367C2

GRAIN SIEVE

With 10 mm Round Holes, Corn and Grain

1шт.

See Figure 09D -11 or 09D -12 for 106743A1 adjusting lever.

1шт.

24

326-644

BOLT,Hex, 3/8" - 16 x 2-3/4", Gr 8

2шт.

25

495-81138

WASHER,10.31mm ID x 25.4mm OD x 4.93mm Thk

2шт.

26

492-11038

LOCK WASHER,3/8"

2шт.

27

429-106

NUT,3/8"-16, G8

2шт.

28

1979901C5

RAIL

Right Hand, Inc. 28A

1шт.

28a

184916C1

SUPPORT

Front, Right Hand

1шт.

29

1979900C5

RAIL

Left Hand, Inc. 29A

1шт.

29a

184915C1

SUPPORT

Front, Left Hand

1шт.

30

186675C1

ADJUSTING PLATE

Used With 1979328C8 (2), 1322464C7 (1), REF 23

1-2шт.

31

412-48

CARRIAGE BOLT,Short Sq Nk 1/4" - 20 x 1/2", Gr 2

Used with 374477A1, Ref 23

1шт.

31

413-412

BOLT,Hex, 1/4" - 20 x 3/4", Gr 5

1шт.

32

129-409

WING NUT,1/4"-20

Used with 1979328C8, 374477A1, Ref. 23

1шт.

32

231-4144

NUT,1/4"-20, GB

1шт.

32a

495-11028

WASHER,1/4", SAE

(Not Shown), Used with 1322464C7 (1), 374477A1 (2), Ref 23

1-2шт.

33

1325321C1

SUPPORT

Right Hand

1шт.

34

1325320C1

SUPPORT ASSY.

Left Hand, (Not Shown)

1шт.

35

426-688

BOLT,Hex, 3/8" - 16 x 5-1/2", Gr 8

2шт.

36

426-672

BOLT,Hex, 3/8" - 16 x 4-1/2", Gr 8

2шт.

37

232-5316

FLANGE NUT,Flg, 3/8"-16

4шт.

38

187187A2

PLATE

2шт.

39

187204A1

BAR

2шт.

40

477-82508

SERRATED SCREW,Sl Truss Hd, 1/4" - 20 x 1/2"

4шт.

41

231-5144

SERRATED NUT,Flg, USR, 1/4"-20

4шт.

42

138558A1

SELF-TAP SCREW,Hex Flg, 5/16" - 18 x 13/16", HDN

5/16 x 13/16

4шт.

43

303957A2

LEVER

Used With 1322464C7, REF 23

1шт.

43

303958A2

LEVER

Used With 1979328C8, REF 23

1шт.

43

418800A1

LEVER

Used With 374477A1, REF 23, Inc. 43A

1шт.

43a

418797A1

BUSHING,10.5mm ID x 16mm OD x 7mm L

(Not Shown)

1шт.

44

403123A1

BALL JOINT,3/8" - 24

End, Studded

1шт.

45

129-289

JAM NUT,Jam, 3/8"-24, G5, LH

1шт.

46

232-4646

LOCK NUT,3/8"-24, GC

1шт.

47

407140A2

ADJUSTMENT ROD

Upper Chaffer Sieve

1шт.

48

425-156

JAM NUT,Jam, 3/8"-24, G5

1шт.

49

427179A1

BALL JOINT HEAD,3/8" - 24

End

1шт.

50

413-620

BOLT,Hex, 3/8" - 16 x 1-1/4", Gr 5

1шт.

51

495-11041

WASHER,0.406" ID x 0.812" OD x 0.065" W

1шт.

52

231-4146

NUT,3/8"-16, GB

1шт.

53

814-10060

BOLT,Hex, M10 x 1.5 x 60mm, Cl 8.8

1шт.

53

814-10050

BOLT,Hex, M10 x 1.5 x 50mm, Cl 8.8

1шт.

54

895-11010

WASHER,11mm ID x 20mm OD x 2mm Thk

2шт.

55

832-10410

NUT,M10 x 1.5, Cl 8

2шт.

56

895-11008

WASHER,9mm ID x 16mm OD x 1.6mm Thk

1шт.

57

832-10408

NUT,M8 x 1.25, Cl 8.8

1шт.

58

495-21031

WASHER,1/4"

1шт.

59

492-11025

LOCK WASHER,1/4"

1шт.

Выбрано товаров: 80