Запчасти Case IH 2388 (09E-01) - GRAIN TANK ASSEMBLY (17) - GRAIN TANK & UNLOADER

Схема запчастей Case IH 2388 - (09E-01) - GRAIN TANK ASSEMBLY (17) - GRAIN TANK & UNLOADER
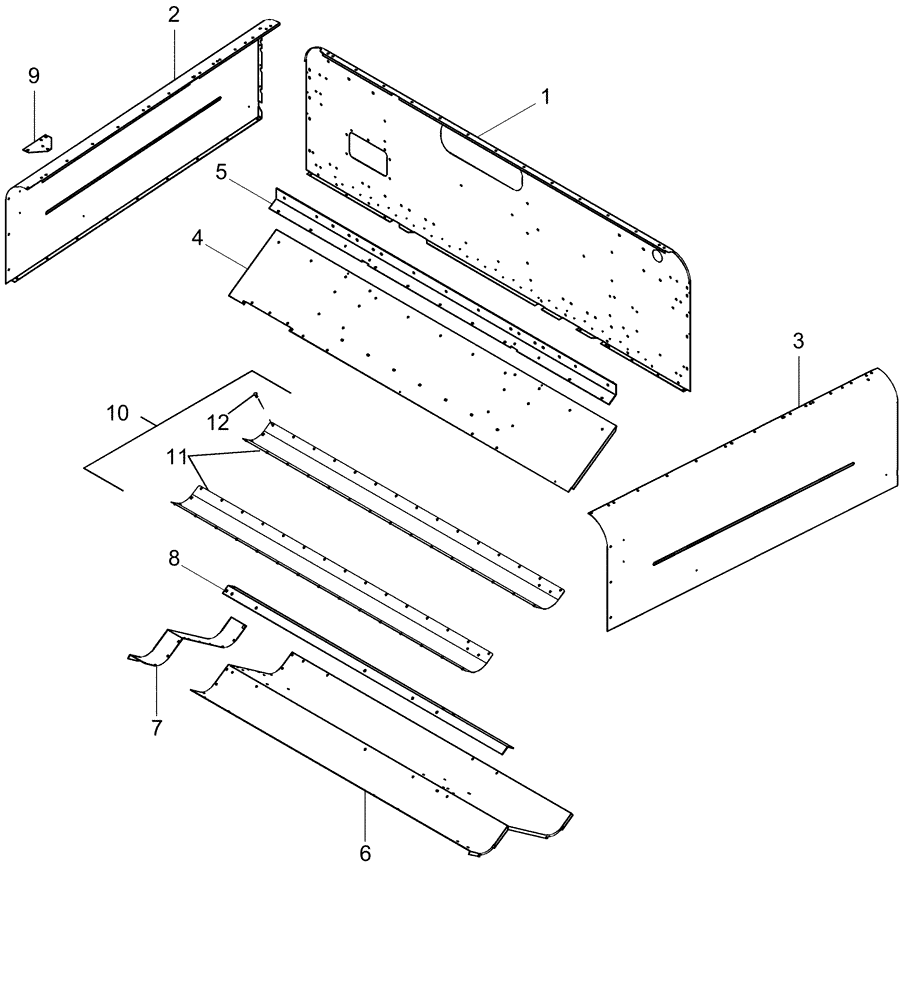
7
9
2
3
8
12
1
11
10
5
4
6
FIT
1:1
100%

Артикул

Название

Примечание

Количество

87371346

TANK

Assembly, Grain, Inc. 1 - 9

1шт.

1

123006A8

SHEET

Grain Tank Front

1шт.

2

252130A1

SHEET

Grain Tank, Left Hand

1шт.

3

252129A1

SHEET

Grain Tank, Right Hand

1шт.

4

192754C4

SHEET

Grain Tank, Bottom Front

1шт.

5

253800A1

STIFFENER

Front Lower Stiffener

1шт.

6

87365721

TANK

Grain Tank, Bottom, Right Hand

1шт.

7

87365502

TANK

Grain Tank , Bottom Left Hand

1шт.

8

192759C1

STIFFENER

Bottom Stiffener

1шт.

9

256027A1

PLATE

Upper Left Hand Stiffener

1шт.

10

87561634

COVER

Grain Trough Liner, Inc. 11, 12

1шт.

11

87559532

COVER

2шт.

12

87029192

RIVET,Pop, 3/16" x 3/8", Stainless

70шт.

Выбрано товаров: 13