Запчасти Case IH 2388 (09E-14) - UNLOADER - SUPPORTS, SWING CYLINDER (17) - GRAIN TANK & UNLOADER

Схема запчастей Case IH 2388 - (09E-14) - UNLOADER - SUPPORTS, SWING CYLINDER (17) - GRAIN TANK & UNLOADER
13
29
6
1
14
2
27
5
28
8
12
22
4
3
11
7
3
FIT
1:1
100%

Артикул

Название

Примечание

Количество

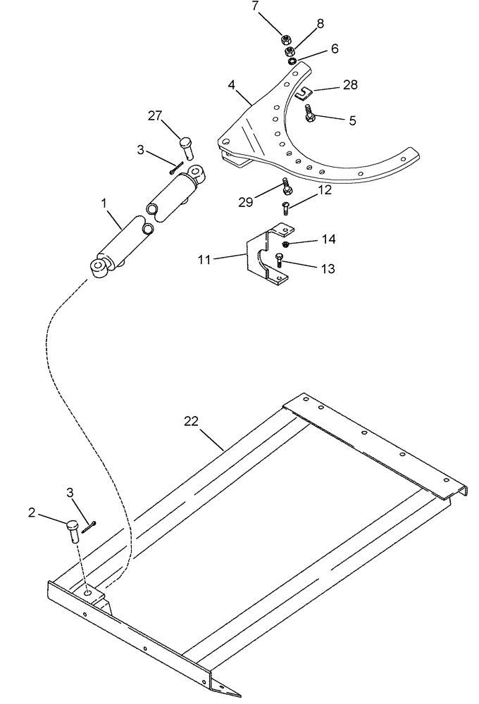
1

87597336

CYLINDER ASSY.,Double Acting, 25.4mm Rod, 508mm Stroke

Unloader Swing

1шт.

See Figure 08-32, REF 16

1шт.

1

87597336R

REMAN-HYD CYLINDER

2388 ASN HAJ300001 (10/06-), Does not come with hyme joint rod end PN 87611478. Order as needed.

1шт.

1

87597336C

CORE-HYD CYLINDER

Return Number

1шт.

2

427-10225

CLEVIS PIN,5/8" x 1 1/4"

1шт.

3

432-816

COTTER PIN,1/8" x 1"

2шт.

4

87593302

ARM ASSY.

1шт.

5

426-732

BOLT,Hex, 7/16" - 14 x 2", Gr 8

6шт.

6

492-11044

LOCK WASHER,7/16"

6шт.

7

429-107

NUT,7/16"-14, G8

6шт.

8

425-147

JAM NUT,Jam, 7/16"-14, G5

6шт.

11

87539326

SUPPORT ASSY.

2шт.

12

477-73820

SERRATED SCREW,Truss HD, 3/8" - 16 x 1-1/4"

1шт.

13

409-7616

BOLT,Hex Flg, 3/8" - 16 x 1", Spcl

2шт.

14

231-5146

FLANGE NUT,3/8"-16

3шт.

22

87525898

SUPPORT

1шт.

27

427-10225

CLEVIS PIN,5/8" x 1 1/4"

1шт.

28

151670C1

SHIM

0.036 in

1шт.

29

87593248

HEX SOC SCREW,Flat Hd, 7/16" - 14 x 2"

4шт.

Выбрано товаров: 19