Запчасти Case IH 2388 (06-23) - AXLE - EXTENSIONS (03) - POWER TRAIN

Схема запчастей Case IH 2388 - (06-23) - AXLE - EXTENSIONS (03) - POWER TRAIN
10
8
7
5
5
5
1
4
9
4
5
6
2
3
5
6
FIT
1:1
100%

Артикул

Название

Примечание

Количество

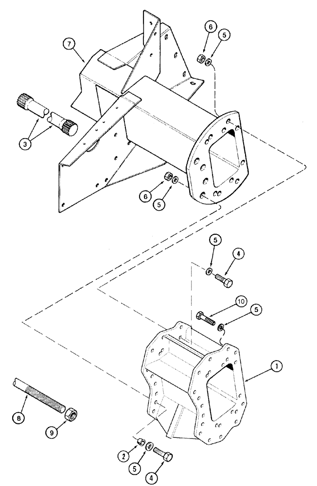
1

370220A1

EXTENSION

6 in, Drive Axle, Serial Range: -HAJ301909

2шт.

1

87623012

EXTENSION

6 in, Drive Axle, Start Serial: HAJ301909

2шт.

1

240851A1

EXTENSION

12 in, Drive Axle, Shown

2шт.

1

240851A2

EXTENSION

12 in, Drive Axle, If Used, Serial Range: -HAJ301909

2шт.

1

87589906

EXTENSION

12 in, Drive Axle, If Used, Start Serial: HAJ301909

2шт.

1

356418A1

AXLE

Extension Assy., 13 in, Drive Axle, If Used, (Not Shown), Serial Range: -HAJ301909

2шт.

1

87589907

EXTENSION

13 in, Drive Axle, If Used, (Not Shown), Start Serial: HAJ301909

2шт.

2

135314A1

BUSHING,20.1mm ID x 21.75mm OD x 12.7mm L

12шт.

3

REF

INSTRUCTION

Shaft, Axle, With Extensions

1шт.

See Figure 06-24, REF 40

1шт.

4

827-20070

BOLT,Hex, M20 x 2.5 x 70mm, Cl 10.9

1шт.

4

627-20060

BOLT,Hex, M20 x 2.5 x 60mm, Cl 10.9, Full Thd

1шт.

5

137339A2

WASHER,21mm ID x 33.5mm OD x 4mm Thk

22 x 34 x 3.4 mm

1шт.

6

832-41320

NUT,M20 x 2.5, Cl 10

1шт.

7

136416A5

AXLE

1шт.

See Figure 06-23, REF 1

1шт.

8

335400A1

REINFORCEMENT

With 12 in. Axle Extension, Serial Range: -HAJ301909

1шт.

Used with 240851A2

1шт.

8

87628998

ROD

With 12 in. Axle Extension, Start Serial: HAJ301909

1шт.

Used with 87589906

1шт.

8

356459A1

REINFORCEMENT

With 13 in. Axle Extension, Serial Range: -HAJ301909

1шт.

Used with 356418A1

1шт.

8

87633280

REINFORCEMENT

With 13 in. Axle Extension, Start Serial: HAJ301909

1шт.

Used with 87589907

1шт.

8

370221A2

REINFORCEMENT

With 6 in. Axle Extension, Serial Range: -HAJ301909

1шт.

8

87633278

REINFORCEMENT

With 6 in. Axle Extension, Start Serial: HAJ301909

1шт.

9

232-41320

LOCK NUT,1 1/4"-7, GC

, Serial Range: -HAJ301909

2шт.

9

425-1020

NUT,1 1/4"-7, G5

, Serial Range: -HAJ301909

2шт.

9

87605315

NUT

, Start Serial: HAJ301909

2шт.

10

861-20060

HEX SOC SCREW,M20 x 60mm, Cl 12.9

26шт.

11

370223A1

SPACER

With 6 in. Axle Extension

2шт.

12

425-1020

NUT,1 1/4"-7, G5

With 6 in. Axle Extension

2шт.

13

232-41320

LOCK NUT,1 1/4"-7, GC

With 6 in. axle extension

2шт.

14

396-31131

WASHER,1 3/8" x 2 1/2" x 1/4", HDN

With 6 in. Axle Extension

2шт.

87649541

REINFORCEMENT

Kit, 6 in. Axle Extension Rod, Serial Range: -HAJ301909

1шт.

87649542

REINFORCEMENT

Kit, 12 in. Axle Extension Rod, Serial Range: -HAJ301909

1шт.

87649543

REINFORCEMENT

Kit, 13 in. Axle Extension Rod, Serial Range: -HAJ301909

1шт.

Выбрано товаров: 37