Запчасти Case IH 2388 (04-06) - HARNESS, CONSOLE (06) - ELECTRICAL

Схема запчастей Case IH 2388 - (04-06) - HARNESS, CONSOLE (06) - ELECTRICAL
2
6
10
20
13
15
16
26
5
28
25
17
1
24
30
21
15
27
19
18
22
8
12
11
4
9
7
3
14
29
23
FIT
1:1
100%

Артикул

Название

Примечание

Количество

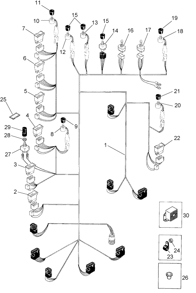
1

452023A2

WIRE HARNESS

Console

1шт.

2

124098A1

SWITCH

Parking Brake

1шт.

3

109821A1

SWITCH

Power Guide Axle, 4 Wheel Drive, Inc. 109826A1, 109833A1, 3141107R1

1шт.

109826A1

SWITCH

1шт.

109833A1

SYMBOLS

SYMBOL

1шт.

3141107R1

BULB,W5/1.2, 12V, 1.2W

1шт.

4

109822A1

SWITCH

Inc. 109826A1, 109834A1, 3141107R1

1шт.

With Two Speed Motor

1шт.

5

143503A1

SWITCH

Rotor Speed

1шт.

6

143502A1

SWITCH

Fan Speed

1шт.

7

143504A1

SWITCH

Concave Adjust

1шт.

8

114551A1

POTENTIOMETER,2500 Ohm, 500V

Reel Speed

1шт.

9

A186263

KNOB

1шт.

10

114551A1

POTENTIOMETER,2500 Ohm, 500V

Raise Rate

1шт.

11

A186263

KNOB

1шт.

12

114551A1

POTENTIOMETER,2500 Ohm, 500V

Header Sensitivity

1шт.

13

86997465

POTENTIOMETER

Header Position

1шт.

14

129237A1

SWITCH

Header Height

1шт.

15

118780A1

KNOB

3шт.

16

245634C2

SWITCH

Toggle, Feeder, Serial Range: -HAJ301806

1шт.

16

245634C3

SWITCH

Toggle, Feeder, Start Serial: HAJ301806

1шт.

17

245632C2

SWITCH

Toggle, Separator

1шт.

18

114551A1

POTENTIOMETER,2500 Ohm, 500V

Lower Rate

1шт.

19

A186263

KNOB

1шт.

20

114551A1

POTENTIOMETER,2500 Ohm, 500V

Reel Ratio

1шт.

21

118780A1

KNOB

1шт.

22

109817A1

SWITCH

Reel Speed, Auto/Manual

1шт.

23

515-23222

CLAMP,7/8", Insul, 3/8" Bolt

1шт.

24

829-1410

NUT,M10 x 1.5, Cl 10.9

1шт.

25

245918C1

LENS

Blanking rocker switch

1шт.

Without Two Speed Motor

1шт.

Without Power Guide Axle

1шт.

26

353-4

PLUG,Cap, .366" OD

1шт.

Without Automatic Height Control

1шт.

27

L70872

SWITCH

Accumulator

1шт.

28

A42561

JAM NUT,Hex, 7/16" - 28, RH Thd

1шт.

29

280673A1

KNOB

Accumulator Switch

1шт.

30

L112318

ALARM

Back-Up

1шт.

Выбрано товаров: 0