Запчасти Case IH 2577 (35.200.13) - VALVE ASSY - PARKING BRAKE AND FEEDER CLUTCH (35) - HYDRAULIC SYSTEMS

Схема запчастей Case IH 2577 - (35.200.13) - VALVE ASSY - PARKING BRAKE AND FEEDER CLUTCH (35) - HYDRAULIC SYSTEMS
3
9
18
2
8
7
12
1
14
17
6
16
13
10
5
11
4
15
33.202.22
FIT
1:1
100%

Артикул

Название

Примечание

Количество

129010A4

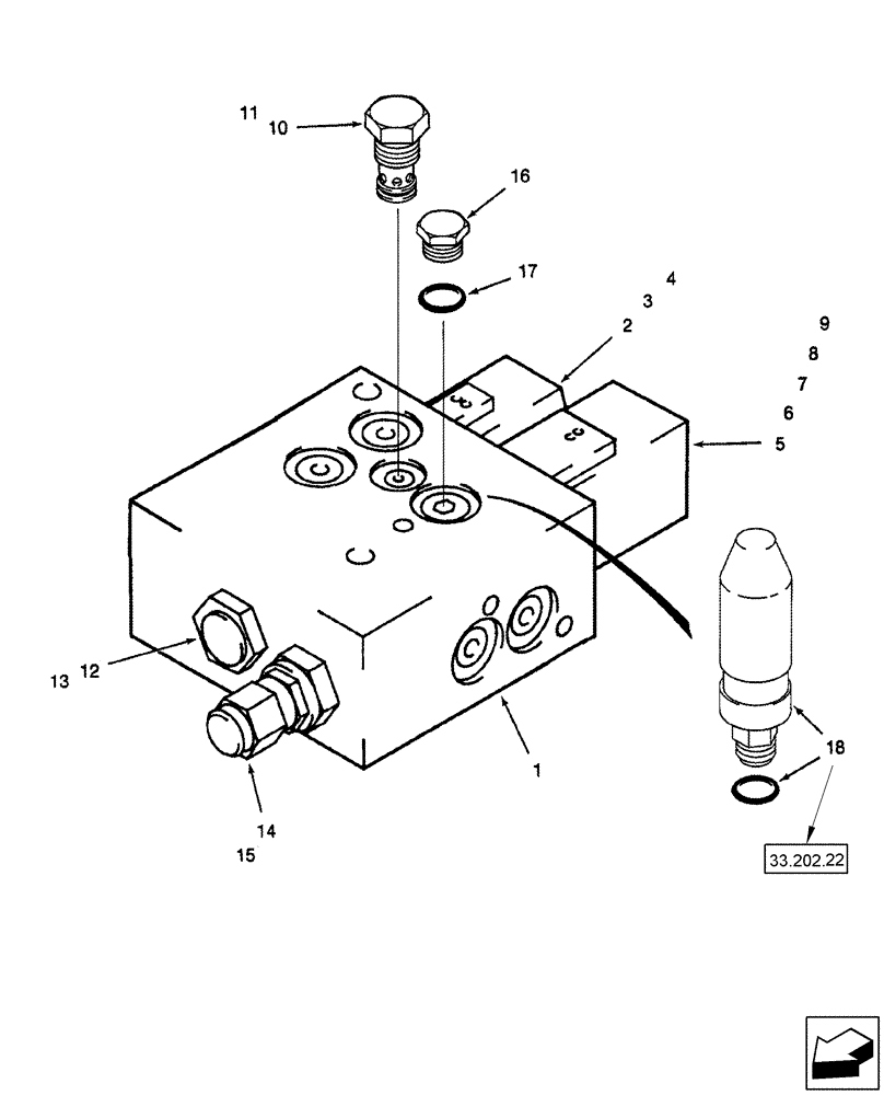
CONTROL VALVE

Parking Brake and Feeder Clutch, Incl 1 - 17

1шт.

1

NSS

NOT SOLD SEPARAT

BODY, Order 129010A4

1шт.

NSS

NOT SOLD SEPARAT

4-Way, VALVE, SOLENOID, Incl 2 - 4, Order Components

1шт.

2

187849C1

SOLENOID VALVE

4-Way, Cartridge Only

1шт.

3

187850C1

SEAL KIT

(Not Shown)

1шт.

4

1340843C1

SOLENOID,12V

12V

1шт.

NSS

NOT SOLD SEPARAT

3-Way, VALVE, SOLENOID, Incl 5 - 9, Order Components

1шт.

5

1986618C1

SOLENOID

3-Way, Incl 6 - 10

1шт.

6

190703A1

SOLENOID

1шт.

7

237-6010

O-RING,0.097" Thk x 0.755" ID, -910, Cl 6, 90 Duro

1шт.

8

238-5015

O-RING,0.07" Thk x 0.551" ID, -15, Cl 5, 75 Duro

1шт.

9

238-5014

O-RING,0.07" Thk x 0.489" ID, -14, Cl 5, 75 Duro

1шт.

10

190704A1

CHECK VALVE

Service With 11

1шт.

11

190707A1

SEAL KIT

(Not Shown)

1шт.

12

190705A1

VALVE POPPET,7/8" - 14

Orifice, Service With 13

1шт.

13

149942C1

SEAL KIT

(Not Shown)

1шт.

14

190706A2

CHECK VALVE

Service with 15

1шт.

15

149942C1

SEAL KIT

(Not Shown)

1шт.

16

87035062

PLUG,Hex, 1/2"-20 ORB

Incl 17

1шт.

17

237-6005

O-RING,0.072" Thk x 0.414" ID, -905, Cl 6, 90 Duro

1шт.

18

125829A1

PRESSURE SWITCH

Parking Brake

1шт.

Выбрано товаров: 21