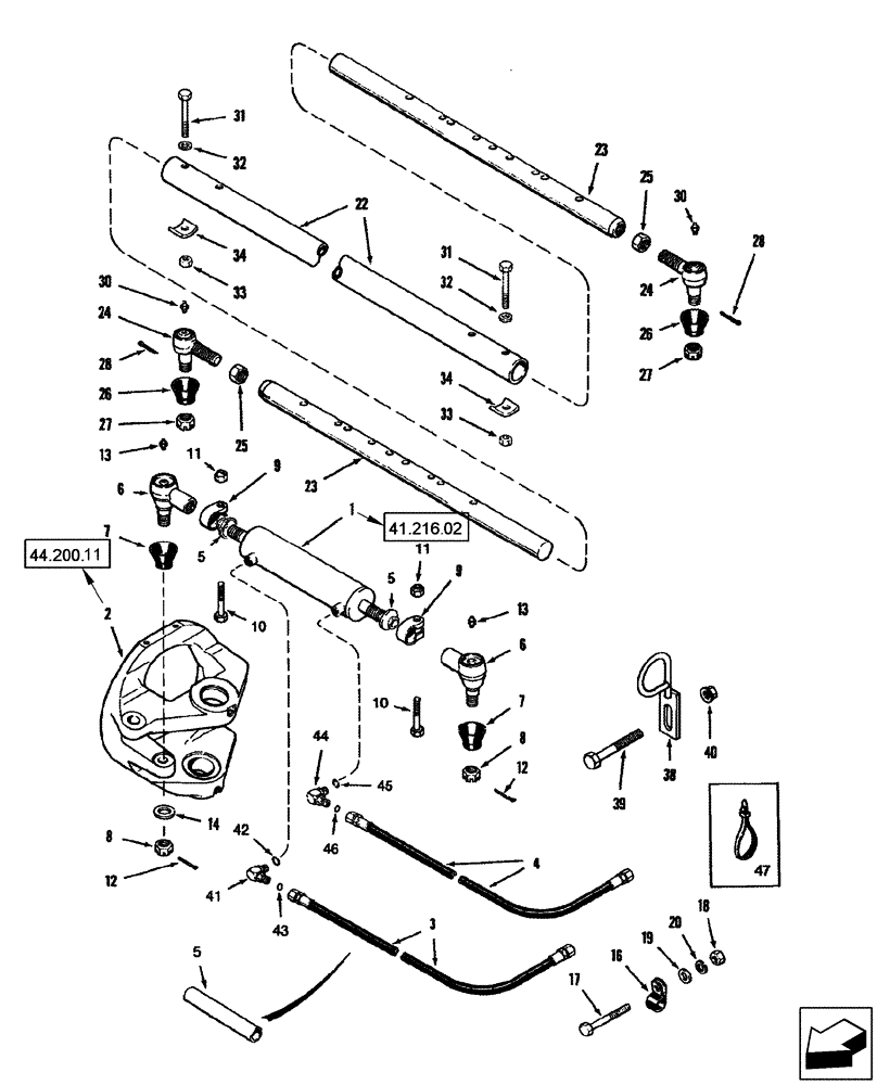
Запчасти Case IH 2577 (41.216.03) - STEERING CYLINDER AND TIE ROD - POWER GUIDE AXLE - SINGLE STEERING CYLINDER (41) - STEERING

Схема запчастей Case IH 2577 - (41.216.03) - STEERING CYLINDER AND TIE ROD - POWER GUIDE AXLE - SINGLE STEERING CYLINDER (41) - STEERING
27
6
26
9
9
7
32
33
6
7
10
24
24
11
41
5
27
4
30
2
10
16
23
22
17
47
45
46
39
44
28
5
28
32
31
23
25
11
12
43
13
38
33
34
3
26
12
19
14
44.200.11
41.216.02
40
1
34
13
18
8
25
30
42
31
8
20
5
FIT
1:1
100%

Артикул

Название

Примечание

Количество

1

87337226

CYLINDER,Double Acting, 25.4mm Rod, 228.6mm Stroke

64 ID x 229 mm strk

1шт.

87337226R

REMAN-HYD CYLINDER

2577 AXIAL-FLOW COMBINE (NA) ASN HAJ0300001 ( 10/06 - )

1шт.

87337226C

CORE-HYD CYLINDER

Return Number

1шт.

2

CARRIER

2шт.

3

87564463

HOSE ASSY.

2160 mm (85")

1шт.

4

128084A2

FLEXIBLE HOSE

1960 mm (77-1/8")

1шт.

5

229298A1

BOOT

1шт.

6

437222A1

BALL JOINT

Incl 7 - 12, 13 (1)

2шт.

7

87301009

BOOT

1шт.

8

425-1314

SLOTTED NUT,7/8"-14, G5

1шт.

9

446308C91

CLAMP

Incl 10, 11

1шт.

10

413-730

BOLT,Hex, 7/16" - 14 x 1-7/8", Gr 5

1шт.

11

231-4117

LOCK NUT,7/16"-14, GB

1шт.

12

432-816

COTTER PIN,1/8" x 1"

1шт.

12

432-824

COTTER PIN,1/8" x 1 1/2"

2шт.

13

219-8

LUBE NIPPLE,1/4" - 28 NPTF

2шт.

14

496-21094

WASHER,23.82mm ID x 44.45mm OD x 4.85mm Thk

1шт.

16

515-25476

CLAMP,1 7/8", Insul, 1/2" Bolt

1шт.

17

413-572

BOLT,Hex, 5/16" - 18 x 4-1/2", Gr 5

1шт.

18

425-105

NUT,5/16"-18, G5

1шт.

19

495-81116

WASHER,8.74mm ID x 25.4mm OD x 1.7mm Thk

1шт.

20

492-11031

LOCK WASHER,5/16"

1шт.

22

1970102C1

TUBE

Outer

1шт.

23

1970103C1

TUBE,1.062" ID, 1.625" OD, 33" Length

Tie Rod, Inner

2шт.

24

1968998C1

BALL JOINT

2шт.

25

1970391C1

JAM NUT

1-1/8" NF

2шт.

26

110373R1

DUST CAP

2шт.

27

425-1314

SLOTTED NUT,7/8"-14, G5

2шт.

28

432-816

COTTER PIN,1/8" x 1"

2шт.

30

219-1

LUBE NIPPLE,1/8" - 27 NPTF

2шт.

31

326-856

BOLT,Hex, 1/2" - 13 x 3-1/2", Gr 8

4шт.

32

1970104C1

SPACER

4шт.

33

232-4118

NUT,1/2"-13, GC

4шт.

34

1970101C1

CLAMP

4шт.

38

1970383C1

GUIDE

Hose

4шт.

39

413-1280

BOLT,Hex, 3/4" - 10 x 5", Gr 5

4шт.

40

87301494

FLANGE NUT,Flg, USR, 3/4"-10, G8

4шт.

41

201-304

ELBOW,90 Degree Elbow, 11/16" - 16 Male ORFS x 9/16" - 18 Male ORB

Incl 42, 43

1шт.

42

237-6006

O-RING,0.078" Thk x 0.468" ID, -906, Cl 6, 90 Duro

1шт.

43

238-6012

O-RING,0.07" Thk x 0.364" ID, -12, Cl 6, 90 Duro

1шт.

44

201-332

ELBOW,90 Degree Elbow, 13/16" - 16 Male ORFS x 9/16" - 18 Male ORB

Incl 45, 46

1шт.

45

237-6006

O-RING,0.078" Thk x 0.468" ID, -906, Cl 6, 90 Duro

1шт.

46

238-6014

O-RING,0.07" Thk x 0.489" ID, -14, Cl 6, 90 Duro

1шт.

47

L18331

CABLE TIE,375.9mm L, Nylon, Black

CABLE STRAP 15"

1шт.

Выбрано товаров: 44