Запчасти Case IH 2577 (50.200.15) - HEATER - AIR CONDITIONING - CAB AIR CONDITIONING, EXTERIOR (50) - CAB CLIMATE CONTROL

Схема запчастей Case IH 2577 - (50.200.15) - HEATER - AIR CONDITIONING - CAB AIR CONDITIONING, EXTERIOR (50) - CAB CLIMATE CONTROL
11
2
9
4
6
3
2a
10
7
5
11
1a
1
8
6
12
13
FIT
1:1
100%

Артикул

Название

Примечание

Количество

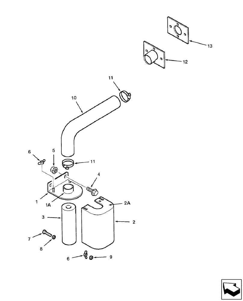
1

243176A2

HOLDER

Incl 1A

1шт.

1a

243284A1

AIR INTAKE TUBE,63.5 - 65.53 mm OD, 78.74 mm Length

Air

1шт.

2

247720A3

COVER

Incl 2A, 2B

1шт.

2a

248130A1

COVER

End

1шт.

2b

248131A2

SUPPORT

Shield (Not Shown)

1шт.

3

247752A1

CAB FILTER

1шт.

4

409-7612

BOLT,3/8"-16 x 1.09" OAL

2шт.

5

231-5146

FLANGE NUT,3/8"-16

2шт.

6

129-409

WING NUT,1/4"-20

3шт.

7

113-83

BOLT,Hex, 1/4" - 20 x 1-1/2", Gr 5, Full Thd

1шт.

8

425-104

NUT,1/4"-20, Cl 5

1шт.

9

231-1444

NUT,1/4"-20, GB

1шт.

10

380524A1

HOSE,65.5mm ID x 545mm L

1шт.

11

214-1540

HOSE CLAMP,#40, 2.06" - 3", Type F Worm, W/ Liner

2шт.

12

246752A1

PLATE

1шт.

13

247058A1

GASKET,5mm Thk

1шт.

Выбрано товаров: 16