Запчасти Case IH 2577 (55.301.02) - ALTERNATOR - MOUNTING (55) - ELECTRICAL SYSTEMS

Схема запчастей Case IH 2577 - (55.301.02) - ALTERNATOR - MOUNTING (55) - ELECTRICAL SYSTEMS
22
4
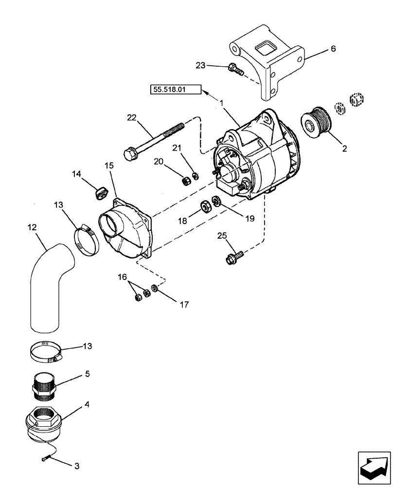
1
16
13
5
12
23
13
18
2
14
3
25
6
21
55.518.01
15
19
20
17
FIT
1:1
100%

Артикул

Название

Примечание

Количество

1

125849A1

ALTERNATOR,12V, 135A, W/ Pulley

135 amp

1шт.

1

125849A1GV

ALTERNATOR

Value, 135 amp

1шт.

2

87452704

PULLEY,70.66mm OD

1шт.

3

183-112

THUMB SCREW,1/4"-20 x 1"

1шт.

4

87540645

SCREEN

Alternator Air

1шт.

5

87552611

PIPE,2" Short Poly Nipple

1шт.

6

87360715

SUPPORT

Alternator

1шт.

12

143953A1

ELBOW

Alternator Air Inlet

1шт.

13

214-1536

HOSE CLAMP,#36, 1.81" - 2.75", Type F Worm, W/ Liner

2шт.

14

1964826C1

GROMMET

1шт.

15

1338890C1

COVER

1шт.

16

825-1405

NUT,M5, Cl 8

8шт.

17

495-31025

WASHER,3/16"

4шт.

18

425-147

JAM NUT,Jam, 7/16"-14, G5

1шт.

19

492-11044

LOCK WASHER,7/16"

1шт.

20

825-1404

NUT,M4, Cl 8

1шт.

21

892-11004

LOCK WASHER,M4

1шт.

22

87030021

BOLT,Hex, M12 x 150mm, Cl 10.9

1шт.

23

844-10030

BOLT,Hvy Hex, M10 x 30mm, Cl 8.8

3шт.

24

829-2412

FLANGE NUT,M12 x 1.75, Flg, Cl 10

1шт.

25

409-7820

BOLT,Hex Flg, 1/2" - 13 x 1 1/4", Spcl

1шт.

Выбрано товаров: 21