Запчасти Case IH 2577 (55.518.03) - WINDSHIELD WASHER (55) - ELECTRICAL SYSTEMS

Схема запчастей Case IH 2577 - (55.518.03) - WINDSHIELD WASHER (55) - ELECTRICAL SYSTEMS
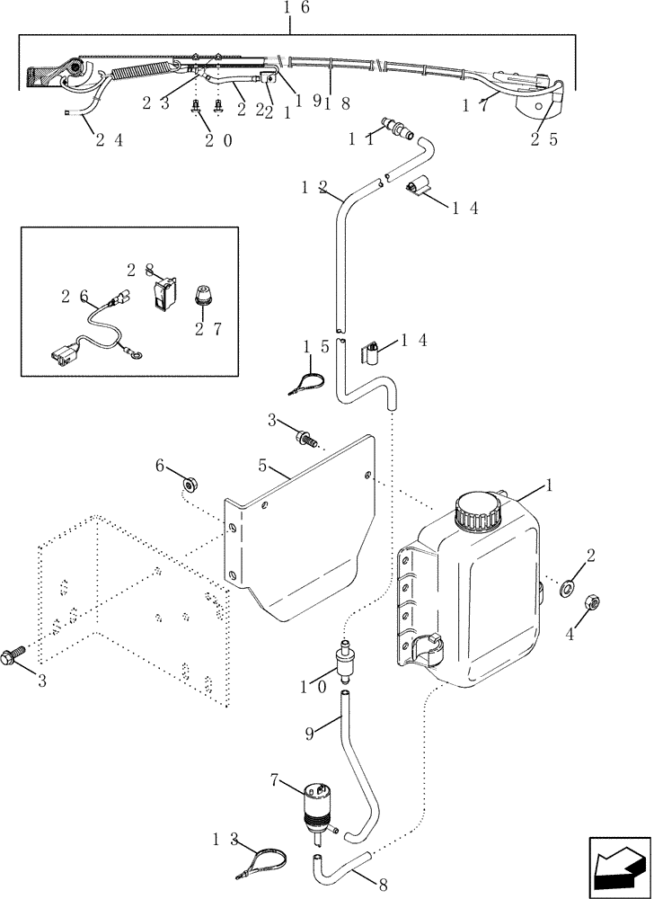
14
26
8
16
14
21
23
1
7
13
20
24
28
19
11
4
12
18
3
15
10
27
3
2
25
22
9
6
17
5
FIT
1:1
100%

Артикул

Название

Примечание

Количество

1

87447644

RESERVOIR, WINDSHIEL

1шт.

2

495-11034

WASHER,5/16", SAE

2шт.

3

409-7516

BOLT,Hex Flg, 5/16" - 18 x 1", Spcl

4шт.

4

231-1445

NUT,5/16"-18, GB

2шт.

5

87447938

SUPPORT

Reservoir

1шт.

6

231-5145

SERRATED NUT,Flg, USR, 5/16"-18

1шт.

7

1964696C2

PUMP

1шт.

8

31-2368

HOSE

127 mm (5"), Cut from 4-1056

1шт.

9

31-2422

HOSE,4.77 mm ID x 254.00 mm

254 mm (10"), Cut from 4-1056

1шт.

10

84037530

VALVE

1шт.

11

31-2364

FITTING

3/16" x 7/64"

1шт.

12

31-2582

HOSE

3962 mm (156"), Cut from 4-1056

1шт.

13

702093C1

CABLE TIE

CABLE STRAP

5шт.

14

245854A1

CLIP

4шт.

15

58556C1

CABLE TIE

CABLE STRAP 14"

2шт.

16

87281666

WINDSHIELD WASHER

Incl 17 - 25

1шт.

17

87282393

HOSE

1шт.

18

PL

PROCURE LOCALLY

BUNDLING TIE

8шт.

19

87282394

ARM

1шт.

20

87282395

RIVET

Snap

2шт.

21

87282396

NOZZLE CAP

Single

1шт.

22

87282397

HOSE

1шт.

23

87282398

FITTING

Y

1шт.

24

PL

PROCURE LOCALLY

HOSE, 450 mm

1шт.

25

87282392

HOLDER

Nozzle, Double

1шт.

26

87447600

WIRE HARNESS

Windshield Washer

1шт.

Used with Field Installed Kit

1шт.

27

195803C1

GROMMET

1шт.

Used with Field Installed Kit

1шт.

28

87447601

WINDSHIELD WIPER SWI

With Washer

1шт.

Выбрано товаров: 30