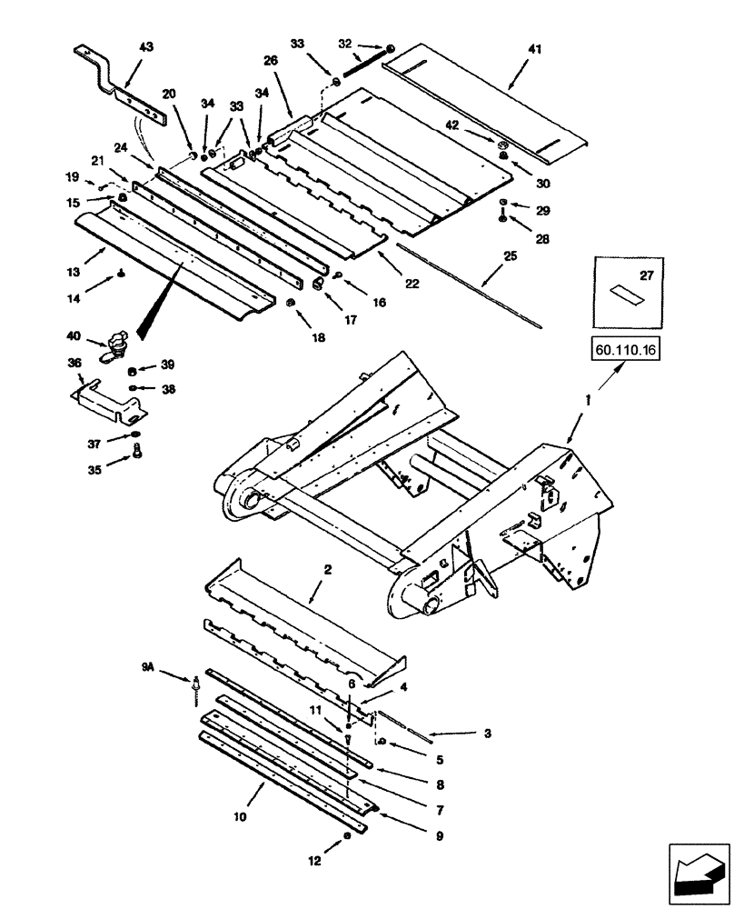
Запчасти Case IH 2577 (60.110.13) - FEEDER - COVERS (60) - PRODUCT FEEDING

Схема запчастей Case IH 2577 - (60.110.13) - FEEDER - COVERS (60) - PRODUCT FEEDING
10
34
17
12
14
26
37
34
11
33
26
4
5
32
36
18
29
21
13
33
19
25
9
38
3
6
43
40
15
41
35
39
30
24
7
22
42
9a
2
20
60.110.16
27
8
16
FIT
1:1
100%

Артикул

Название

Примечание

Количество

1

NSS

NOT SOLD SEPARAT

HOUSING, Feeder

1шт.

2

87602131

DOOR

Lower

1шт.

3

175931C1

ROD

1шт.

4

193611C2

HINGE

1шт.

5

477-73816

SERRATED SCREW,Sl Truss Hd, 3/8" x 1"

8шт.

6

231-5146

FLANGE NUT,3/8"-16

8шт.

7

1319964C1

STRIP

1шт.

NSS

NOT SOLD SEPARAT

SEAL Assy, Incl 8 - 10

1шт.

8

197526C1

SEALING STRIP

1шт.

9

1319960C1

SUPPORT

1шт.

9a

151-559

RIVET,Pop, 4.75mm OD x 12.7mm L

8шт.

10

1319962C1

SEAL

1шт.

11

443-11012

SCREW,Cross Flat Hd, #10-24 x 3/4"

8шт.

12

196922C1

LOCK NUT

No. 10

8шт.

13

131022A1

COVER

1шт.

14

434-816

CARRIAGE BOLT,Sht Sq Nk, 1/2" - 13 x 1", Gr 5

2шт.

15

131-946

FLANGE NUT,Flg, 1/2"-13, G8

2шт.

16

409-7416

BOLT,Hex Flg, 1/4" - 20 x 1", Spcl

2шт.

17

1322144C2

STOP

2шт.

18

231-5144

SERRATED NUT,Flg, USR, 1/4"-20

2шт.

19

409-7616

BOLT,Hex Flg, 3/8" - 16 x 1", Spcl

6шт.

20

231-5146

FLANGE NUT,3/8"-16

6шт.

21

634248R2

SEAL,55mm W x 1175.96mm L

1шт.

22

138250A1

FLAP

Upper Door

1шт.

24

197527C2

ANGLE

1шт.

25

175907C1

ROD

1шт.

26

186356A1

SHEET

Upper, Incl 27

1шт.

With 54-1/2" Feeder

1шт.

26

186357A1

SHEET

Upper, Incl 27

1шт.

With 60" Feeder

1шт.

27

D80270

ANTI-SKID STRIP,635mm / 25 Inch

Non-Slip, 635 mm (25") x 51 mm (2")

1шт.

28

415-824

CARRIAGE BOLT,Sht Sq Nk, 1/2" - 13 x 1 1/2", Gr 8

8шт.

29

195-81030

WASHER

17/32" x 1-1/2" x 3/16"

8шт.

30

131-946

FLANGE NUT,Flg, 1/2"-13, G8

8шт.

32

1321504C1

SCREW,440mm L, W/ 3/4" - 10 Nut

2шт.

33

496-21081

WASHER,13/16" x 1 1/2" x .179", HDN

4шт.

34

425-1012

NUT,3/4"-10, G5

3шт.

35

477-73812

SERRATED SCREW,Truss HD, 3/8" - 16 x 3/4"

2шт.

36

130658A1

SUPPORT

1шт.

37

495-11041

WASHER,0.406" ID x 0.812" OD x 0.065" W

2шт.

38

492-11038

LOCK WASHER,3/8"

2шт.

39

425-106

NUT,3/8"-16, Cl 5

2шт.

40

138699A2

LOCK

1шт.

41

1321639C1

PLATE

Upper Front

1шт.

42

425-148

JAM NUT,Jam, 1/2"-13, G5

8-10шт.

43

139045A2

SUPPORT

Feeder Hoses

1шт.

Выбрано товаров: 46