Запчасти Case IH 2577 (66.105.08) - CONCAVES - GRATES AND CONCAVES (66) - THRESHING

Схема запчастей Case IH 2577 - (66.105.08) - CONCAVES - GRATES AND CONCAVES (66) - THRESHING
14
18
4
21
13
7
8
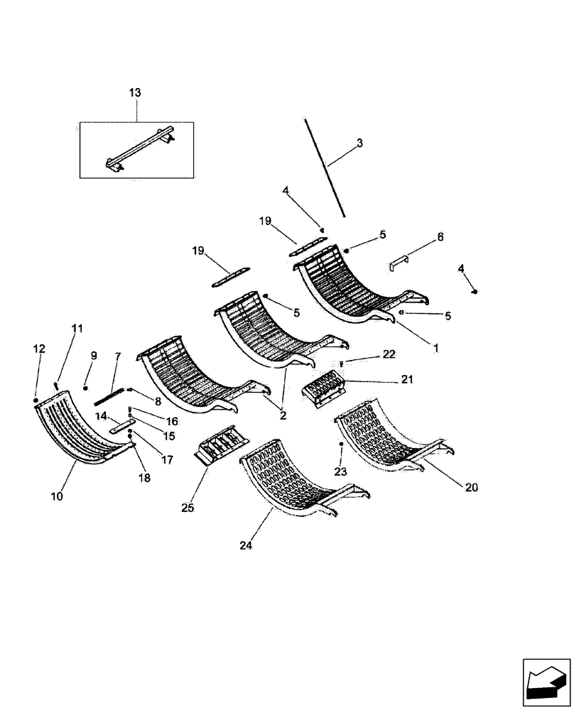
1
20
10
17
9
16
24
22
3
6
25
15
19
2
11
23
5
19
5
12
4
5
FIT
1:1
100%

Артикул

Название

Примечание

Количество

1

418647A1

CONCAVE

Front, Small Wire, Incl 3 - 5, 19

1шт.

With Heat Treatment

1шт.

1

386188A1

CONCAVE

Front, Large Wire, Incl 3 - 5

1шт.

Without Heat Treatment

1шт.

1

418645A1

CONCAVE

Front, Large Wire, Incl 3 - 5, 19

1шт.

With Heat Treatment

1шт.

2

386189A1

CONCAVE

No. 2 and 3, Large Wire, Incl 3 - 5

1шт.

Without Heat Treatment

1шт.

2

418646A1

CONCAVE

No. 2 and 3, Large Wire, Incl 3 - 5, 19

2шт.

With Heat Treatment

1шт.

2

418648A1

CONCAVE

No. 2 and 3, Small Wire, Incl 3 - 5, 19

1шт.

With Heat Treatment

1шт.

3

386352A1

WIRE

WIRE Concave, Large

14шт.

3

418158A1

WIRE

WIRE Concave, Small

30шт.

With Heat Treatment

1шт.

3

412400A1

WIRE

Concave, Smooth

6шт.

4

450-73816

SERRATED SCREW,Truss HD, 3/8" - 16 x 1"

8шт.

5

231-5146

FLANGE NUT,3/8"-16

8шт.

6

1309425C1

CHANNEL

Small Wire

1шт.

With Heat Treatment

1шт.

6

1309424C1

CHANNEL

Large Wire

1шт.

Without Heat Treatment

1шт.

7

191536C1

CHANNEL

Grate Adjusting, Corn, Used with 191535C2, Ref 10

9шт.

8

477-73112

SERRATED SCREW,Sl Truss Hd, 5/16" - 18 x 3/4"

27шт.

9

231-5145

SERRATED NUT,Flg, USR, 5/16"-18

27шт.

10

191535C2

GRATE

Slotted, Grain

3шт.

10

1302563C1

CONCAVE

Keystock

3шт.

10

1319405C1

GRATE

Smooth

3шт.

11

410-7620

BOLT,Hex Flg, 3/8" - 16 x 1 1/4", Gr 8

3шт.

12

231-5146

FLANGE NUT,3/8"-16

3шт.

13

1324046C3

BAR

Small Wire

1шт.

With Heat Treatment

1шт.

14

186784C2

BAR

3шт.

15

600179R1

SPACER,13.9mm ID x 21.34mm OD x 14.3mm L

6шт.

16

281058

BOLT,Hex, 1/2" - 13 x 2", Gr 8

6шт.

17

495-11053

WASHER,1/2", SAE

6шт.

18

232-4118

NUT,1/2"-13, GC

6шт.

19

193859C1

PLATE

Concave

2шт.

19

431897A1

BAR

Concave

2шт.

20

316772A1

CONCAVE

Front Smooth Slotted, No. 1

1шт.

21

316773A1

EXTENSION

Concave, Front Smooth, No. 1

1шт.

22

410-7616

BOLT,Hex Flg, 3/8" - 16 x 1", Gr 8

4шт.

23

231-5146

FLANGE NUT,3/8"-16

4шт.

24

316778A1

CONCAVE

Front Smooth Slotted, No. 2 and 3

2шт.

25

316774A1

EXTENSION

Concave, Front Smooth, No. 2 and 3

2шт.

Выбрано товаров: 0