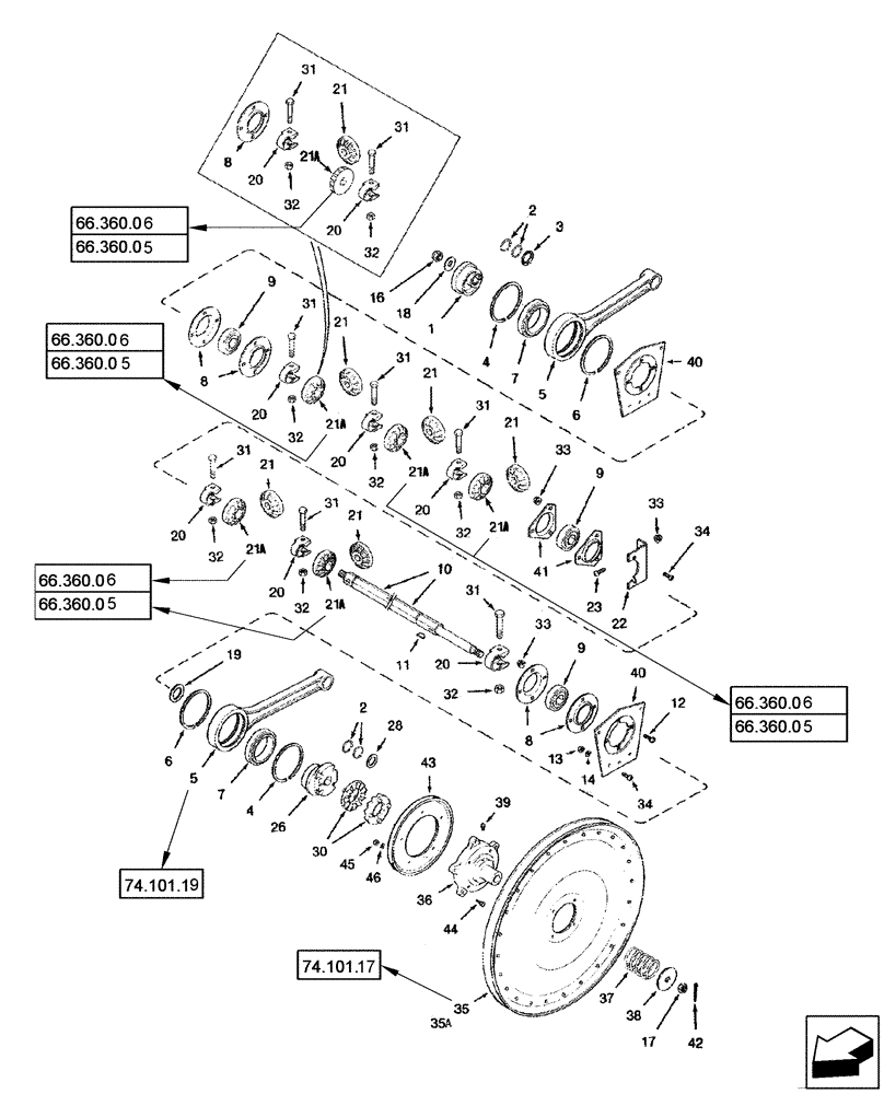
Запчасти Case IH 2577 (74.101.08) - DRIVE - SHAKER SHAFT AND AUGER (74) - CLEANING

Схема запчастей Case IH 2577 - (74.101.08) - DRIVE - SHAKER SHAFT AND AUGER (74) - CLEANING
42
22
19
20
21
20
38
2
1
12
21
37
33
34
5
30
66.360.05
66.360.05
66.360.06
66.360.06
66.360.05
66.360.06
74.101.17
74.101.19
66.360.05
66.360.06
40
21a
21
20
20
41
45
33
9
32
32
39
36
8
4
20
31
31
20
31
7
21a
32
21a
9
44
3
31
31
5
6
40
2
18
32
26
43
4
26
7
23
21
10
21a
16
9
14
35
20
32
13
31
31
6
8
32
34
8
31
11
21
20
21
17
32
33
46
35a
21a
32
FIT
1:1
100%

Артикул

Название

Примечание

Количество

1

1322573C1

CAM

LH

1шт.

2

1322623C1

RETAINER

1-13/64"

4шт.

3

1330336C1

WASHER,24mm ID x 31.65mm OD x 3mm Thk

29/32" x 1-1/4" x 1/8"

1шт.

4

1979190C1

RETAINER

2шт.

5

87582203

ARM ASSY.

Shaker Shaft

2шт.

6

1322624C1

SNAP RING

5-1/8"

2шт.

7

1345226C1

BALL BEARING,80mm ID x 125mm OD x 22mm W

2шт.

8

87430518

FLANGE

4шт.

9

156816C91

BEARING HOUSING,28.6mm Hex x 72mm OD x 25mm W

3шт.

10

1322616C2

SHAFT

1шт.

11

126-124

WOODRUFF KEY,#15, 1/4" x 1", HT

2шт.

12

477-73812

SERRATED SCREW,Truss HD, 3/8" - 16 x 3/4"

8шт.

13

425-106

NUT,3/8"-16, Cl 5

8шт.

14

492-11038

LOCK WASHER,3/8"

8шт.

16

231-41112

LOCK NUT,3/4"-10, GB

1шт.

17

425-1212

SLOTTED NUT,3/4"-10, G5

1шт.

18

1979580C1

WASHER,19.05mm ID x 44.5mm OD x 11mm L

1шт.

19

495-81213

WASHER,35.71mm ID x 50.8mm OD x 1.7mm Thk

1шт.

20

225265R1

CLAMP

6шт.

21

194194C1

GEAR

14T

5шт.

21a

191677C1

GEAR

14T

5шт.

22

186589C1

SUPPORT

1шт.

23

477-73816

SERRATED SCREW,Sl Truss Hd, 3/8" x 1"

2шт.

26

1322574C1

CAM

RH

1шт.

28

1979191C1

WASHER,27mm ID x 31.65mm OD x 3mm Thk

1-1/16" x 1-1/4" x 1/8"

1шт.

30

B12170

RATCHET,Clutch Slip, 94.49mm

2шт.

31

413-840

BOLT,Hex, 1/2" - 13 x 2-1/2", Gr 5

6шт.

32

231-4118

LOCK NUT,1/2"-13, GB

6шт.

33

231-5146

FLANGE NUT,3/8"-16

13шт.

34

477-73812

SERRATED SCREW,Truss HD, 3/8" - 16 x 3/4"

3шт.

34

477-73816

SERRATED SCREW,Sl Truss Hd, 3/8" x 1"

8шт.

35

359099A1

PULLEY,612.14mm OD

Driven

1шт.

36

1303136C2

HUB

1шт.

37

19302K

SPRING

1шт.

38

388418C1

SPECIAL WASHER,19.84mm ID x 81.28mm OD x 6.35mm Thk

1шт.

39

219-87

LUBE NIPPLE,1/4" - 28 NPTF

1шт.

40

1302221C1

PLATE

2шт.

41

86620026

FLANGED BEARING

2шт.

42

432-828

COTTER PIN,1/8" x 1 3/4"

1шт.

43

566516R92

PULLEY,256.46mm OD

9-3/4" OD

1шт.

44

413-516

BOLT,Hex, 5/16" - 18 x 1", Gr 5

5шт.

45

425-105

NUT,5/16"-18, G5

5шт.

46

492-11031

LOCK WASHER,5/16"

5шт.

Выбрано товаров: 43