Запчасти Case IH 2577 (74.140.11) - TAILINGS AUGER TROUGH PANEL AND GATE - MODELS WITH STRAW SPREADER (74) - CLEANING

Схема запчастей Case IH 2577 - (74.140.11) - TAILINGS AUGER TROUGH PANEL AND GATE - MODELS WITH STRAW SPREADER (74) - CLEANING
11
7
2
17
5
18
5
15
3
6
3
74.114.07
14
9
16
5
13
9
10
13
1
8
5
4
FIT
1:1
100%

Артикул

Название

Примечание

Количество

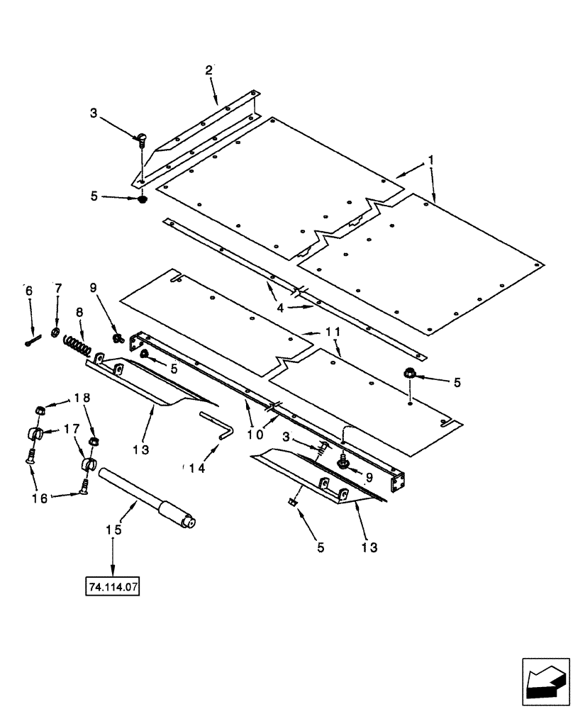
1

1970423C1

SHEET

1шт.

2

1346963C1

SUPPORT

2шт.

3

256873

BOLT,Hex Serr, 5/16" - 18 x 1/2", 5SPL, Full Thd

8шт.

3

477-73112

SERRATED SCREW,Sl Truss Hd, 5/16" - 18 x 3/4"

1шт.

3

477-73116

SERRATED SCREW,Truss HD, 5/16" - 18 x 1"

2шт.

4

122851A1

STRAP

1шт.

5

231-5145

SERRATED NUT,Flg, USR, 5/16"-18

1шт.

6

432-612

COTTER PIN,3/32" x 3/4"

2шт.

7

495-51041

WASHER,3/8"

2шт.

8

540815R2

SPRING

2шт.

9

477-73112

SERRATED SCREW,Sl Truss Hd, 5/16" - 18 x 3/4"

24шт.

10

1970529C1

SUPPORT

1шт.

11

1979194C2

SEAL

1шт.

13

191978C2

TAILGATE

1шт.

14

186736C3

ROD

2шт.

15

106743A1

HANDLE

1шт.

16

340-1108

SCREW,Cross Pan Hd, #10-24 x 1/2"

2шт.

17

106744A1

CLIP

2шт.

18

231-51409

SERRATED NUT,Flg, USR, #10-24

2шт.

Выбрано товаров: 19