Запчасти Case IH 2577 (80.175.04) - AUGER, UNLOADER - GRAIN TANK, LOWER (80) - CROP STORAGE/UNLOADING

Схема запчастей Case IH 2577 - (80.175.04) - AUGER, UNLOADER - GRAIN TANK, LOWER (80) - CROP STORAGE/UNLOADING
7
1
23
25
19
19
6
22
9
20
14
3
5
4
11
33
21
12
15
13
20
16
23
12
17
21
27
2
8
34
35
26
28
10
19
1
32
FIT
1:1
100%

Артикул

Название

Примечание

Количество

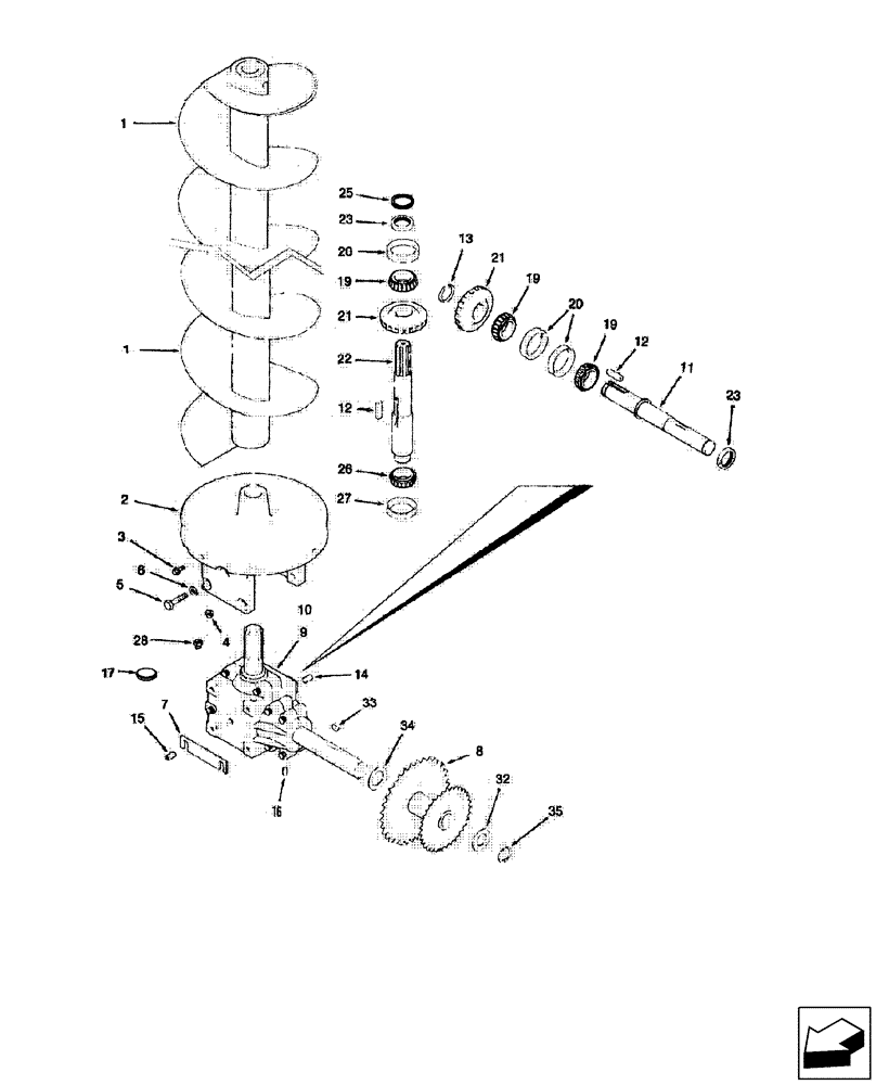
1

87325666

AUGER

Vertical, Unloader

1шт.

2

1347177C1

SUPPORT

1шт.

3

409-7616

BOLT,Hex Flg, 3/8" - 16 x 1", Spcl

7шт.

3

409-7620

BOLT,Hex Flg, 3/8" - 16 x 1 1/4", Spcl

2шт.

4

231-5146

FLANGE NUT,3/8"-16

9шт.

5

413-824

BOLT,Hex, 1/2" - 13 x 1-1/2", Gr 5

6шт.

6

80679

LOCK WASHER,1/20.507 CST ZND

6шт.

7

1347337C1

SHIM

1шт.

8

87525820

1шт.

9

1347336C2

GEARBOX

Incl 10 - 28

1шт.

1347336C2R

REMAN-HOUSING

2577 AXIAL-FLOW COMBINE ASN HAJ0300001 (10/06-)

1шт.

1347336C2C

CORE-TRANSMISSION

Return Number

1шт.

10

NSS

NOT SOLD SEPARAT

HOUSING

1шт.

11

1989462C1

SHAFT

1-1/2" OD

1шт.

12

1989564C1

KEY

3/8"

2шт.

13

1989563C1

SNAP RING

1шт.

14

217-439

PLUG,Hex Soc, 1/2" - 14 NPTF

1шт.

15

221-667

DRAIN PLUG,Hex Soc, 1/2" NPT

1шт.

16

221-671

DRAIN PLUG,Hex Soc, 1/4" NPT

1шт.

17

436993A1

CAP

Rubber

1шт.

19

779103R91

ROLLER BEARING

3шт.

20

518819R1

BEARING CUP,69.01mm OD x 15.08mm W

3шт.

21

1989464C1

PINION

2шт.

22

1989463C1

SHAFT

1-3/8" OD

1шт.

23

1989581C1

SEAL,38.08mm ID x 50.08mm OD x 7.95mm Thk

2шт.

24

61-33836

HEX SOC SCREW,3/8 - 16 x 2-1/4"

(Not Shown)

1шт.

25

1347432C2

SEAL,38.08mm ID x 42mm OD x 7.5mm Thk

1шт.

26

20879D

ROLLER BEARING,1.375" ID x 2.77" OD x 0.7813"

1шт.

27

ST991

BEARING CUP

1шт.

28

219-431

LUBE NIPPLE,1/8"-27 NPT x .50" lg, Press Relief

1шт.

32

1327731C1

THRUST WASHER

1-13/32" x 2-1/4" x 1/8"

7шт.

33

126-133

WOODRUFF KEY,#D, 5/16" x 1 1/4", HT

1шт.

34

188354C1

WASHER,35.71mm ID x 57.15mm OD x 3.05mm Thk

1-13/32" x 2-1/4" x 1/8"

3шт.

35

A21619

CIRCLIP

1шт.

36

353-404

PLUG,Dome, .500" hole, Nylon

(Not Shown)

2шт.

Выбрано товаров: 35