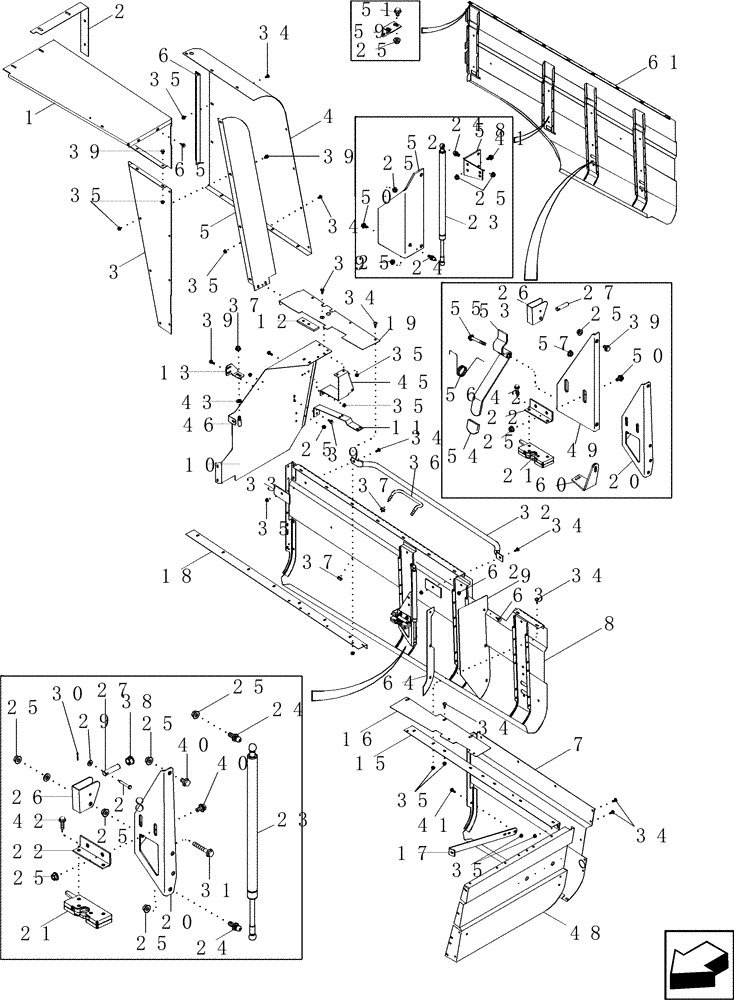
Запчасти Case IH 2577 (90.105.05) - DOOR - SHIELD - RIGHT HAND (90) - PLATFORM, CAB, BODYWORK AND DECALS

Схема запчастей Case IH 2577 - (90.105.05) - DOOR - SHIELD - RIGHT HAND (90) - PLATFORM, CAB, BODYWORK AND DECALS
42
24
43
34
33
39
41
39
49
46
32
26
13
12
35
6
22
34
34
35
21
58
53
62
37
34
34
20
40
35
28
1
25
54
24
30
25
25
18
23
35
22
5
31
59
50
17
7
19
25
35
24
64
27
16
35
60
48
25
25
15
2
38
35
39
42
27
25
40
10
61
35
29
45
25
65
25
63
56
50
34
41
34
37
11
39
9
20
55
25
39
51
26
34
25
52
25
3
36
57
21
8
4
23
24
25
37
39
FIT
1:1
100%

Артикул

Название

Примечание

Количество

1

87313665

SUPPORT

Engine Cover

1шт.

2

87414239

SUPPORT

1шт.

3

87413554

SHIELD

1шт.

4

87413551

COVER

1шт.

5

87413556

PANEL

1шт.

6

140514A1

SUPPORT

1шт.

7

413998A1

SUPPORT

1шт.

8

87415382

SHIELD

1шт.

10

87413640

SHIELD

1шт.

11

87385907

STRAP

1шт.

12

87428556

PLATE

1шт.

13

87413642

BRACKET

1шт.

15

87415390

SUPPORT

RH

1шт.

16

87413646

PLATE

1шт.

17

416559A1

STRAP

1шт.

18

87427282

SUPPORT

1шт.

19

87427283

PANEL

1шт.

20

432210A1

BRACKET

2шт.

21

141224A1

LATCH

2шт.

22

182195A2

BRACKET

2шт.

23

140311A3

GAS STRUT

2шт.

24

87025782

STUD

4шт.

25

231-5145

SERRATED NUT,Flg, USR, 5/16"-18

1шт.

26

432278A1

LEVER

2шт.

27

432307A1

PIN,11.11mm OD x 43mm L

Rear Trim Panel Latch

2шт.

28

127-218

CLEVIS PIN,4.78mm OD x 30.94mm L

1шт.

29

495-31022

WASHER,#10

1шт.

30

432-412

COTTER PIN,1/16" x 3/4"

1шт.

31

121-232

SERRATED BOLT,Hex, 5/16" - 18 x 2", Gr 5

1шт.

32

143775A2

HANDRAIL

1шт.

33

418690A1

PLATE

2шт.

34

477-73108

SERRATED SCREW,Sl Truss Hd, 5/16" - 18 x 1/2"

7шт.

34

477-73112

SERRATED SCREW,Sl Truss Hd, 5/16" - 18 x 3/4"

5шт.

35

231-5145

SERRATED NUT,Flg, USR, 5/16"-18

10шт.

36

1329715C1

HANDLE

1шт.

37

231-5148

FLANGE NUT,Flg, USR, 1/2"-13

5шт.

38

353-462

BUSHING,12.7mm ID x 15.88mm OD x mm L

1шт.

39

409-7512

BOLT,Hex Flg, 5/16" - 18 x 3/4", Spcl

13шт.

39

409-7516

BOLT,Hex Flg, 5/16" - 18 x 1", Spcl

9шт.

40

256873

BOLT,Hex Serr, 5/16" - 18 x 1/2", 5SPL, Full Thd

3шт.

41

477-73112

SERRATED SCREW,Sl Truss Hd, 5/16" - 18 x 3/4"

4шт.

42

413-416

BOLT,Hex, 1/4" - 20 x 1", Gr 5

8шт.

43

495-21050

WASHER,7/16"

2шт.

45

87413643

BRACKET

1шт.

46

282145A1

SPECIAL BOLT,1/2" - 13 x 3/4", Grade 8

1шт.

47

495-11034

WASHER,5/16", SAE

1шт.

48

398211A1

SUPPORT

Tail Lamp, RH

1шт.

49

182219A1

SUPPORT

RH, Lower

1шт.

50

256873

BOLT,Hex Serr, 5/16" - 18 x 1/2", 5SPL, Full Thd

7шт.

51

409-7516

BOLT,Hex Flg, 5/16" - 18 x 1", Spcl

9шт.

52

182262A2

SUPPORT

1шт.

53

182204A1

LEVER

1шт.

54

176203A2

PROTECTOR

1шт.

55

413-528

BOLT,Hex, 5/16" - 18 x 1-3/4", Gr 5

1шт.

56

284170A1

SPRING

1шт.

57

425-145

JAM NUT,Jam, 5/16"-18, G5

1шт.

58

139771A2

SUPPORT

Upper RH

1шт.

59

181333A2

BRACKET

1шт.

60

414002A1

BRACKET

Latch Mounting

1шт.

61

139775A5

DOOR ASSY.

1шт.

62

231-5145

SERRATED NUT,Flg, USR, 5/16"-18

3шт.

63

409-758

BOLT,Hex Flg, 5/16" - 18 x 1/2", Spcl

3шт.

64

87630529

PLATE

Reinforcement

1шт.

65

138558A1

SELF-TAP SCREW,Hex Flg, 5/16" - 18 x 13/16", HDN

2шт.

Выбрано товаров: 64