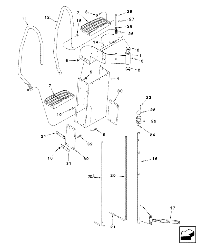
Запчасти Case IH 2577 (90.118.11) - LADDER, OPERATORS (90) - PLATFORM, CAB, BODYWORK AND DECALS

Схема запчастей Case IH 2577 - (90.118.11) - LADDER, OPERATORS (90) - PLATFORM, CAB, BODYWORK AND DECALS
6
20
27
28
2
1
23
15
25
4
24
21
9
11
7
30
16
31
20a
3
29
32
30
2
17
26
14
12
8
5
31
10
10
22
7
FIT
1:1
100%

Артикул

Название

Примечание

Количество

1

87549001

SUPPORT

Incl 2, 3

1шт.

2

142381A1

BUSHING,50.72mm ID x 55.58mm OD x 25.65mm L

2шт.

3

219-87

LUBE NIPPLE,1/4" - 28 NPTF

1шт.

4

87551541

CHASSIS

Channel, Ladder Rear

1шт.

5

409-7612

BOLT,3/8"-16 x 1.09" OAL

7шт.

6

231-5146

FLANGE NUT,3/8"-16

7шт.

7

87301185

STEP

5шт.

8

409-7640

BOLT,Hex Flg, 3/8" - 16 x 2 1/2", Spcl

2шт.

9

409-7616

BOLT,Hex Flg, 3/8" - 16 x 1", Spcl

16шт.

10

231-5146

FLANGE NUT,3/8"-16

16шт.

10

231-5346

FLANGE NUT,Flg, 3/8"-16

3шт.

11

87547879

RAMP

Handrail, RH

1шт.

12

87547881

RAMP

LH

1шт.

14

409-7632

BOLT,Hex Flg, 3/8" - 16 x 2", Spcl

10шт.

15

231-5346

FLANGE NUT,Flg, 3/8"-16

10шт.

16

87552364

PACKAGE,SERVICE

Incl 16A, If Used

1шт.

16a

87568949

DECAL

Ladder Unlatch, (Not Shown)

1шт.

17

87547877

LEVER

Latch, Ladder

1шт.

20a

364437A1

LATCH

If Used

1шт.

21

324455A1

PROTECTOR

Cap

1шт.

22

349015A1

KNOB

Ladder Latch

1шт.

Used with 365759A2

1шт.

23

840-1660

SCREW,Pan HD, M6 x 60mm, Cl 4.8

1шт.

24

832-10406

NUT,M6 x 1, Cl 8

1шт.

25

349014A1

KNOB

Use Loctite No. 425, See below 35

1шт.

26

338153A1

SPRING

1шт.

27

320917A1

PIN,19.05mm OD x 176.25mm L

176.25 mm Long

1шт.

28

495-81039

WASHER,25/32" x 1 1/4" x .120"

1шт.

29

38-32024

PIN,5/16" x 1 1/2", Coiled

1шт.

30

87301176

SUPPORT,150mm W x 325mm L

Ladder Bottom Step

2шт.

31

87301177

PLATE

4шт.

32

409-7620

BOLT,Hex Flg, 3/8" - 16 x 1 1/4", Spcl

3шт.

32

121-437

STEP BOLT,Hex Skt, 3/8" - 16 - 1/2" x 1.50"

1шт.

Выбрано товаров: 33