Запчасти Case IH 2577 (90.124.04) - SEAT, OPERATOR - SUSPENSION (90) - PLATFORM, CAB, BODYWORK AND DECALS

Схема запчастей Case IH 2577 - (90.124.04) - SEAT, OPERATOR - SUSPENSION (90) - PLATFORM, CAB, BODYWORK AND DECALS
66
65
17
66
9
60
19
31
33
4
18
49
56
20
46
51
40
64
2
52
30
16
19
58
90.124.03
90.124.01
59
57
13a
53
67
7
2
45
48
36
40
41
42
15
44
8
67
34
27
21
61
63
21
43
12
21a
58
35
20
39
10
38
54
49
48
24
25
13
63
28
14
23
11a
29
68
22
26
1
11
21a
6
3
1
37
47
32
5
55
47
FIT
1:1
100%

Артикул

Название

Примечание

Количество

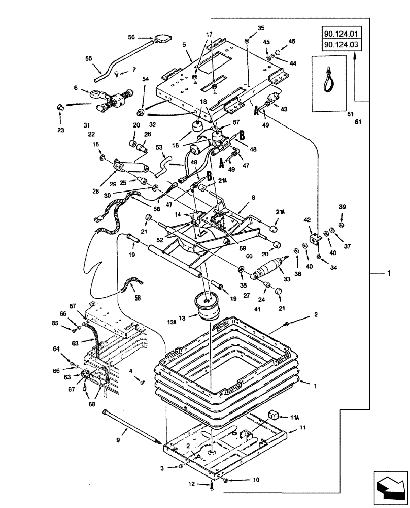
1

86989910

SEAT

Incl 1A - 68

1шт.

1990647C2

KIT

Boot, Suspension, Incl 1 - 4

1шт.

1a

NSS

NOT SOLD SEPARAT

BOOT

1шт.

132872A1

KIT

Incl. 2 - 4

1шт.

2

NSS

NOT SOLD SEPARAT

FASTENER

20шт.

3

NSS

NOT SOLD SEPARAT

NUT

3шт.

4

NSS

NOT SOLD SEPARAT

CLIP

3шт.

87416447

KIT

Suspension Service, Incl 5 - 63

1шт.

5

180591A1

PLATE

Upper

1шт.

6

180592A1

SHOCK ABSORBER

1шт.

7

276-24812

SELF-TAP SCREW,5/16" - 18 x 3/4"

2шт.

8

1990643C1

FRAME ASSY

1шт.

9

A49529

SHAFT

1шт.

10

231-4206

LOCK NUT,Hex, 3/8"-16, GB

1шт.

11

226560A1

HOUSING

Lower, Also Order 132872A1, A45054

1шт.

11a

A45054

BUMPER,Neoprene

1шт.

12

443-13812

SCREW,Cross Flat Hd, 3/8"-16 x 3/4"

1шт.

197793A1

SPRING

Incl 13, 13A

1шт.

13

NSS

NOT SOLD SEPARAT

SPRING

1шт.

13a

NSS

NOT SOLD SEPARAT

CLAMP

1шт.

14

413-68

BOLT,Hex, 3/8" - 16 x 1/2", Gr 5

1шт.

15

131-425

PUSH-ON NUT,Push, 1/2"

1шт.

180593A1

KIT

Bumper, Incl 16 - 18

2шт.

16

NSS

NOT SOLD SEPARAT

BUMPER

2шт.

17

231-1444

NUT,1/4"-20, GB

2шт.

18

340-12520

SCREW,Cross Pan Hd, 1/4"-20 x 1 1/4"

2шт.

180594A3

KIT

Rollers and Bearings, Incl 19 - 27

1шт.

19

NSS

NOT SOLD SEPARAT

BUSHING

2шт.

20

NSS

NOT SOLD SEPARAT

ROLLER

2шт.

21

NSS

NOT SOLD SEPARAT

ROLLER

4шт.

21a

NSS

NOT SOLD SEPARAT

ROLLER

2шт.

22

131-425

PUSH-ON NUT,Push, 1/2"

1шт.

23

NSS

NOT SOLD SEPARAT

BEARING, PIVOT

1шт.

24

NSS

NOT SOLD SEPARAT

BEARING, PIVOT

1шт.

25

NSS

NOT SOLD SEPARAT

BEARING, PIVOT

1шт.

26

NSS

NOT SOLD SEPARAT

BEARING, PIVOT

1шт.

27

NSS

NOT SOLD SEPARAT

SPACER

1шт.

1344250C2

KIT

Shock Absorber, Incl 28 - 32

1шт.

28

NSS

NOT SOLD SEPARAT

SHOCK ABSORBER

1шт.

29

NSS

NOT SOLD SEPARAT

BEARING, PIVOT

1шт.

30

A45519

WASHER

1шт.

31

131-425

PUSH-ON NUT,Push, 1/2"

1шт.

32

NSS

NOT SOLD SEPARAT

BEARING, PIVOT

1шт.

227546A1

KIT

Shock, Fore/Aft, Incl 33 - 41

1шт.

33

NSS

NOT SOLD SEPARAT

SHOCK ABSORBER

1шт.

34

434-48

CARRIAGE BOLT,Sht Sq Nk, 1/4" - 20 x 1/2", Gr 5

2шт.

35

231-1444

NUT,1/4"-20, GB

2шт.

36

495-11041

WASHER,0.406" ID x 0.812" OD x 0.065" W

2шт.

37

NSS

NOT SOLD SEPARAT

WASHER

1шт.

38

NSS

NOT SOLD SEPARAT

SPACER

1шт.

39

230-4715

LOCK NUT,5/16"-24, GA

1шт.

40

A49679

BUSHING

2шт.

41

NSS

NOT SOLD SEPARAT

BEARING, PIVOT

1шт.

42

1981845C1

ANGLE

1шт.

1981852C3

SWITCH

Air Control, Incl 43 - 46

1шт.

43

NSS

NOT SOLD SEPARAT

SWITCH

1шт.

44

NSS

NOT SOLD SEPARAT

NUT

1шт.

45

493-11065

LOCK WASHER,Ext-Int Tooth, 5/8"

1шт.

46

1987186C2

KNOB

1шт.

1990548C4

KIT

Incl 47 - 52

1шт.

47

NSS

NOT SOLD SEPARAT

ELBOW, 90

2шт.

48

NSS

NOT SOLD SEPARAT

TUBE

1шт.

49

NSS

NOT SOLD SEPARAT

TUBE

1шт.

51

L18337

CABLE TIE,9.95"-12.1" lg

CABLE STRAP

4шт.

52

NSS

NOT SOLD SEPARAT

CLAMP

1шт.

53

179026A1

TUBE

3/8" ID x 24-1/4"

1шт.

54

133422A1

BUMPER

2шт.

55

180596A2

LEVER

1шт.

56

180597A2

HANDLE

1шт.

358903A2

KIT

Compressor, Incl 57 - 61

1шт.

57

NSS

NOT SOLD SEPARAT

COMPRESSOR

1шт.

58

87413247

WIRE HARNESS

1шт.

59

495-31022

WASHER,#10

2шт.

60

440-1086

SCREW,Cross Pan Hd, #8-32 x 3/8"

2шт.

61

L18337

CABLE TIE,9.95"-12.1" lg

CABLE STRAP

6шт.

291280A1

KIT

Ground Strap, Incl 63 - 68

1шт.

63

NSS

NOT SOLD SEPARAT

STRAP, GROUND

1шт.

64

NSS

NOT SOLD SEPARAT

SCREW

1шт.

65

NSS

NOT SOLD SEPARAT

SCREW

1шт.

66

NSS

NOT SOLD SEPARAT

WASHER

2шт.

67

NSS

NOT SOLD SEPARAT

WASHER, LOCK

2шт.

68

NSS

NOT SOLD SEPARAT

STRAP, TIE DOWN

2шт.

Выбрано товаров: 82