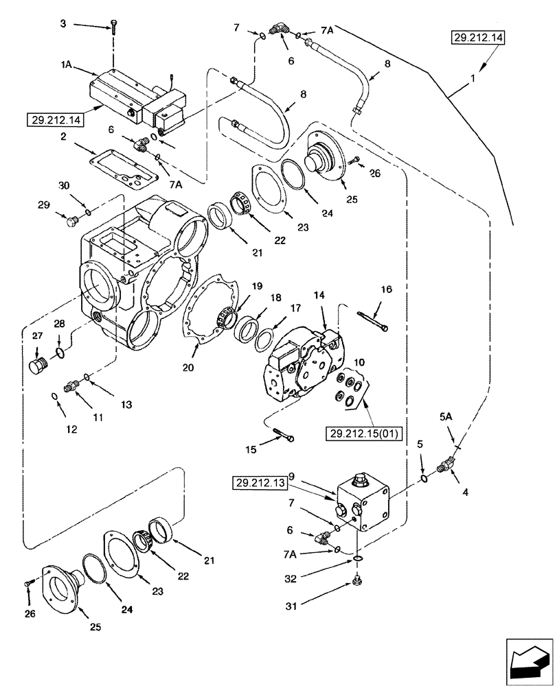
Запчасти Case IH 2588 (29.212.14[01]) - HYDROSTATIC MOTOR ASSY - TWO SPEED (29) - HYDROSTATIC DRIVE

Схема запчастей Case IH 2588 - (29.212.14[01]) - HYDROSTATIC MOTOR ASSY - TWO SPEED (29) - HYDROSTATIC DRIVE
25
7a
2
23
10
3
25
1
29.212.15(01)
31
18
29.212.13
29.212.14
20
8
24
6
12
27
24
26
4
30
1a
26
5
21
23
29.212.14
6
7a
14
13
5a
32
28
7a
8
17
6
9
7
15
21
11
19
7
22
29
22
16
FIT
1:1
100%

Артикул

Название

Примечание

Количество

1

400476A2

HYDROSTATIC MOTOR

89.13 cc, Incl Refs 1 - 32, Part Number Stamped on Part

1шт.

400476A2R

REMAN-HYD MOTOR,89.13 CC

2588 ASN HAJ300001 (10/06-)

1шт.

400476A2C

CORE-MOTOR HYDRAULIC

Return Number

1шт.

1a

255825A1

REPAIR KIT

1шт.

2

145337C1

GASKET

1шт.

3

413-528

BOLT,Hex, 5/16" - 18 x 1-3/4", Gr 5

6шт.

4

201-331

ELBOW,45 Degree, 9/16"-18 x 7/16"-20. Adj, ORFS

Incl Refs 5, 5A

1шт.

5

237-6004

O-RING,0.072" Thk x 0.351" ID, -904, Cl 6, 90 Duro

1шт.

5a

238-6011

O-RING,0.07" Thk x 0.301" ID, -11, Cl 6, 90 Duro

1шт.

6

201-303

ELBOW,90 Degree Elbow, 9/16" - 18 Male ORFS x 7/16" - 20 Male ORB

Incl Refs 7, 7A

3шт.

7

237-6004

O-RING,0.072" Thk x 0.351" ID, -904, Cl 6, 90 Duro

1шт.

7a

238-6011

O-RING,0.07" Thk x 0.301" ID, -11, Cl 6, 90 Duro

1шт.

8

192384A1

HOSE,6.35mm ID x 255mm L

254 mm (10"), Valve To Block, One 90 Degree Hose End and One Straight Hose End

2шт.

9

193646A2

BLOCK

Relief Valve

1шт.

10

140747C92

SEAL KIT

1шт.

11

201-100

HYD CONNECTOR,9/16" - 18 Male ORFS x 7/16" - 20 Male ORB

Incl Refs 12, 13

1шт.

12

238-6011

O-RING,0.07" Thk x 0.301" ID, -11, Cl 6, 90 Duro

1шт.

13

237-6004

O-RING,0.072" Thk x 0.351" ID, -904, Cl 6, 90 Duro

1шт.

14

NSS

NOT SOLD SEPARAT

HOUSING, End Cover

1шт.

15

426-732

BOLT,Hex, 7/16" - 14 x 2", Gr 8

2шт.

16

413-748

BOLT,Hex, 7/16" - 14 x 3", Gr 5

6шт.

142398C91

SHIM KIT

Incl Ref 17

1шт.

17

NSS

NOT SOLD SEPARAT

SHIM, 0.003"

1шт.

17

NSS

NOT SOLD SEPARAT

SHIM, 0.005"

1шт.

17

NSS

NOT SOLD SEPARAT

SHIM. 0.010"

1шт.

17

NSS

NOT SOLD SEPARAT

SHIM, 0.015"

1шт.

17

NSS

NOT SOLD SEPARAT

SHIM, 0.020"

1шт.

17

NSS

NOT SOLD SEPARAT

SHIM, 0.030"

1шт.

18

530741R1

BEARING CUP

2-17/32" OD, Output Shaft

1шт.

19

400983R91

ROLLER BEARING,1.18775" ID x 2.5317" OD x 0.8478"

1-3/16" ID, Output Shaft

1шт.

20

92741C2

GASKET,0.38mm Thk

1шт.

21

NSS

NOT SOLD SEPARAT

BEARING, CUP, Trunnion

2шт.

22

NSS

NOT SOLD SEPARAT

BEARING, CONE, Trunnion

2шт.

142386C91

SHIM KIT

Incl Ref 23

1шт.

23

NSS

NOT SOLD SEPARAT

SHIM, 0.002"

6шт.

23

NSS

NOT SOLD SEPARAT

SHIM, 0.005"

4шт.

23

NSS

NOT SOLD SEPARAT

SHIM, 0.010"

4шт.

23

NSS

NOT SOLD SEPARAT

SHIM, 0.015"

4шт.

23

NSS

NOT SOLD SEPARAT

SHIM, 0.025"

4шт.

24

238-5234

O-RING,0.139" Thk x 2.984" ID, -234, Cl 5, 75 Duro

2шт.

25

NSS

NOT SOLD SEPARAT

MOTOR, Trunnion

2шт.

26

413-714

BOLT,Hex, 7/16" - 14 x 7/8", Gr 5

6шт.

27

218-5158

PLUG,Hex Hd, 1 1/16"-12 ORB

Incl Ref 28

1шт.

28

237-6012

O-RING,0.116" Thk x 0.924" ID, -912, Cl 6, 90 Duro

1шт.

29

278548

PLUG,Hex, 7/16"-20 ORB

Incl Ref 30

1шт.

30

237-6004

O-RING,0.072" Thk x 0.351" ID, -904, Cl 6, 90 Duro

1шт.

31

9672438

PLUG,7/16" - 20 ORB

Incl Ref 32

1шт.

32

237-6004

O-RING,0.072" Thk x 0.351" ID, -904, Cl 6, 90 Duro

1шт.

Выбрано товаров: 48