Запчасти Case IH 2588 (33.110.02) - HYDRAULICS - BRAKES, MASTER (33) - BRAKES & CONTROLS

Схема запчастей Case IH 2588 - (33.110.02) - HYDRAULICS - BRAKES, MASTER (33) - BRAKES & CONTROLS
36
15
3
34
43
26
16
25
17
37
9
11
38
5
18
31
38
22
12
27
6
30
14
24
20
25
1
23
42
22
29
17
27
33
4
19
23
39
34
29
28
8
21
5
7
10
2
33
18
13
32
40
32
41
13
39
FIT
1:1
100%

Артикул

Название

Примечание

Количество

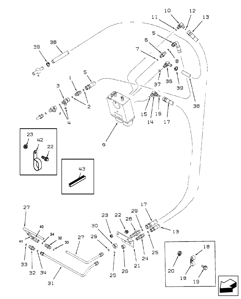
1

235705A1

VALVE

Incl Ref 2

1шт.

2

238-6014

O-RING,0.07" Thk x 0.489" ID, -14, Cl 6, 90 Duro

2шт.

3

201-416

TEE,13/16"-16 ORFS x 13/16"-16 Sw Run

Incl Ref 4, For Attaching Parts

1шт.

4

238-6014

O-RING,0.07" Thk x 0.489" ID, -14, Cl 6, 90 Duro

2шт.

5

237433A1

FLEXIBLE HOSE

2460 mm (96-7/8"), Master Brake Valve Supply

1шт.

6

201-126

HYD CONNECTOR,13/16"-16 ORFS x 9/16"-20 ORB

Incl Refs 7, 8

1шт.

7

237-6006

O-RING,0.078" Thk x 0.468" ID, -906, Cl 6, 90 Duro

1шт.

8

238-6014

O-RING,0.07" Thk x 0.489" ID, -14, Cl 6, 90 Duro

1шт.

9

137449A2

BRAKE VALVE

Master Control

1шт.

10

201-304

ELBOW,90 Degree Elbow, 11/16" - 16 Male ORFS x 9/16" - 18 Male ORB

Incl Refs 42, 43

1шт.

11

237-6006

O-RING,0.078" Thk x 0.468" ID, -906, Cl 6, 90 Duro

1шт.

12

238-6012

O-RING,0.07" Thk x 0.364" ID, -12, Cl 6, 90 Duro

1шт.

13

128059A2

FLEXIBLE HOSE

2440 mm (96-1/16"), Valve To LH Brake

1шт.

14

201-332

ELBOW,90 Degree Elbow, 13/16" - 16 Male ORFS x 9/16" - 18 Male ORB

Incl Refs 15, 16

1шт.

15

237-6006

O-RING,0.078" Thk x 0.468" ID, -906, Cl 6, 90 Duro

1шт.

16

238-6014

O-RING,0.07" Thk x 0.489" ID, -14, Cl 6, 90 Duro

1шт.

17

128057A2

FLEXIBLE HOSE

2290 mm (90-1/8"), Valve To RH Brake

1шт.

18

515-23317

CLAMP,31.75mm ID, 10.3mm Bolt Hole, P Type

2шт.

19

409-7616

BOLT,Hex Flg, 3/8" - 16 x 1", Spcl

1шт.

20

231-5146

FLANGE NUT,3/8"-16

1шт.

21

128540A1

SUPPORT

1шт.

22

409-7512

BOLT,Hex Flg, 5/16" - 18 x 3/4", Spcl

3шт.

23

231-5145

SERRATED NUT,Flg, USR, 5/16"-18

3шт.

24

201-120

HYD CONNECTOR,11/16"-16, Blkhd, ORFS

Incl Ref 25

1шт.

25

238-6012

O-RING,0.07" Thk x 0.364" ID, -12, Cl 6, 90 Duro

2шт.

26

201-909

BHD LOCK NUT,Blkhd, 11/16"-16

1шт.

27

277960A1

BRAKE LINE

Valve To LH, For Attaching Parts

1шт.

28

201-121

HYD CONNECTOR,13/16"-16, Blkhd, ORFS

Incl Ref 29

1шт.

29

238-6014

O-RING,0.07" Thk x 0.489" ID, -14, Cl 6, 90 Duro

2шт.

30

201-903

TUBE NUT,Blkhd, 13/16"-16

1шт.

31

128745A1

TUBE

RH Service Brake

1шт.

32

201-101

HYD CONNECTOR,11/16" - 16 Male ORFS x 9/16" - 18 Male ORB

Incl Refs 33, 34, At Brake Housing

2шт.

33

237-6006

O-RING,0.078" Thk x 0.468" ID, -906, Cl 6, 90 Duro

1шт.

34

238-6012

O-RING,0.07" Thk x 0.364" ID, -12, Cl 6, 90 Duro

1шт.

35

236388A1

BRAKE ASSY.

Master Brake (Not Shown)

2шт.

35

236388A1R

REMAN-BRAKE ASSY.

REMAN-BRAKE ASSY Remanufactured BRAKE ASSEMBLY, Wet Brakes

2шт.

35

236388A1C

CORE-BRAKE ASSY.

Return Number

2шт.

36

217-363

FITTING,90 Degree Elbow, 5/8" Hose Barb x 1-1/16" - 12 Male ORB

Incl Ref 37

1шт.

37

237-6012

O-RING,0.116" Thk x 0.924" ID, -912, Cl 6, 90 Duro

1шт.

38

237434A1

HOSE,15.88mm ID x 2180mm L

2180 mm, Brake Return To Valve, Cut From P/N S118576X

1шт.

39

214-1410

HOSE CLAMP,#10, 0.56" - 1.06", Type F Worm

2шт.

40

277963A1

FITTING

Incl Ref 41, Tow Check

1шт.

41

238-6012

O-RING,0.07" Thk x 0.364" ID, -12, Cl 6, 90 Duro

1шт.

42

470375C1

CLAMP,1", Insul, 3/8" Bolt

1шт.

43

1545944C1

SEAL

Trim, Cut 127 mm (5") From P/N S118576

1шт.

Выбрано товаров: 45