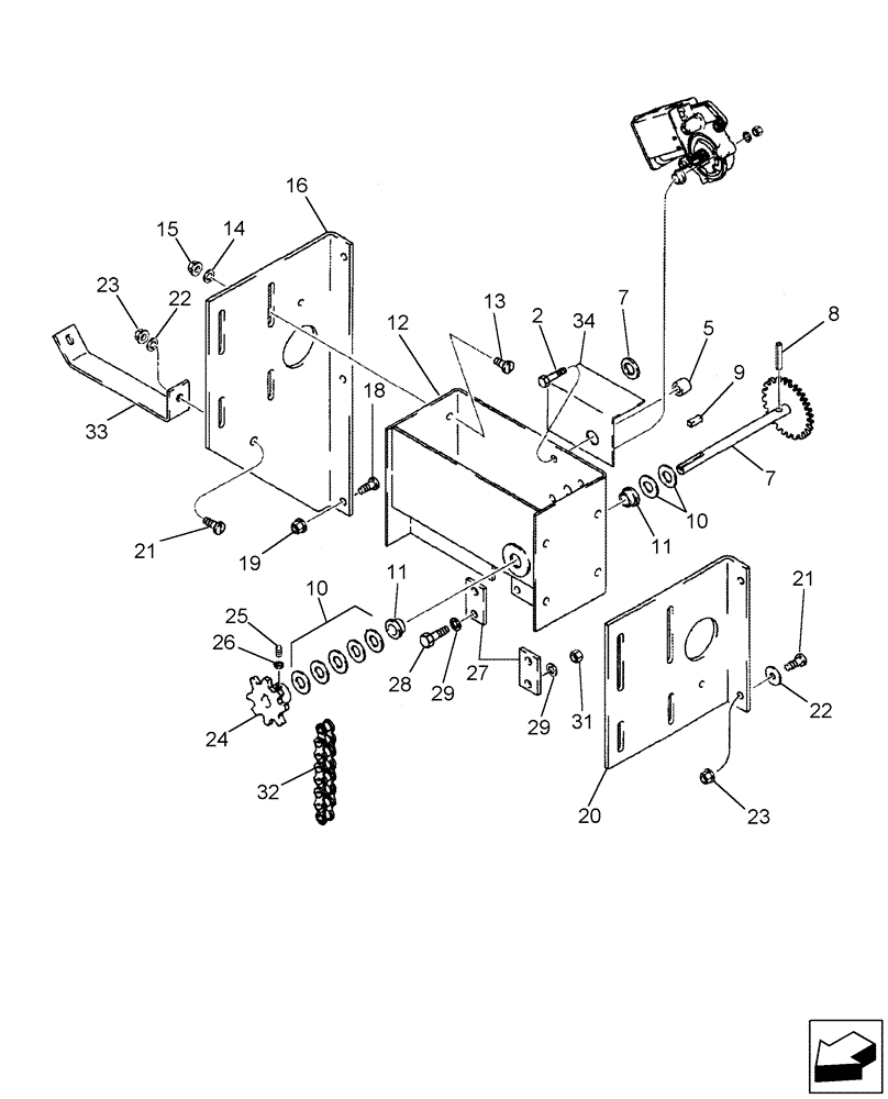
Запчасти Case IH 2588 (66.260.16) - ROTOR DRIVE - SPEED ADJUSTMENT (66) - THRESHING

Схема запчастей Case IH 2588 - (66.260.16) - ROTOR DRIVE - SPEED ADJUSTMENT (66) - THRESHING
34
32
19
21
15
24
28
26
29
8
18
21
12
27
7
5
11
29
14
22
9
10
25
22
13
23
7
23
31
33
20
10
11
2
16
FIT
1:1
100%

Артикул

Название

Примечание

Количество

1

111787A2

MOTOR, ELECTRIC

Variable Speed

1шт.

1

111787A2R

REMAN-ELECTRIC MOTOR

2588 ASN HAJ300001(10/06-)

1шт.

1

111787A2C

CORE-ELECTRIC MOTOR

Return Number

1шт.

2

413-432

BOLT,Hex, 1/4" - 20 x 2", Gr 5

2шт.

3

492-11025

LOCK WASHER,1/4"

4шт.

4

425-104

NUT,1/4"-20, Cl 5

2шт.

5

113485A1

SPACER

17 mm

2шт.

6

55825C1

BUSHING,8.03mm ID x 12.74mm OD x 9.65mm L

1шт.

7

194338C2

GEAR

Rotor Speed Adjustment, Serial Range: -HAJ303001

1шт.

7

87364294

GEAR

Rotor Speed Adjustment, Start Serial: HAJ303001

1шт.

8

38-11020

LOCK PIN,5/32" x 1 1/4", Slotted

1шт.

9

Q5024

KEY,3/16" Sq x 1", Par

1шт.

10

495-11066

WASHER,5/8", SAE

10шт.

11

55826C1

BUSHING,15.9mm ID x 20.7mm OD x 12.7mm L

2шт.

12

183227C2

SUPPORT

Motor Bracket, Serial Range: -HAJ303001

1шт.

12

87364290

SUPPORT ASSY.

Motor Bracket, Start Serial: HAJ303001

1шт.

13

409-7616

BOLT,Hex Flg, 3/8" - 16 x 1", Spcl

8шт.

14

495-81135

WASHER,10.31mm ID x 25.4mm OD x 3.4mm Thk

8шт.

15

231-5146

FLANGE NUT,3/8"-16

8шт.

16

188215C3

SUPPORT

LH

1шт.

18

477-73812

SERRATED SCREW,Truss HD, 3/8" - 16 x 3/4"

3шт.

19

231-5146

FLANGE NUT,3/8"-16

3шт.

20

194336C2

SUPPORT

RH

1шт.

21

477-73816

SERRATED SCREW,Sl Truss Hd, 3/8" x 1"

4шт.

22

495-81143

WASHER,13/32" x 1 1/2" x .120"

2шт.

23

231-5146

FLANGE NUT,3/8"-16

4шт.

24

194337C1

SPROCKET

8T

1шт.

25

485-12512

SET SCREW,Sq Hd, 1/4"-20 x 3/4"

2шт.

26

425-144

JAM NUT,Jam, 1/4"-20, G5

2шт.

27

1302173C1

PAD

2шт.

28

413-624

BOLT,Hex, 3/8" - 16 x 1-1/2", Gr 5

2шт.

29

495-11041

WASHER,0.406" ID x 0.812" OD x 0.065" W

4шт.

31

231-4116

NUT,3/8"-16, GB

2шт.

32

617107R91

CHAIN,34 Links x 25.4mm = 863.6mm

Drive, Use 2040 (31), 457113R91 (1), 457114R92 (2)

1шт.

33

188216C1

SUPPORT

LH

1шт.

34

199704A1

GUARD

1шт.

35

1545944C1

SEAL

Trim, 129 mm (5"), Cut From P/N 1330108CX (Not Shown)

1шт.

35

1327979C1

MOLDING

152 mm (6"), Cut From P/N 196707C1 (Not Shown)

1шт.

Выбрано товаров: 38