Запчасти Case IH 2588 (66.360.16) - AUGER BED (66) - THRESHING

Схема запчастей Case IH 2588 - (66.360.16) - AUGER BED (66) - THRESHING
33
4a
36
32
12
15
20
15
28
35
22
2
11
9
16
16
6
26
4
21
13
15
37
16
15
23
15
18
8
1
27
14
38
10
24
39
5
17
7
16
15
19
29
15
15
3
31
25
23
34
FIT
1:1
100%

Артикул

Название

Примечание

Количество

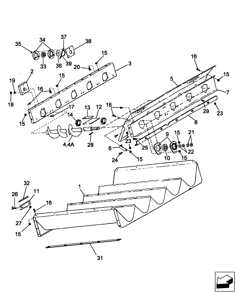
1

191645C6

TROUGH

1шт.

2

193414C2

BOARD

, Serial Range: -HAJ303001

5шт.

3

1345014C3

SUPPORT

Front

1шт.

4

249278A1

AUGER

RH Rotation, Serial Range: -HAJ303001

4шт.

4

87649711

AUGER

RH Rotation, Start Serial: HAJ303001

4шт.

4a

282955A1

AUGER

LH Rotation, Mounted In Left Most Position On The Auger Bed, Serial Range: -HAJ303001

1шт.

4a

87649712

AUGER

LH Rotation, Mounted In Left Most Position On The Auger Bed, Start Serial: HAJ303001

1шт.

5

1321372C2

SHEET

1шт.

6

193554C1

SUPPORT

2шт.

7

1309226C1

SUPPORT

1шт.

8

188360C1

STIFFENER

1шт.

9

86603075

FLANGE,Bearing, 52.01 mm ID x 95.3 mm OD x 8.7 mm

10шт.

10

195293C91

BALL BEARING,0.89" ID x 2.04" OD x 1"

5шт.

11

185068C1

COVER

Auger Trough Clean Out, Serial Range: -HAJ303001

5шт.

11

87378754

COVER

Auger Trough Clean Out, Start Serial: HAJ303001

5шт.

12

1302112C1

STRIP

1шт.

13

1302113C1

BAR

1шт.

14

214-1428

HOSE CLAMP,#28, 1.31" - 2.25", Type F Worm

2шт.

15

231-5145

SERRATED NUT,Flg, USR, 5/16"-18

1шт.

16

477-73112

SERRATED SCREW,Sl Truss Hd, 5/16" - 18 x 3/4"

1шт.

16

477-73108

SERRATED SCREW,Sl Truss Hd, 5/16" - 18 x 1/2"

4шт.

16

477-73116

SERRATED SCREW,Truss HD, 5/16" - 18 x 1"

4шт.

17

433-636

CARRIAGE BOLT,Sq Nk, 3/8" - 16 x 2 1/4", Gr 5

15шт.

18

231-4116

NUT,3/8"-16, GB

15шт.

19

495-11041

WASHER,0.406" ID x 0.812" OD x 0.065" W

15шт.

20

477-73112

SERRATED SCREW,Sl Truss Hd, 5/16" - 18 x 3/4"

4шт.

21

495-81191

WASHER,1 5/32" x 2" x .060"

Standard Wear

10шт.

21

495-81211

WASHER,34.14mm ID x 50.8mm OD x 3.4mm Thk

Extended Wear

10шт.

22

495-11106

WASHER,1", SAE

10шт.

23

231-5146

FLANGE NUT,3/8"-16

1шт.

24

477-73812

SERRATED SCREW,Truss HD, 3/8" - 16 x 3/4"

4шт.

25

477-73116

SERRATED SCREW,Truss HD, 5/16" - 18 x 1"

19шт.

26

166667C1

THUMB SCREW,1/4" - 20 x 0.62"

10шт.

27

564791R1

SPRING NUT

1/4"

10шт.

28

38-12032

LOCK PIN,5/16" x 2", Slotted

5шт.

29

409-7616

BOLT,Hex Flg, 3/8" - 16 x 1", Spcl

2шт.

30

492-11038

LOCK WASHER,3/8"

15шт.

31

87313058

STRAP

Auger Trough Backing

2шт.

32

1327979C1

MOLDING

, Start Serial: HAJ303001

2шт.

33

380301A1

BEARING, BALL,22.25mm Hex x 52mm OD x 28mm W

Auger Shaft, Lower, Start Serial: HAJ303001

5шт.

34

380288A1

FLANGED BEARING

Auger Bed Bearing, Start Serial: HAJ303001

10шт.

35

131-415

JAM NUT,Push, Bolt Retainer, 3/8" x 25/32"

, Start Serial: HAJ303001

1шт.

36

87643385

COVER

Auger Bed, Start Serial: HAJ303001

5шт.

37

384257A1

SPACER,13.87mm ID x 21.34mm OD x 28.6mm L

, Start Serial: HAJ303001

15шт.

38

87649714

COVER ASSY

Auger Bed, Start Serial: HAJ303001

5шт.

39

306132C1

CABLE TIE,14.5" L

CABLE STRAP

5шт.

Выбрано товаров: 46