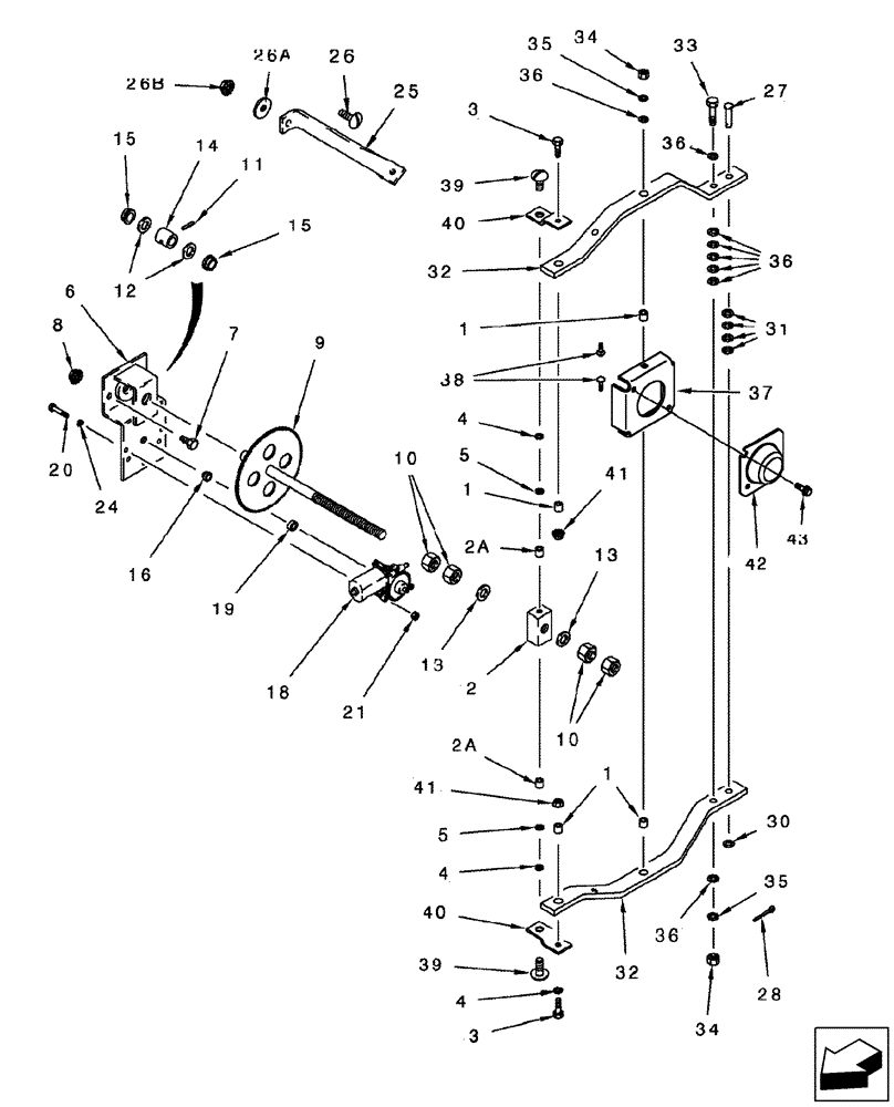
Запчасти Case IH 2588 (74.136.02) - CLEANING FAN - DRIVE SPEED CONTROL (74) - CLEANING

Схема запчастей Case IH 2588 - (74.136.02) - CLEANING FAN - DRIVE SPEED CONTROL (74) - CLEANING
20
36
26b
3
10
25
41
40
30
1
6
33
5
28
27
9
13
15
24
26a
32
1
3
31
2a
21
2
36
5
32
39
2a
10
15
1
39
13
43
14
34
19
35
8
38
7
16
4
40
4
41
26
4
18
42
12
36
35
34
37
36
11
FIT
1:1
100%

Артикул

Название

Примечание

Количество

1

87035448

SPACER,8.48mm ID x 12.7mm OD x 12.7mm L

4шт.

2

181206C1

BLOCK

1шт.

2a

183916A1

SPACER

1/2" x 3/16"

2шт.

3

477-73116

SERRATED SCREW,Truss HD, 5/16" - 18 x 1"

2шт.

4

492-11031

LOCK WASHER,5/16"

4шт.

5

495-11034

WASHER,5/16", SAE

4шт.

6

181199C2

SUPPORT

, Serial Range: -HAJ303001

1шт.

6

87647064

SUPPORT ASSY.

, Start Serial: HAJ303001

1шт.

7

413-612

BOLT,Hex, 3/8" - 16 x 3/4", Gr 5

2шт.

8

231-5146

FLANGE NUT,3/8"-16

2шт.

9

142848A1

GEAR

1шт.

10

425-1010

NUT,5/8"-11, G5

, Serial Range: -HAJ303001

4шт.

10

425-1010

NUT,5/8"-11, G5

, Start Serial: HAJ303001

2шт.

10

86521608

FLANGE NUT,Flg, 5/8"-11, G5

, Start Serial: HAJ303001

2шт.

11

38-11216

LOCK PIN,3/16" x 1", Slotted

1шт.

12

495-81177

WASHER,21/32" x 1" x .030"

2шт.

13

1302054C1

WASHER,15.95mm ID x 25.4mm OD x 1.52mm Thk

, Serial Range: -HAJ303001

2шт.

13

87652042

WASHER,16.36mm ID x 28.5mm OD x 5.5mm Thk

, Start Serial: HAJ303001

2шт.

14

181205C1

SPACER

, Serial Range: -HAJ303001

1шт.

14

87647066

SPACER,16.26mm ID x 25.4mm OD x 28mm L

, Start Serial: HAJ303001

1шт.

15

55826C1

BUSHING,15.9mm ID x 20.7mm OD x 12.7mm L

2шт.

16

55825C1

BUSHING,8.03mm ID x 12.74mm OD x 9.65mm L

1шт.

18

111787A2

MOTOR, ELECTRIC

1шт.

18

111787A2R

REMAN-ELECTRIC MOTOR

2588 ASN HAJ300001(10/06-)

1шт.

18

111787A2C

CORE-ELECTRIC MOTOR

Return Number

1шт.

19

113485A1

SPACER

17 mm

2шт.

20

413-432

BOLT,Hex, 1/4" - 20 x 2", Gr 5

2шт.

21

425-104

NUT,1/4"-20, Cl 5

2шт.

24

492-11025

LOCK WASHER,1/4"

2шт.

25

186283C2

SUPPORT

Fan Drive Control, Serial Range: -HAJ303001

1шт.

25

87647071

PLATE ASSY.

Fan Drive Control, Start Serial: HAJ303001

1шт.

26

477-73820

SERRATED SCREW,Truss HD, 3/8" - 16 x 1-1/4"

1шт.

26a

495-81143

WASHER,13/32" x 1 1/2" x .120"

1шт.

26b

231-5146

FLANGE NUT,3/8"-16

1шт.

27

439-1624

HEADED PIN,3/8" x 1 1/2"

1шт.

28

432-812

COTTER PIN,3/4" OAL x 1/8" W

1шт.

30

495-11041

WASHER,0.406" ID x 0.812" OD x 0.065" W

1шт.

31

495-81142

WASHER,0.41" ID x 1.5" OD x 0.06" Thk

1шт.

32

194850C2

SUPPORT

Fan Control, Serial Range: -HAJ303001

2шт.

32

87647079

COVER ASSY

Fan Control, Start Serial: HAJ303001

2шт.

33

413-532

BOLT,Hex, 5/16" - 18 x 2", Gr 5

1шт.

34

425-105

NUT,5/16"-18, G5

3шт.

35

492-11031

LOCK WASHER,5/16"

3шт.

36

495-11034

WASHER,5/16", SAE

10шт.

37

194852C3

SUPPORT

Fan Driver, Serial Range: -HAJ303001

1шт.

37

87647073

BRACKET

Fan Driver, Start Serial: HAJ303001

1шт.

38

412-520

CARRIAGE BOLT,Short Sq Nk, 5/16" - 18 x 1 1/4", Gr 2

2шт.

39

413-512

BOLT,Hex, 5/16" - 18 x 3/4", Gr 5

2шт.

40

142853A2

SUPPORT

2шт.

41

231-5145

SERRATED NUT,Flg, USR, 5/16"-18

2шт.

42

86990344

COVER

Fan Drive Bearing, Serial Range: -HAJ303001

1шт.

42

87647075

COVER ASSY

Fan Drive Bearing, Start Serial: HAJ303001

1шт.

43

281-24812

SELF-TAP SCREW,Hex Wash Hd, 5/16" x 3/4"

2шт.

Выбрано товаров: 53