Запчасти Case IH 2588 (90.150.01) - CAB - FRAME AND WINDSHIELD (90) - PLATFORM, CAB, BODYWORK AND DECALS

Схема запчастей Case IH 2588 - (90.150.01) - CAB - FRAME AND WINDSHIELD (90) - PLATFORM, CAB, BODYWORK AND DECALS
19
10
8
39
7
36
15
14
10
5
2
32
33
11
20
18
38
90.108.01
29.200.01
50.200.15
90.108.01
28
22
16
36
30
13
21
32
27
35
14
24
12
26
26
26
6
26a
26b
26
9
34
20a
26b
4
13a
3
8
37
25
23
31
FIT
1:1
100%

Артикул

Название

Примечание

Количество

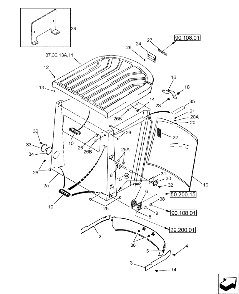
1

387393A1

CAB

ROPS

1шт.

1

120140A2

COVER

Cab, Front

1шт.

2

139597A2

COVER

Cab, LH

1шт.

3

139598A3

COVER

Cab, RH

1шт.

4

260-16516

SELF-TAP SCREW,Cross Pan Hd, #10 x 1"

6шт.

5

60-6708T1

NUT

4шт.

6

275196A2

PLATE

Incl Refs 9, 38

1шт.

Power Positive Cable Connector Kit, P/N 311906A1, Mounts Behind Refs 6 and 7

1шт.

7

275195A2

GASKET

1шт.

8

191216A1

SELF-TAP SCREW,Hex Wash Hd, #10-24 x 5/8"

8шт.

9

282857A1

DECAL

Connector Cover

1шт.

10

137293A1

PLUG

4шт.

11

122819A2

ROOF

Incl Refs 12, 13

1шт.

12

614-8040

BOLT,Hex, M8 x 1.25 x 40mm, Cl 8.8, Full Thd

4шт.

13

230484A1

NUT

M8 - 1.25

4шт.

13a

131-648

SPRING NUT,Tinn, U, #10-24

16шт.

14

191216A1

SELF-TAP SCREW,Hex Wash Hd, #10-24 x 5/8"

7шт.

15

353-593

PLUG

2-1/2" ID

4шт.

16

141758A3

COVER

1шт.

17

1987144C1

DECAL

Axial-Flow (Not Shown)

1шт.

18

413-416

BOLT,Hex, 1/4" - 20 x 1", Gr 5

3шт.

19

116809A5

WINDSHIELD

1шт.

20

117707A3

CLAMP

4шт.

20a

495-11041

WASHER,0.406" ID x 0.812" OD x 0.065" W

6шт.

21

825-5148

SERRATED NUT,M8, Flg Ser

4шт.

21

829-1408

NUT,Hex, M8 x 1.25, Cl 10.9

4шт.

22

97268C1

SPACER

25шт.

23

425-104

NUT,1/4"-20, Cl 5

3шт.

24

232846A2

COVER

1шт.

25

87597470

CAB

Frame Assy

1шт.

26

353-402

PLUG,Dome, .375" hole, Nylon

Exterior Trim

10шт.

26a

353-400

PLUG,Dome, .250" hole, Nylon

Cab Exterior

2-4шт.

26b

353-411

PLUG,Dome, 1.000" hole, Nylon

Antenna Hole

2шт.

27

87557775

EMBLEM

Case IH Logo, Serial Range: -HAJ305422

1шт.

27

87716230

EMBLEM

Case IH Logo, Start Serial: HAJ305422

1шт.

28

131-431

PUSH-ON NUT,Self, Threading, 1/4"

2шт.

30

246752A1

PLATE

RH, For Attaching Parts

1шт.

31

247058A1

GASKET,5mm Thk

1шт.

32

191216A1

SELF-TAP SCREW,Hex Wash Hd, #10-24 x 5/8"

4шт.

33

246753A1

PLATE

LH

1шт.

34

252676A1

GASKET,5mm Thk

1шт.

35

251548A1

TAPE

63.5 mm (2-1/2"), Cut From P/N 251550A1

3шт.

35

251549A1

TAPE

160 mm (6-1/4"), Cut From P/N 251550A1

1шт.

36

825-5148

SERRATED NUT,M8, Flg Ser

6шт.

37

495-81135

WASHER,10.31mm ID x 25.4mm OD x 3.4mm Thk

2шт.

38

282855A1

DECAL

Connector Cover

3шт.

39

320451A1

BRACKET

Display Mounting

1шт.

Выбрано товаров: 47