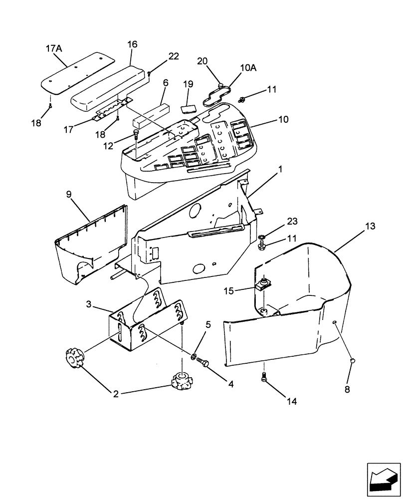
Запчасти Case IH 2588 (90.160.07) - CAB - CONSOLE, RIGHT HAND (90) - PLATFORM, CAB, BODYWORK AND DECALS

Схема запчастей Case IH 2588 - (90.160.07) - CAB - CONSOLE, RIGHT HAND (90) - PLATFORM, CAB, BODYWORK AND DECALS
20
10a
8
18
10
9
5
18
22
2
23
17
6
11
1
19
11
14
16
17a
3
12
4
15
13
FIT
1:1
100%

Артикул

Название

Примечание

Количество

1

345286A1

FRAME ASSY

1шт.

2

118781A1

KNOB

3шт.

3

117107A2

SUPPORT

1шт.

4

827-8040

BOLT,Hex, M8 x 1.25 x 40mm, Cl 10.9

4шт.

5

895-15008

WASHER,9mm ID x 20mm OD x 1.6mm Thk

4шт.

6

251495A1

FOAM

No Longer Used

1шт.

7

282056A1

PLUG

If Used (Not Shown)

1шт.

Without Accumulator

1шт.

8

353-411

PLUG,Dome, 1.000" hole, Nylon

1шт.

9

130412A1

COVER

Rear

1шт.

10

87541851

COVER ASSY

RH, Incl Ref 10A, Incl Decals

1шт.

10a

128833A2

GUIDE

1шт.

11

841-4410

SCREW,HWH, M4 x 10mm, Cl 4.8

2шт.

12

614-6030

BOLT,Hex, M6 x 1 x 30mm, Cl 8.8, Full Thd

1шт.

13

118321A2

SKIRT

Front

1шт.

14

440-1106

SCREW,Cross Pan Hd, #10-24 x 3/8"

4шт.

15

131-861

SPRING NUT,Tinn, U, #10-24

4шт.

128970A3

ARMREST

Incl Refs 16 - 18

1шт.

16

NSS

NOT SOLD SEPARAT

SUPPORT

1шт.

17

128849A2

HINGE

1шт.

17a

185546A1

PLATE

1шт.

18

185544A1

SCREW

5шт.

19

245918C1

LENS

Blanking Rocker Switch Opening

1шт.

20

353-402

PLUG,Dome, .375" hole, Nylon

Switch Opening

1шт.

22

841-4410

SCREW,HWH, M4 x 10mm, Cl 4.8

2шт.

23

493-81000

LOCK WASHER,Ext-Int Tooth, #10

2шт.

Выбрано товаров: 26