Запчасти Case IH 2588 (10.102.01) - OIL PUMP, PAN - OIL PAN HEATER KIT (10) - ENGINE

Схема запчастей Case IH 2588 - (10.102.01) - OIL PUMP, PAN - OIL PAN HEATER KIT (10) - ENGINE
8
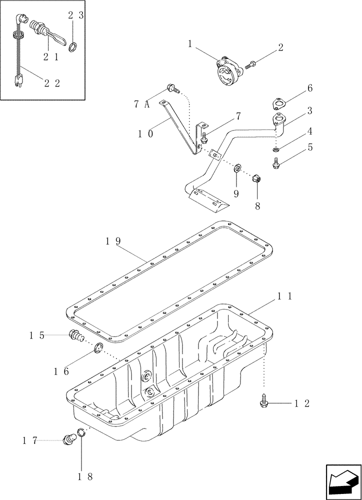
7a
12
22
2
10
5
1
21
7
11
17
9
15
23
6
18
3
19
16
4
FIT
1:1
100%

Артикул

Название

Примечание

Количество

1

J991123

ENGINE OIL PUMP

1шт.

JR991123

REMAN-ENG OIL PUMP

REMAN-ENGINE OIL PUMP Remanufactured Oil Pump; For N.A. only

1шт.

JC991123

CORE-ENGINE OIL PUMP

CORE-ENGINE OIL PUMP Return number - For N.A. only

1шт.

2

J900677

BOLT,Hex

M8 x 30

4шт.

3

J921719

TUBE

1шт.

4

J926865

SPACER,6.9mm ID x 12.7mm OD x 14mm L

2шт.

5

845-6030

BOLT,Hvy Hex, M6 x 30mm, Cl 8.8

2шт.

6

87447959

GASKET,1.2mm Thk

1шт.

7

845-6015

BOLT,Hvy Hex, M6 x 15mm, Cl 8.8

2шт.

7a

845-6020

BOLT,Hvy Hex, M6 x 20mm, Cl 8.8

1шт.

8

825-2406

FLANGE NUT,M6 x 1, Cl 8.8

1шт.

9

J910960

WASHER

1шт.

10

J927611

BRACKET

1шт.

11

87351053

ENGINE OIL PAN

1шт.

12

J907860

FLANGE BOLT,Hex, M8 x 25mm, Spcl

32шт.

15

J924148

PLUG,M22 x 1.5

M22

1шт.

16

J902425

SEALING WASHER,22.2mm ID x 26.9mm OD x 1.75mm Thk

1шт.

17

J924147

PLUG,M18 x 1.5

M18

1шт.

18

J920773

SEALING WASHER

1шт.

19

87308050

GASKET,0.95mm Thk

Pan

1шт.

A77580

SERVICE KIT

120V HEATER, Incl 21, 22, Also Order P/N J902425, Ref 16

1шт.

21

NSS

NOT SOLD SEPARAT

ELEMENT

1шт.

22

196466A1

ELECTRIC CABLE

1829 mm (72")

1шт.

A77666

SERVICE KIT

240V HEATER, Incl 21, 22, Also Order P/N J902425, Ref 16

1шт.

21

NSS

NOT SOLD SEPARAT

ELEMENT

1шт.

22

J905114

ELECTRIC CABLE

1829 mm (72")

1шт.

Выбрано товаров: 26