Запчасти Case IH 2588 (10.206.01) - FUEL FILTER, ENGINE (10) - ENGINE

Схема запчастей Case IH 2588 - (10.206.01) - FUEL FILTER, ENGINE (10) - ENGINE
6
3
11
4
2
9
15
5
18
1
19
8
14
20
17
13
16
12
10
7
FIT
1:1
100%

Артикул

Название

Примечание

Количество

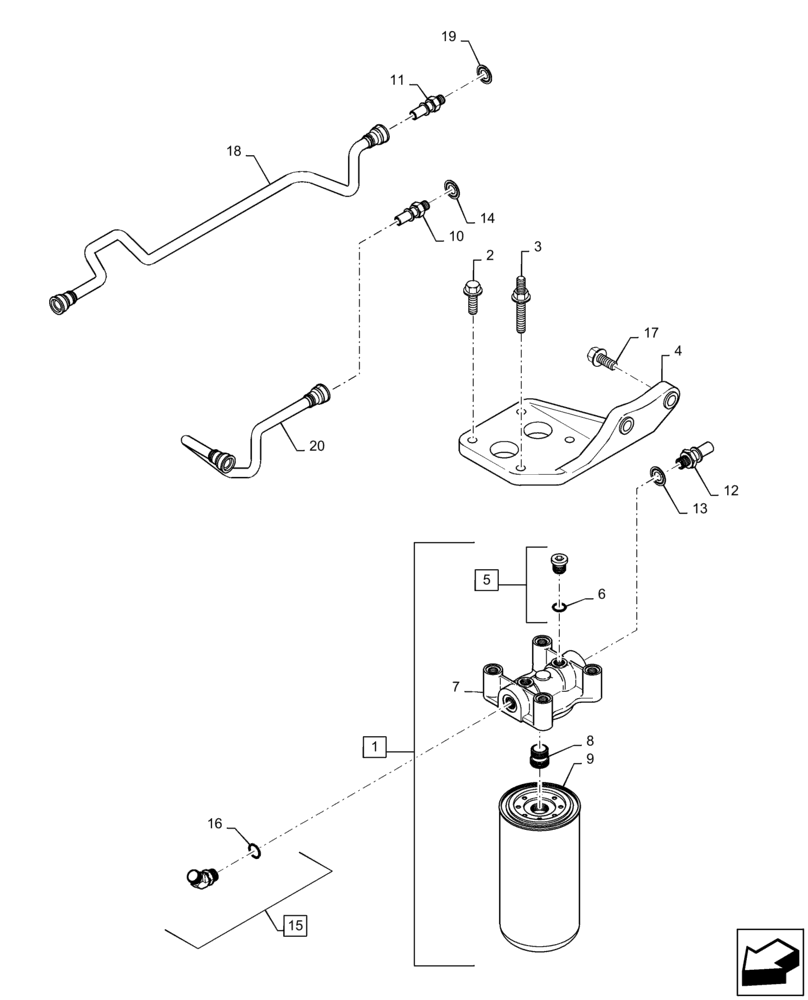
1

87349746

FILTER ASSY

Incl Refs 5 - 9

1шт.

2

87349737

BOLT

76.9mm OAL

2шт.

3

845-8030

BOLT,Hvy Hex, M8 x 30mm, Cl 8.8

2шт.

4

87349731

SUPPORT

Filter

1шт.

5

J678923

PLUG,M10 x 1

10 mm, Incl 6

2шт.

6

637-72081

O-RING,1.6mm Thk x 8.1mm ID, Cl 7, 75 Duro

1шт.

7

87349758

FILTER HEAD

Fuel

1шт.

8

87349753

ADAPTER

1/2" ID

1шт.

9

87360565

FUEL FILTER

Element

1шт.

10

87351059

ADAPTER

M12 x 1.5 x 65mm OAL

1шт.

11

87351058

ADAPTER

M14 x 1.5 x 65mm OAL

1шт.

12

87349484

ADAPTER

53mm OAL

1шт.

13

87417767

SEALING WASHER,13.67mm ID x 22.35mm OD x 1.27mm Thk

22.35mm OD

1шт.

14

87346600

SEALING WASHER,11.71mm ID x 19.3mm OD x 1.27mm Thk

12mm

1шт.

15

311214A1

ADAPTER

Incl Ref 11

1шт.

16

237-8010

O-RING,0.097" Thk x 0.755" ID, -910, Cl 8, 90 Duro

1шт.

17

87349727

BOLT

Hex Flange

2шт.

18

87341277

FUEL TUBE

Lower Supply

1шт.

19

87417767

SEALING WASHER,13.67mm ID x 22.35mm OD x 1.27mm Thk

14mm

1шт.

20

87351057

FUEL TUBE,0.63" OD

Upper Supply

1шт.

Выбрано товаров: 20