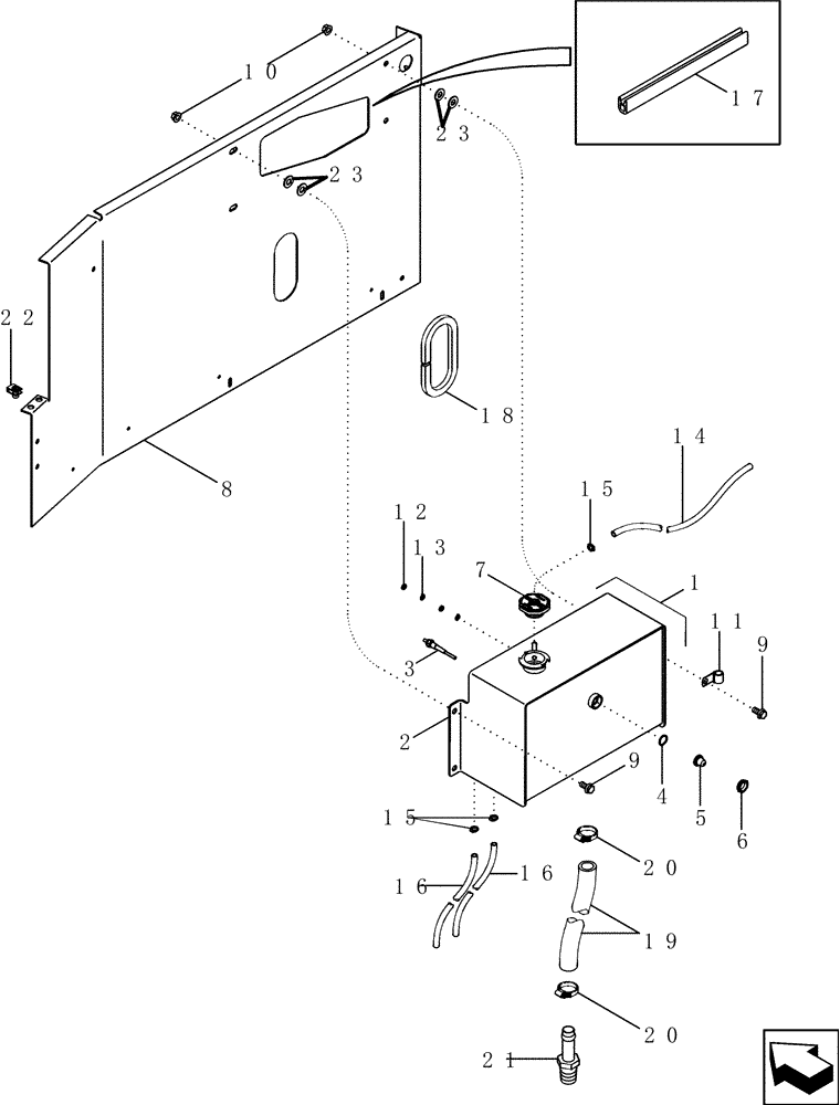
Запчасти Case IH 2588 (10.406.01) - DEAERATION SYSTEM (10) - ENGINE

Схема запчастей Case IH 2588 - (10.406.01) - DEAERATION SYSTEM (10) - ENGINE
16
12
22
21
3
15
1
15
11
2
23
17
14
18
9
16
10
23
9
20
19
6
8
5
7
20
13
4
FIT
1:1
100%

Артикул

Название

Примечание

Количество

1

NSS

NOT SOLD SEPARAT

Deaeration Assy, Incl Refs 2 - 7,Order 87640724

1шт.

2

87403850

TANK

Deaeration

1шт.

3

279476A1

SENSOR

Coolant Probe

1шт.

4

238-6115

O-RING,0.103" Thk x 0.674" ID, -115, Cl 6, 90 Duro

1шт.

5

86990536

LENS

Sight

1шт.

6

86990537

NUT,15/16"

Lens Retainer

1шт.

7

87109814

FILLER CAP

Deaeration Tank

1шт.

8

87529011

BRACKET

Rear

1шт.

8

87306892

SHEET

W/Rivet Nuts

1шт.

9

409-7616

BOLT,Hex Flg, 3/8" - 16 x 1", Spcl

4шт.

10

231-5146

FLANGE NUT,3/8"-16

4шт.

11

516-23127

CLAMP,9/16", Insul, 3/8" Bolt

1шт.

12

225-14210

NUT,#10-32

2шт.

13

492-11010

LOCK WASHER,#10

2шт.

14

87408617

HOSE,7.92mm ID x 4850mm L

Cut From 86989959

1шт.

15

214-1704

HOSE CLAMP,#04, 0.25" - 0.62", Type M Worm

5шт.

16

87308562

HOSE,7.87mm ID x 960mm L

Deaeration, Cut 960 mm (37.80") from Bulk Hose P/N 86989959

2шт.

17

87029779

SEAL

Cut 287 mm (11-1/3") From P/N 196707C1

2шт.

18

87063C3

SEAL

Cut 406 mm (16") From P/N 196707C1

1шт.

19

NS

NOT SERVICED

HOSE, Deareation Supply, Cut 1005 mm (39.6") from Bulk Hose P/N B90928

1шт.

20

214-1516

HOSE CLAMP,#16, 0.81" - 1.5", Type F Worm, W/ Liner

2шт.

21

217-375

FITTING,1" Hose Barb x 3/4" Male NPTF

1шт.

22

488837C1

SPRING NUT

Speed, 5/16"

2шт.

23

87613214

WASHER,0.41" ID x 1" OD x 0.18" Thk

8шт.

Выбрано товаров: 24