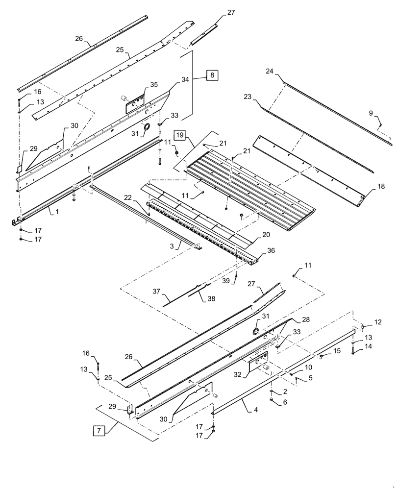
Запчасти Case IH 5088 (74.114.AZ[01]) - UPPER SIEVE FRAME (74) - CLEANING

Схема запчастей Case IH 5088 - (74.114.AZ[01]) - UPPER SIEVE FRAME (74) - CLEANING
6
11
20
33
33
28
26
18
17
10
21
34
19
17
39
32
3
12
15
30
7
27
29
11
30
13
25
4
31
31
22
29
27
17
1
13
35
21
23
2
8
16
13
17
25
36
13
9
16
26
11
24
14
37
5
38
FIT
1:1
100%

Артикул

Название

Примечание

Количество

1

84127484

ANGLE

Upper Sieve, LH

1шт.

2

495-81116

WASHER,8.74mm ID x 25.4mm OD x 1.7mm Thk

2шт.

3

87379127

ANGLE BAR

Pipe, Chaffer Spacer

1шт.

4

84127486

ANGLE

Upper Sieve, RH

1шт.

5

374897

SCREW,Phil Flat Hd, M8 x 1.25 x 25mm, Cl 4.8

2шт.

6

825-5148

SERRATED NUT,M8, Flg Ser

2шт.

7

84169439

RAIL

Upper Sieve, RH, Incl 28 - 33

1шт.

8

84169374

RAIL

Upper Sieve, LH, Incl 29 -31, 33 - 35

1шт.

9

86625199

SELF-TAP SCREW,Hex, M6 x 1 x 13mm

, Serial Range: -YAG004027

26шт.

9

445395

RIVET,Pop, 4.8mm OD x 18.1mm L

, Start Serial: YAG004028

26шт.

10

87656137

BOLT,Flange Hex, M8 x 20mm, Cl 10.9

8шт.

11

86507066

FLANGE NUT,M8 x 1.25, Cl 10

24шт.

12

645342C1

SPACER,10.34mm ID x 15.87mm OD x 25.4mm L

2шт.

13

85700654

WASHER,10.5mm ID x 20mm OD x 2.5mm Thk

4шт.

14

857-10070

BOLT,Hvy Hex, M10 x 70mm, Cl 10.9

2шт.

15

86512554

NUT,M10 x 1.5, Cl 10

2шт.

16

863-10075

HEX SOC SCREW,M10 x 75mm, 12.9

2шт.

17

87564742

NUT

M10

4шт.

18

87379129

SUPPORT

Chaffer Frame

1шт.

19

87745690

PAN,Assembly, Grain

Incl 21

1шт.

20

1994858C1

COVER

Sieve Finger

1шт.

21

87681207

BOLT,M8 x 24.1mm, Cl 10.9

18шт.

22

87020310

CARRIAGE BOLT,M8 x 1.25 x 20.8mm, Cl 10.9

4шт.

23

192049C1

SEALING STRIP

Chaffer Front

1шт.

24

87387066

CLAMP

Front Chaffer Seal

1шт.

25

1325331C1

SEALING STRIP

Chaffer Frame

2шт.

26

87379123

CLAMP

Chaffer Rail Seal

2шт.

27

87387119

CLAMP

Chaffer External Seal

2шт.

28

1979525C1

RAIL ASSY.

Chaffer Frame, RH

1шт.

29

1979060C1

ANGLE

Support

2шт.

30

1970517C1

SUPPORT

Chaffer Rail

2шт.

31

1979492C1

WASHER

Chaffer Rail

2шт.

32

1979523C2

PLATE

Chaffer Rail, RH

1шт.

33

186643C1

BLOCK

Chaffer Rail Front

2шт.

34

1979524C1

RAIL ASSY.

Chaffer Frame, LH

1шт.

35

1979522C2

PLATE

Chaffer Rail, LH

1шт.

36

87725972

CHANNEL

Pan Support

1шт.

37

1312476C1

FINGER,Formed, 1 Prong, 495.5mm L

Grain Pan

27шт.

38

175114C1

FINGER,Formed, 1 Prong, 264mm L

Grain Pan

27шт.

39

87020310

CARRIAGE BOLT,M8 x 1.25 x 20.8mm, Cl 10.9

4шт.

Выбрано товаров: 40