Запчасти Case IH 5088 (74.140.AK[03]) - TAILINGS ELEVATOR BOOT (74) - CLEANING

Схема запчастей Case IH 5088 - (74.140.AK[03]) - TAILINGS ELEVATOR BOOT (74) - CLEANING
5
1
9
4
3
6
7
8
2
6
FIT
1:1
100%

Артикул

Название

Примечание

Количество

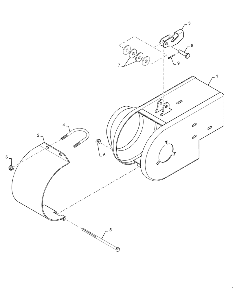
1

87622542

BOOT

Tailings Elevator

1шт.

2

87622926

DOOR

Elevator Boot

1шт.

3

86581559

HANDLE

Boot Latch

1шт.

4

84989315

U-BOLT,M8 x 1.25 x 26mm Threaded x 63.5mm W x 90.4mm OAL

1шт.

5

16046531

SCREW,Hex, M8 x 1.25 x 170mm, Cl 10.9

1шт.

6

87681210

FLANGE NUT,M8 x 1.25, Cl 10

3шт.

7

140042

WASHER,11mm ID x 34mm OD x 3mm Thk

4шт.

8

9507095

CLEVIS PIN,10mm OD x 40mm L

1шт.

9

280251

COTTER PIN,3/32" OD x 1" OAL

1шт.

Выбрано товаров: 9