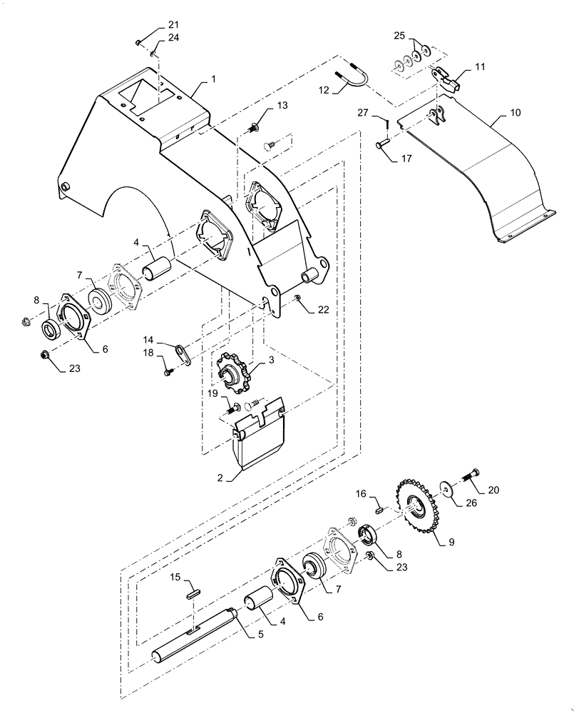
Запчасти Case IH 5088 (80.101.AR[01]) - CLEAN GRAIN ELEVATOR HEAD (80) - CROP STORAGE/UNLOADING

Схема запчастей Case IH 5088 - (80.101.AR[01]) - CLEAN GRAIN ELEVATOR HEAD (80) - CROP STORAGE/UNLOADING
19
5
6
1
25
2
24
4
3
4
20
12
13
8
18
27
7
16
10
22
9
21
23
7
26
8
23
17
11
14
6
15
FIT
1:1
100%

Артикул

Название

Примечание

Количество

1

84258176

FRAME

Elevator Head

1шт.

2

84202836

DIVIDER

Crop

1шт.

3

87324981

SPROCKET,9T

Auger

1шт.

4

87337958

SPACER,38.35mm ID x 44.45mm OD x 76mm L

Shaft

2шт.

5

87384187

SHAFT

Elevator Head

1шт.

6

1307583C1

FLANGED BEARING

80mm, 4 Bolt

4шт.

7

52443

BALL BEARING,38.1mm ID x 79.99mm OD x 22mm W

2шт.

8

87313329

COLLAR

Sprocket

2шт.

9

84163939

SPROCKET ASSY.,27 Teeth

Driven

1шт.

9

87394289

SPROCKET ASSY.,32 Teeth

Driven, For #50 Chain

1шт.

10

87727685

DOOR ASSY.

Access

1шт.

11

86581559

HANDLE

Door

1шт.

12

84989315

U-BOLT,M8 x 1.25 x 26mm Threaded x 63.5mm W x 90.4mm OAL

1шт.

13

328754

CARRIAGE BOLT,M12 x 1.75 x 40mm, Cl 8.8

2шт.

14

84134664

BRACKET

Compression Column Lock

1шт.

15

170056

KEY,12mm W x 50mm OAL

1шт.

16

368317

KEY,10mm x 8mm x 25mm

1шт.

17

9507095

CLEVIS PIN,10mm OD x 40mm L

1шт.

18

87656137

BOLT,Flange Hex, M8 x 20mm, Cl 10.9

1шт.

19

374895

CARRIAGE BOLT,M12 x 1.75 x 25mm, Cl 8.8

6шт.

20

337476

BOLT,Hex, M12 x 1.75 x 50mm, Cl 10.9

1шт.

21

86629542

NUT,M8 x 1.25, Cl 8.8

2шт.

22

86507066

FLANGE NUT,M8 x 1.25, Cl 10

1шт.

23

86512497

FLANGE NUT,M12 x 1.75, Cl 10

8шт.

24

322358

BELLEVILLE WASHER,M8 Bolt Size x 18mm OD x 1.4mm Thk

2шт.

25

12644301

WASHER,M10 x 35 x 3

4шт.

26

496-81018

WASHER,0.521" ID x 2" OD x 0.108 Thk, ZND

1шт.

27

280251

COTTER PIN,3/32" OD x 1" OAL

1шт.

Выбрано товаров: 28