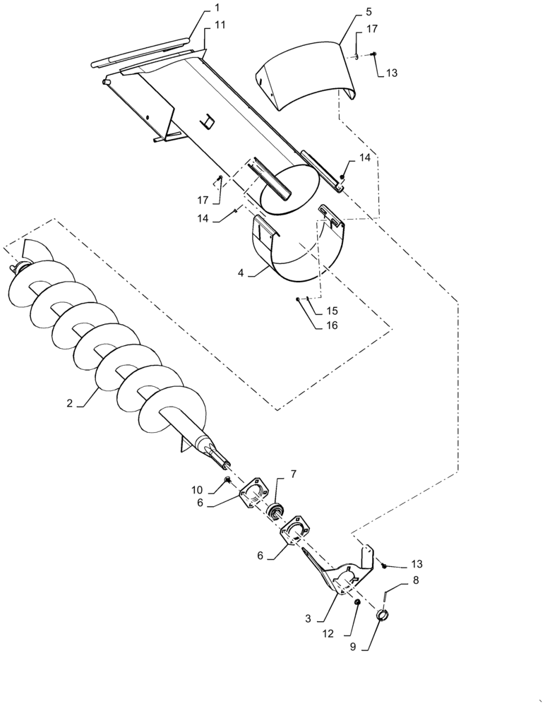
Запчасти Case IH 5130 (80.101.BK[01]) - VAR 722630 - BUBBLE-UP AUGER, ASSY STANDARD (80) - CROP STORAGE/UNLOADING

Схема запчастей Case IH 5130 - (80.101.BK[01]) - VAR 722630 - BUBBLE-UP AUGER, ASSY STANDARD (80) - CROP STORAGE/UNLOADING
13
5
13
6
14
10
4
6
14
12
16
9
11
14
15
17
14
7
2
8
17
1
3
FIT
1:1
100%

Артикул

Название

Примечание

Количество

1

87676889

RUBBER SEAL,995mm L

Bulb Seal, Bubbler Auger

1шт.

2

84577410

AUGER

Bubbler

1шт.

3

87563887

SUPPORT

Bubbler Auger Bearing

1шт.

4

84138953

DEFLECTOR

Bubbler Auger

1шт.

5

84138950

DEFLECTOR

Bubbler Auger

1шт.

6

1307583C1

FLANGED BEARING

80mm, 4 Bolt

2шт.

7

694444

BALL BEARING,34.95mm Hex x 80mm OD x 36.51mm W

Bubbler Auger

1шт.

8

84024216

LOCK PIN,5mm OD x 50mm L, Slotted

1шт.

9

87571176

COLLAR,41.28mm ID x 50.8mm OD x 15mm L

50.8mm OD x 41.28mm ID x 15mm

1шт.

10

120044

CARRIAGE BOLT,M12 x 1.75 x 30mm, Cl 8.8

4шт.

11

84408236

BUBBLE-UP

Bubbler

1шт.

12

86512497

FLANGE NUT,M12 x 1.75, Cl 10

4шт.

13

87656137

BOLT,Flange Hex, M8 x 20mm, Cl 10.9

12шт.

14

86507066

FLANGE NUT,M8 x 1.25, Cl 10

8шт.

15

140016

WASHER,M8 x 16mm OD x 1.6mm Thk

4шт.

16

86629542

NUT,M8 x 1.25, Cl 8.8

4шт.

17

87013865

WASHER,9mm ID x 28mm OD x 1.6mm Thk

4шт.

Выбрано товаров: 17