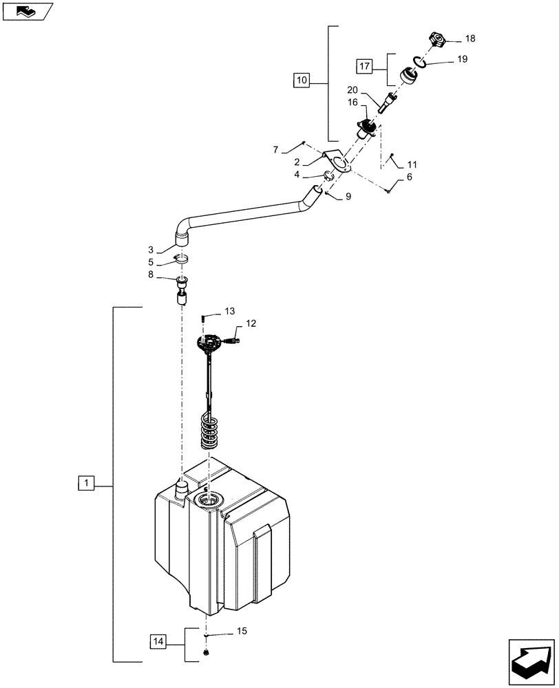
Запчасти Case IH 5130 (10.500.AA) - DEF/ ADBLUE, DEF TANK, DEF/ ADBLUE, FILLER, SENDER UNIT (10) - ENGINE

Схема запчастей Case IH 5130 - (10.500.AA) - DEF/ ADBLUE, DEF TANK, DEF/ ADBLUE, FILLER, SENDER UNIT (10) - ENGINE
16
12
10
18
8
2
7
19
14
11
3
4
15
6
5
13
home
17
1
9
20
FIT
1:1
100%

Артикул

Название

Примечание

Количество

1

84151000

TANK

Incl 14 - 15

1шт.

2

47565572

BRACKET

Filler Neck Mount

1шт.

3

84262005

HOSE ASSY.

DEF/ADBLUE Tank Filler

1шт.

4

86624194

HOSE CLAMP,1.81” - 2.75”, Worm Gear

1шт.

5

86633353

HOSE CLAMP,70mm - 92mm

1шт.

6

87656137

BOLT,Flange Hex, M8 x 20mm, Cl 10.9

2шт.

7

86507066

FLANGE NUT,M8 x 1.25, Cl 10

2шт.

8

84248007

NOZZLE

DEF/ADBLUE Tank Filler

1шт.

9

86050300

FLANGE NUT,M6 x 1.0, Cl 10

3шт.

10

47665048

FILTER, DEF

Incl 16 - 20

1шт.

11

87675531

FLANGE BOLT,M6 x 26.6mm, Cl 10.9

3шт.

12

47512674

SENSOR

DEF/ADBLUE Level

1шт.

13

84208502

PLUG,10mm OD x 42.4mm L

Red Plastic

1шт.

14

84234574

PLUG,Hex, M18 x 1.5

M18, Incl 15

1шт.

15

86598101

O-RING,2.2mm Thk x 15.3mm ID, Cl 6, 90 Duro

1шт.

16

47381867

ADAPTER

Filler Neck Holder

1шт.

17

84236736

NECK FILLER

Incl 19

1шт.

18

84206552

FILLER CAP,Male

DEF/ADBLUE Tank

1шт.

19

84284801

O-RING,3.53mm Thk x 75mm ID

81.5 OD x 75.8 ID

1шт.

20

84363730

FILTER STRAINER

DEF/ADBLUE Filler

1шт.

Выбрано товаров: 20