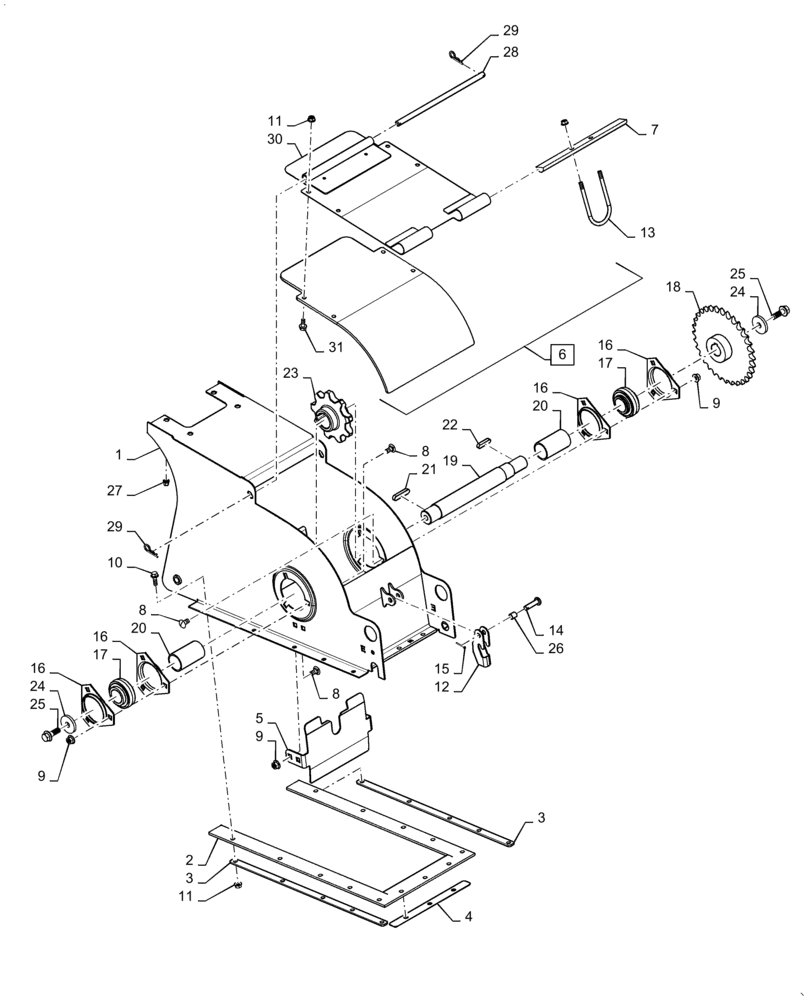
Запчасти Case IH 5140 (80.101.AR[01]) - VAR - 722630, 722632 - GRAIN ELEVATOR HEAD HOUSING (80) - CROP STORAGE/UNLOADING

Схема запчастей Case IH 5140 - (80.101.AR[01]) - VAR - 722630, 722632 - GRAIN ELEVATOR HEAD HOUSING (80) - CROP STORAGE/UNLOADING
1
9
29
10
3
26
4
15
21
22
12
8
9
19
13
20
16
6
17
14
25
16
25
16
17
23
8
28
31
2
27
11
11
16
24
18
24
8
20
29
30
3
9
7
5
FIT
1:1
100%

Артикул

Название

Примечание

Количество

1

47792189

HOUSING

Elevator Head, Standard Wear, VAR - 722630

1шт.

1

47792701

HOUSING

Elevator Head, Extended Wear, VAR - 722632

1шт.

2

47762952

SEAL

Rubber, Elevator Head

1шт.

3

47631983

PLATE

Mounting

2шт.

4

47631985

PLATE

Rear, Mounting

1шт.

5

47631957

DIVIDER

Elevator Head

1шт.

6

47792182

DOOR

Elevator Head, Incl 11, 30, 31

1шт.

7

47787567

BAR

Door Linkage

1шт.

8

87682390

CARRIAGE BOLT,M10 x 1.5 x 20mm, Cl 10.9

10шт.

9

87547587

LOCK NUT,Hex, M10 x 1.5, Cl 10

10шт.

10

87698833

BOLT,M8 x 33.1mm, Cl 10.9

13шт.

11

87681210

FLANGE NUT,M8 x 1.25, Cl 10

19шт.

12

86581559

HANDLE

Door

1шт.

13

47766376

U-BOLT

Elevator Boot Door

1шт.

14

9507095

CLEVIS PIN,10mm OD x 40mm L

1шт.

15

280251

COTTER PIN,3/32" OD x 1" OAL

1шт.

16

86620026

FLANGED BEARING

Shaft

4шт.

17

87605592

BALL BEARING,35mm ID x 72mm OD x 19mm W

2шт.

18

47602208

SPROCKET

Elevator Drive, 32T

1шт.

19

47631958

SHAFT

Elevator Drive

1шт.

20

47631965

SPACER

Elevator Head Shaft

2шт.

21

170056

KEY,12mm W x 50mm OAL

1шт.

22

354775

KEY,10mm x 8mm x 40mm

1шт.

23

87324981

SPROCKET,9T

Auger, 9T

1шт.

24

9838302

WASHER,13.5mm ID x 45mm OD x 6mm Thk

2шт.

25

87695414

BOLT,M12 x 1.25 x 46.8mm, Cl 10.9

2шт.

26

84229682

SPACER

Elevator Head Pivot

1шт.

27

87284531

NUT,Rivnut, M8 x 1.25, 0.5mm - 3mm Grip Range

4шт.

28

84214452

GROOVED PIN

Door Hinge

1шт.

29

216698

COTTER PIN,0.125" OD x 1.75" L

2шт.

30

47792181

DOOR

Elevator Head

1шт.

31

87656137

BOLT,Flange Hex, M8 x 20mm, Cl 10.9

4шт.

Выбрано товаров: 32