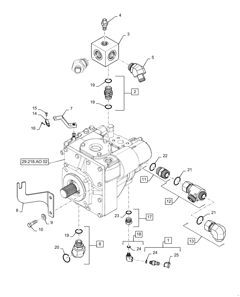
Запчасти Case IH 6140 (29.218.AO[01]) - VAR - 425440, 425441 - HYDROSTATIC PUMP MOUNTING, LOW SPEED (29) - HYDROSTATIC DRIVE

Схема запчастей Case IH 6140 - (29.218.AO[01]) - VAR - 425440, 425441 - HYDROSTATIC PUMP MOUNTING, LOW SPEED (29) - HYDROSTATIC DRIVE
17
4
11
29.218.ao 02
12
21
5
8
25
21
24
3
10
22
9
14
2
7
23
15
19
19
18
19
20
1
24
13
6
16
FIT
1:1
100%

Артикул

Название

Примечание

Количество

1

86502603

COUPLING

Diagnostic, Incl 24, 25

1шт.

2

86517116

HYD CONNECTOR,1-1/16-12 ORB x 1-1/16-12 ORB

Straight Union, Incl 19

1шт.

3

47388263

TEE

Case Drain

1шт.

4

177678A1

TEMPERATURE SWITCH

Temperature, 214°

1шт.

5

87029968

HYD CONNECTOR

45°, Hose Bead

2шт.

6

87302733

HYD CONNECTOR

45°, Incl 19, 20

1шт.

7

47428202

LEVER

Hydrostatic Pump Control

1шт.

8

47830730

BRACKET

Hydrostatic Control Cable

1шт.

9

495-81009

WASHER,.469" x 1" x .120"

2шт.

10

9637916

BOLT,Hex, 7/16" - 14 x 1 1/2", Gr 5

2шт.

11

201-105

HYD CONNECTOR,1-7/16" - 12 Male ORFS x 1-5/16" - 12 Male ORB

Incl 22

1шт.

12

201-418

TEE,1-7/16" - 12 ORFS x 1-7/16" - 12 ORFS x 1-7/16" - 12 ORFS

Incl 21

1шт.

13

201-339

ELBOW,90 Degree Elbow, 1-7/16" - 12 Male ORFS x 1-7/16" - 12 Female ORFS

Incl 21

1шт.

14

213-123

ADJUSTABLE CLEVIS,#10-32 x 1 9/16"

1шт.

15

86596057

CLEVIS PIN,7.92mm OD x 16.78mm L

1шт.

16

280236

COTTER PIN,1/16" x 1/2"

1шт.

17

196443A1

REDUCER

Incl 23

1шт.

18

47576544

UNION

90°, Incl 24

1шт.

19

167266

O-RING,0.116" Thk x 0.924" ID, -912, Cl 6, 90 Duro

3шт.

20

9824050

O-RING,0.07" Thk x 0.926" ID, -21, Cl 6, 90 Duro

1шт.

21

238-6021

O-RING,15/16 X 1 - 1/16, Cl 6

2шт.

22

237-6016

O-RING,0.116" Thk x 1.171" ID, -916, Cl 6, 90 Duro

1шт.

23

237-6010

O-RING,0.097" Thk x 0.755" ID, -910, Cl 6, 90 Duro

1шт.

24

165202

O-RING,0.072" Thk x 0.351" ID, -904, Cl 6, 90 Duro

2шт.

25

86502604

DUST CAP

Diagnostic Coupler

1шт.

Выбрано товаров: 25