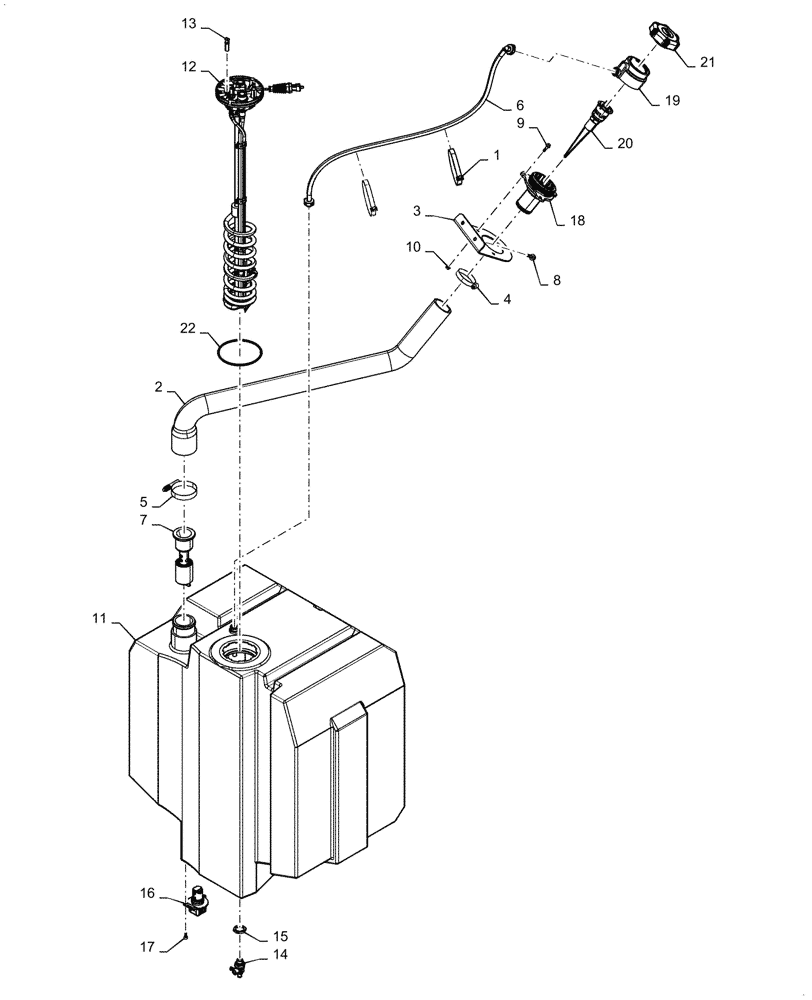
Запчасти Case IH 6140 (10.500.AA) - DEF/ADBLUE™ TANK, FILLER & SENDER UNIT (10) - ENGINE

Схема запчастей Case IH 6140 - (10.500.AA) - DEF/ADBLUE™ TANK, FILLER & SENDER UNIT (10) - ENGINE
7
3
14
10
4
1
12
5
19
20
21
2
18
13
9
16
22
6
8
11
15
17
FIT
1:1
100%

Артикул

Название

Примечание

Количество

1

84266050

CABLE TIE,384mm L, Polyamide

2шт.

2

47371008

HOSE

DEF/Adblue™ Tank

1шт.

3

47772661

BRACKET

Remote Fill Hose

1шт.

4

86624194

HOSE CLAMP,1.81” - 2.75”, Worm Gear

1шт.

5

86633353

HOSE CLAMP,70mm - 92mm

1шт.

6

47969237

HOSE

Vent

1шт.

7

84248007

NOZZLE

Tank Inlet

1шт.

8

87698833

BOLT,M8 x 33.1mm, Cl 10.9

2шт.

9

87675531

FLANGE BOLT,M6 x 26.6mm, Cl 10.9

3шт.

10

86050300

FLANGE NUT,M6 x 1.0, Cl 10

3шт.

11

47371010

EXHAUST FLUID TANK

DEF/Adblue™

1шт.

12

47958301

SENDER UNIT

DEF/Adblue™ Level

1шт.

13

84208502

PLUG,10mm OD x 42.4mm L

Sending Unit

1шт.

14

47914910

DRAINCOCK/TAP SUPPLY

Drain

1шт.

15

47371517

NUT,Hex, 1-1/8"-12

1шт.

16

47520143

SENSOR

Urea Quality, 12V

1шт.

17

47372452

HEX SOC SCREW,M6 x 1.0 x 14mm

3шт.

18

47381867

ADAPTER

Neck Filler Holder

1шт.

19

47772156

NECK FILLER

DEF/Adblue™ Tank

1шт.

20

47657024

FILTER, DEF

Filler, 100 Micron

1шт.

21

84206552

FILLER CAP,Male

1шт.

22

47994697

O-RING

Sender Unit

1шт.

Выбрано товаров: 0