Запчасти Case IH 6140 (66.260.AU[01]) - GEARBOX, ROTOR, MOUNTING PARTS (66) - THRESHING

Схема запчастей Case IH 6140 - (66.260.AU[01]) - GEARBOX, ROTOR, MOUNTING PARTS (66) - THRESHING
19
30
29
26
15
21
3
18
24
27
26
23
8
31
10
28
7
11
16
10
29
12
25
2
9
17
32
66.260.au 02
1
26
14
13
4
26
5
20
6
22
FIT
1:1
100%

Артикул

Название

Примечание

Количество

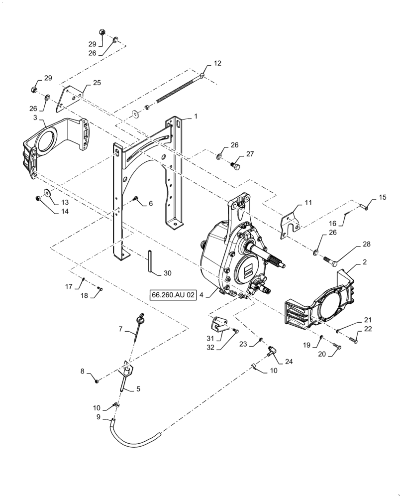
1

84549785

SUPPORT

Rotor Gearbox

1шт.

2

87475753

SUPPORT

Rear

1шт.

3

87406699

SUPPORT

Front

1шт.

4

84171992

GEARBOX

Rotor, 3 Speed

1шт.

5

193946C1

TUBE,12.7 mm OD

Gear Case Oil Gauge

1шт.

6

477-73112

SERRATED SCREW,Sl Truss Hd, 5/16" - 18 x 3/4"

2шт.

7

194066C91

DIPSTICK

Oil

1шт.

8

231-5145

SERRATED NUT,Flg, USR, 5/16"-18

2шт.

9

194043C1

HYDRAULIC HOSE,12.70 mm ID x 483.00 mm

Fill & Drain

1шт.

10

214-1706

HOSE CLAMP,#06, 0.44" - 0.78", Type M Worm

2шт.

11

87406696

BRACKET

Support

1шт.

12

188143C1

EYEBOLT

Gear Case

1шт.

13

495-81030

WASHER,21/32" x 2" x .179"

2шт.

14

425-1010

NUT,5/8"-11, G5

2шт.

15

439-5832

HEADED PIN,12.7mm OD x 50.8mm L

1шт.

16

432-1216

COTTER PIN,3/16" x 1"

1шт.

17

492-11038

LOCK WASHER,3/8"

4шт.

18

413-616

BOLT,Hex, 3/8" - 16 x 1", Gr 5

4шт.

19

492-11050

LOCK WASHER,1/2"

4шт.

20

413-828

BOLT,Hex, 1/2" - 13 x 1-3/4", Gr 5

4шт.

21

896-11012

WASHER,13.5mm ID x 24mm OD x 3mm Thk

2шт.

22

614-12040

BOLT,Hex, M12 x 1.75 x 40mm, Cl 8.8, Full Thd

2шт.

23

237-6008

O-RING,0.087" Thk x 0.644" ID, -908, Cl 6, 90 Duro

1шт.

24

217-348

FITTING,90 Degree Elbow, 1/2" Hose Barb x 3/4" - 16 Male ORB

1шт.

25

87406697

PLATE

Support

1шт.

26

87529307

WASHER,22mm ID x 37mm OD x 4mm Thk

22mm x 37mm x 4mm

6шт.

27

87342019

BOLT,Hex, M20 x 2.5 x 40mm, Class 10.9, Full Thd, DOR

1шт.

28

87024335

BOLT,Hex, M20 x 80mm, Cl 10.9

2шт.

29

87619751

NUT

M20

3шт.

30

1327979C1

MOLDING

Edge Trim

1шт.

31

84327305

BRACKET

Shift Cable

1шт.

32

398792

SCREW,Hex, M12 x 25mm, Cl 10.9

2шт.

Выбрано товаров: 0